Civil #Hydrofoil #Boats - #Soviet-made (#СПК) #Судно на подводных крыльях - #Szárnyashajók a #MAHART-nál: #Meteor/#Sólyom, Vöcsök, Bíbic - #Budapest -#Bratislava - #Wien - #Beograd*#New-York-City #NYC (#Wikipedia)
18+Upload to: 112%-14.03.2021.:++++++:+++:+
above: NoHigher! MAHART's "Meteor" / "Sólyom" - "Falcon" at Danubian shore Pest-side Belgrád-quay - rakpart. Visible the Erzsébet-híd - Elizabeth-bridge. Retro Fashion advert photo from late 1970's with Hu. topmodel, Miss Baranyai Gréti source: facebook/Szedres M./retro fotomodellek
above: MedRes! Meteor-Sólyom on Belgrád-rkp. before International Ship Station . Opposit - Szembe a Gellért-hegy - hill and 'Rudas'-fürdő - bathing source: budapestcity.org
above: HiRes! "Budapest On Air / Skyline Budapest" photoalbum's aerial photo by: AVIATOR Leslie Angel - Angyal Lászó aerial photographer 2017. july 22. CET 20:30: from down: Over Gellért-hill Freedom-statue Beograd-shore from upper the Elizabeth-bridge - Erzsébet-híd
Skyline Budapest: http://szextant.blogspot.hu/2017/07/201-budapest-on-air-aerial-photos.html
You can see one MAHART-Passnave's "Sólyom" at port.
You can see one MAHART-Passnave's "Sólyom" at port.
above: MedRes! Belgrád-rakpart 1975. with one "Sólyom" below: MedRes! Beograd-bank 1985. in Budapest with two "Meteor"/"Sólyom - Falcon"
below: MedRes! Belgrád-rakpart - Beograd-bank 1963. source: www.fortepan.hu
above: MedRes! Elizabeth-bridge - Erzsébet-híd pesti hídfő, Belgrád-rkp. 1972. with two 'Sirály' ('Raketa') hydrofoil - szárnyashajóval and steam vessel - gőzhajó via: forum.index.hu Fortepan-megfejtések
below: NoHigher! My Family's Collect: In Memoriam My Grandfather Marek Dezső -Miskolc- former Flotilla & MAHART riverine shipboard main-engineer whith Me in 1968. between Chain- and Elizabeth bridges at Vigadó-téri hajóállomás - square ship-station
Blogger's remark - megjegyzése: After long time I graduated Budapester XIIIrd distr. only one of country 'Angel-land" named 'Lekai J.' Shipping Technicum's evening-scool (shipping) Instrument one's specialized matriculation degree in 1973. beside my MOM Optische Werke work - Jó idővel az után 1973-ban tettem (hajózási) Műszeripari szakérettségit az országban egyetlen a XIII. ker. 'Angyalföld"-i Jász u.-str. 'Lékai János' Hajózási szakközépiskola - technikumban esti iskola módon a MOM munkám mellett.

above: Left: MedRes! Hungarian advert for FORTE film -Vác- by Hu. supermodel Miss Marjai Judit
above: MedRes! Belgrad-shore/riverbank at Elizabeth-bridge 1963.- Erzsébet-hídfő a Belgrád rkp-nál
above: MedRes! Waiting for 'Sirály' in a rain Hu. text: Várakozás a Sirályra esőben a Belgrád-rakparton, back: Wartburg 311 and GAZ M21 'Volga' late 1960-as évek második fele source above & below Three: Fortepan.hu below: MedRes! International Landing Stage shore Belgrád-rakpart Nemzetközi Hajóállomás by: nk-ha images
above: NEW+! NoHigher! The new Elizabeth bridge - új Erzsébet híd in after 1964. on Pest side of Budapest source: Fortepan.hu
Shipping disaster between Hableány & Viking on Danube in Budapest 2019. may 29: https://szextant.blogspot.com/2019/06/220-hajokatasztrofa-dunan-2019-may-29.html
below: Left: MedRes! Hu. Text Belgrád-rakpart, a nemzetközi hajóállomás épülete. source: wikipedia/ Fortepan 97417 Right: HiRes! Hu. text: Belgrád-rakpart, Nemzetközi Hajóállomás, actress Tímár Éva színművésznő, háttérben a "Szent István" gőzhajó - steam vessel source: Fortepan 11440

below: HiRes! Vigadó-téri - square Ship Station - Hajóállomás, nowadays - napjainkban
above: NEW! HiRes! Hu. text: "Sirály" szárnyashajók 1976. a Belgrád-rkp-on source: fortepan.hu 139873
above: NEW! HiRes! a View in nowadays - a Kilátás napjainkban source: mellbimbo.eu
below: Hungarian MAHART's Meteors - Sólymok
above: NoHigher! Sólyom before docking/landing at stage - kikötés előtt a stégnél
above: NoHigher! Miss. Baranyai Gréti & Takács Zsuzsi during the Welcome to onBoard of MAHART's - Magyar Hajózási Részvénytársaság 'Meteor' - "Sólyom-I" szárnyashajóján source: facebook/Szedres Mariann former Hu. Supermodel 1970 - 1980's
Blogger's Remark: This pic was the initial spark for this Post. - Ez volt az ihletadó kép ehhez a Bejegyzéshez, -mert sokan csak átsiklanak felette és azt hiszik, hogy valami presszóban ill. éjszakai Bárban van fotózva. About this picture most of People think so that photo created somwhere Night Bar or Presso in Budapest.
MedRes! above: Miss. Takács Zsuzsi Hu. topmodel with original MAHART Stewardess Adertisement photo - Reklámfotó below: Baranyai Gréti
above: MedRes! Hu. text: az Utasellátós régi retró csokis-Rolád-szeletre vár. (nagyon szerettem) - Cocholate by Passenger Supply Service - catering-food service in stations & onboard.
Hu. text: A hordszárnyas hajó (vagy szárnyashajó) olyan hajótípus, amely a hajótest vízvonal alatti részén kialakított hidrodinamikai szárnyprofilok segítségével részlegesen kiemelkedve közlekedik a vízben, nagy sebességgel, jellemzően belsőégésű erőforrással (dízelmotorral) hajtva. A kialakítás célja a víz mint sűrű közeg, hajótestre gyakorolt súrlódási ellenállásának csökkentése. A szárnyashajó hordszárnyrendszerének kialakítása miatt, azon felhajtóerő keletkezik. A dinamikus felhajtóerő a határsebesség elérését követően olyan nagy lesz a hordszárnyon, hogy általa a hajótest kiemelkedik a vízből, és a további sebességnöveléssel már csak a hordszárny által keltett víz-közegellenállást kell a hajtásnak legyőznie, ezáltal a hajó még nagyobb vízfelszíni sebességet képes elérni. A szárnyprofilok hasonló kialakításúak a repülőgépeken alkalmazottakhoz, azonban a sűrűbb közeg sajátos örvényadottságai (kavitáció) miatt a vízi szárnyprofilokat nagyobb igénybevételekre kell méretezni, valamint szintén a nagy víz alatti sebességre kialakított hajócsavarokat kell alkalmazni. A hordszárnyas hajók üzemeltetése csak a hordszárnyon való kiemelkedés során elért magasabb sebességtartományokban célszerű, mert a teljesen vízbe merült (kis menetsebességű) hordszárnyas hajó közegellenállása, szárnyainak köszönhetően, közel kétszerese a hagyományos hajókénak, ami megnöveli a tüzelőanyag-fogyasztást. A hordszárny jellemzően merev kialakítású, de léteznek menet közben manuálisan és önműködően mozgatható változatok is.Angol szakirodalomban hydrofoil-nak nevezik mind az ilyen felszerelésű hajót és magát a többsíkú szárnyrendszert is.
A hordszárnyas hajók jellemzően álló- és folyami, vagy part menti vizeken tudják ezt a hatást előnyösen kihasználni, a tengervizek felszíni hullámzása jelentősen csökkenti ennek hatékonyságát. Az úgynevezett „tengerjáró” hajótestek nagy méretéhez és tömegéhez alkalmazható szárnyrendszerek jelentős teljesítménytöbbletű erőforrásokat igényelnek, nagy sebességüket a nagyobb tengeri hullámok lecsökkentik, illetve a hullámokon való nagy sebességű mozgásuk válik kérdésessé. Ezek a szárnyashajók tengeri üzemeltetésének gazdaságosságát akadályozzák.
A hordszárnyas hajó közegellenállás-csökkentő elveit alkalmazza a SWATH rendszer is (a homlokprofil kis keresztmetszetű), melynél azonban a hajótest katamarán jellegű, jellegéből adódóan tengerjáró. Hasonló elveket alkalmaznak az amerikai haditengerészet Independence osztályánál, amely egy háromtestű (trimarán) hajóosztály, valamint az USA 17 elnevezésű hordszárnyrendszerrel kombinált sport trimaránján is, amely képes a valós szélsebesség 2-2,5-szeresével is haladni.
Hordszárnyas hajókat hadi feladatokra az amerikai haditengerészet is alkalmazott: a USS High Point-ot, a USS Tucumcari-t, a USS Flagstaff-t, valamint a Pegassus osztályt. Szovjet fejlesztésűek voltak a 206-os tervszámú (Sersen osztály), a 206E tervszámú (Mol osztály), a 206M tervszámú (Turja osztály) és a 206MR tervszámú (Matka osztály) szárnyashajók, melyek nagy sebességű (hordszárnyas) torpedónadszádként lettek alkalmazva több szovjetbarát ország haditengerészetében. Az olasz és japán haditengerészetek is üzemeltettek Sparviero osztályú hajóegységeket. A leggyorsabb fegyvertelen hadihajó címet a kanadai királyi haditengerészet, ma már hadrendjéből kivont, HMCS Bras d'Or szárnyashajója tartja: egy 1969-es futáspróbáján elérte a 63 csomós (117 km/h-s) csúcssebességet.
Polgári célra többek között a Boeing gyártott szárnyashajókat (Boeing 929), illetve még napjainkban is a hongkongi TurboJET. A magyar vonatkozású MAHART is üzemeltet szovjet gyártású szárnyashajókat. A Metyeor osztályból (342E) kettőt (Sólyom II és Sólyom III), a Voszhod 2 osztályból (352) hármat (Vöcsök II, Vöcsök III, Vöcsök IV) és a Poleszje osztályból négyet (Bíbic I, Bíbic II, Bíbic III, Bíbic IV). Egy magyar fejlesztésű kísérleti szárnyashajó is készült „Fecske” néven, azonban az 1962–1963 közötti tesztelések során felmerült problémák – magas üzemeltetési költség és a szovjet lobbi – miatt a rendszeresítés és sorozatgyártás elmaradt. Ez a magyar hajó Nadap néven, szárnyak nélkül, a Velencei-tavon közlekedik. ... wikipedia.org/szarnyashajo
a Sólyom (szárnyashajó)
Hu. text: A Sólyom II és Sólyom III a magyar MAHART cég 10 db-os szárnyashajó flottájának a két legnagyobb, 112 férőhelyes, szovjet-orosz gyártmányú, Metyeor (342E) típusú szárnyashajója.A két Sólymot 2010 elején újították fel, szereltek bele LCD monitorokat, továbbá légkondicionálóberendezéseket, korszerűsítették a világító és a szellőző rendszert. A Metyeor típusú hajókat Szovjetunióban/Oroszországban, a Nyizsnyij Novgorod-i Krasznoje Szormovo hajógyárban gyártották 1960–1994 között, 2 db még 2003-ban is épült. A MAHART a Sólyom I-et már 1997-ben kivonta. Az orosz utódállamokon kívül még Kína, Magyarország, Szlovákia, Hollandia és még néhány ország alkalmazza. A magyar meteorok Bécs-Pozsony-Belgrád között közlekednek.
above: NoHigher! below: MedRes! Hungarian Shipping Firma MaHaRt "Sólyom-II" - "Falcon-II" hydrofil boat - szárnyashajó - schiffe tragfluegelboot: S.U. Original "Meteor" the river variant
above: MedRes! Seating layout below: NoHigher! Updated Inner space of MAHART-Passnave "Sólyoms" upper Three: MedRes! Passenger cabins via: mahart-passnave.hu

above: MedRes! MAHART Meteor passenger space source: Origo.hu/NLCafe.hu
above: NoHigher! "Sólyom-I.-II." Naughty Navy Brat Sexy Sailor Costume-Halloween or for Stewardess' suit by: pinterest below: NoHigher! MAHART inner space via: kidsreview.ru
above: NoHigher! MAHART 'Meteor'/"Sólyom" In Wienna port

above: Left: MedRes! Right: MedRes! in Danube-curve
above: MedRes! Rear view during departure at port of Visegrad Photo by: Hu. 2014. Mr. Dunai Hajós Péter
SÓLYOM II. szárnyashajó Dunakeszinél
above: NoHigher! Miss Palvin Barbara Hungarian World Star model ready for rescue in rounded side window - Mentésre készen az oldalsó körablakban
Barbara Palvin (pronounced [ˈbɒrbɒrɒ ˈpɒlvin]; born 8 October 1993) is a Hungarian model, actress and former Victoria's Secret model. She was named as the 2016 Sports Illustrated Swimsuit Issue "Rookie of the Year." She also appeared on Love magazine's 2016 advent video recreating Sharon Stone's iconic Basic Instinct scene. ... https://en.wikipedia.org/wiki/Barbara_Palvin
above: NoHigher! MAHART Meteor / "Sólyom" Hydrofoils
above: NoHigher! Wow! The big stern wave! 'Oscar' Margot Robbie star actress from Hollywood on mini DDG Surf-Desk - Óhh a nagy farhullámok! Instagram of MR photo by: ZENIT-E?
Margot Elise Robbie (/ˈmɑːrɡoʊ ˈrɒbi/ MAR-goh ROB-ee; born 2 July 1990) is an Australian actress and producer. Robbie started her career by appearing in Australian independent films in the late 2000s. She was later cast in the soap opera Neighbours (2008–2011), which earned her two Logie Award nominations. ... https://en.wikipedia.org/wiki/Margot_Robbie
above: MedRes! Right: "Sólyom-II" During Augusztus 20 Celebration of St. Stephen State Founder. Visible to North the Margaret-bridge
above: NoHigher! Fashion photo with Chain-bridge - Széchenyi - Szécsényi Lánchíd
above: MedRes! Top: The Chain bridge from Southren- a Lánchíd Déli irányból. Lower: from North
above: Budapest by night with "Széchenyi" Chain-bridge and Buda-castle below: NoHigher! 1945.
A II. világháború végén a visszavonuló német hadsereg, maga mögött felrobbantotta. Az újjáépített, némileg megszélesített hidat első felavatásának 100. évfordulóján nyitották ismét meg. Legutóbb 1986–1988-ban újították fel. A pilonok boltívein lévő régi Kádár-címereket a Szent Koronával kiegészített Kossuth-címerekre 1996-ban cserélték vissza. A hidat a nyári hónapok hétvégéin és bizonyos ünnepi alkalmakkor lezárják a járműforgalom elől, átadva a gyalogosoknak. ...
En. text: The Széchenyi Chain Bridge (Hungarian: Széchenyi lánchíd, Hungarian pronunciation: [ˈseːt͡ʃeːɲi ˈlaːnt͡shiːd]) is a suspension bridge that spans the River Danube between Buda and Pest, the western and eastern sides of Budapest, the capital of Hungary. Designed by the English engineer William Tierney Clark and built by the Scottish engineer Adam Clark, it was the first permanent bridge across the Danube in Hungary. It was opened in 1849.
It is anchored on the Pest side of the river to Széchenyi (formerly Roosevelt) Square, adjacent to the Gresham Palace and the Hungarian Academy of Sciences, and on the Buda side to Adam Clark Square, near the Zero Kilometre Stone and the lower end of the Castle Hill Funicular, leading to Buda Castle.
The bridge has the name of István Széchenyi, a major supporter of its construction, attached to it, but is most commonly known as the "Chain Bridge". At the time of its construction, it was regarded as one of the modern world's engineering wonders.[citation needed] It has asserted an enormous significance in the country's economic, social and cultural life, much as the Brooklyn Bridge has in New York and United States of America.[citation needed] Its decorations made of cast iron, and its construction, radiating calm dignity and balance, have elevated the Chain Bridge to a high stature in Europe.[citation needed] It became a symbol of advancement, national awakening, and the linkage between East and West. ... https://en.wikipedia.org/wiki/Chain_Bridge_(Budapest)
It is anchored on the Pest side of the river to Széchenyi (formerly Roosevelt) Square, adjacent to the Gresham Palace and the Hungarian Academy of Sciences, and on the Buda side to Adam Clark Square, near the Zero Kilometre Stone and the lower end of the Castle Hill Funicular, leading to Buda Castle.
The bridge has the name of István Széchenyi, a major supporter of its construction, attached to it, but is most commonly known as the "Chain Bridge". At the time of its construction, it was regarded as one of the modern world's engineering wonders.[citation needed] It has asserted an enormous significance in the country's economic, social and cultural life, much as the Brooklyn Bridge has in New York and United States of America.[citation needed] Its decorations made of cast iron, and its construction, radiating calm dignity and balance, have elevated the Chain Bridge to a high stature in Europe.[citation needed] It became a symbol of advancement, national awakening, and the linkage between East and West. ... https://en.wikipedia.org/wiki/Chain_Bridge_(Budapest)
above: MedRes! Opposit aerial view from over Buda-side, occasion of HDF. deputy CoS Lt. Gen. Orosz "Óz" Zoltán altbgy. HM/MH Vkf.h. Farewell Fly with Mil Mi-17 cargo helicopter morning of 08. Friday september 2017. from Szolnok LHSA Helicopter Base. - búcsúrepülése alkalmából. Photo by: HuAF 59th TFW's at LHKE leader Doctor and Aerial Photomaker Dr. Toperczer "Topidoc" István orvos alez. MH. LE. - HuAF légifotós MH 59. Sztgy. D. Hc.Rep.e. Kecskemét LB főorvos source: facebook/Toperczer István - http://topidoc.hu/
above: NoHigher! Meteor
above: MedRes! "Meteor" source: Livejournal.ru
above: HiRes! Falcon - Sólyom
En. text: The falcons and caracaras are around 60 species of diurnal birds of prey that make up the familyFalconidae. The family is divided into two subfamilies, Polyborinae, which includes the caracaras and forest falcons, and Falconinae, the falcons, kestrels and falconets (Microhierax and Spiziapteryx). They differ from the eagles of Accipitridae, in that falcons kill with their beaks instead of their taloned feet. They have a "tooth" on the side of their beak for this purpose.
Ru. text: Соколи́ные (лат. Falconidae) — семейство птиц из отряда соколообразных (Falconiformes). Содержит 11 родов и около 60 видов. К ним относятся и самые маленькие хищные птицы — карликовые соколы, величина которых находится в пределах от 15 до 19 см.

above: NEW! MedRes! Juci'bacsi's dia-slidefilm repro-photo about My greeting card from Virginia-beach 1995., (USA advert) Retro: Water sky couple - Vizisíelő pár "Human Hydrofoil" scan by: szextant


above: NEW! MedRes! Juci'bacsi's dia-slidefilm repro-photo about My greeting card from Virginia-beach 1995., (USA advert) Retro: Water sky couple - Vizisíelő pár "Human Hydrofoil" scan by: szextant
above: MedRes! 'Sólyom' wakeboard toward Chain-bridge from North occasion of RedBull Air Race source: femcafe.hu below: NoHigher! Wave-ski before Parlament by: Samo Vidic image

above Two & below Three: MedRes! Hungarian FINA Water World Champion Competition at Budapest. 2017. august. Huge-Tower Jump at Buda-side Battyhányi-tér - square from 20 m height opposit Parlament. - Vizes VB Óriás-toronyugrás az Országházzal szemben 20 m magasságról. source: PPS

Hu. text: Óriás-toronyugrás
Óriás-toronyugrásban a férfiak 27, a nők pedig 20 méterről vetik magukat a mélybe, a FINA a vb-indulás előfeltételeként az idén betöltött 18. életévet jelölte meg. A szabadesés időtartama legalább három másodperc, s a versenyzőknek lábbal kell a vízbe érniük a sérülésveszély miatt. A zuhanás során az ugrók 96 kilométer/órás sebességre is felgyorsulhatnak, így a 6 m mély vízben mentőbúvárok várják őket felkészülve arra az esetre, ha elrontanák a vízbe érkezést.
below: NEW! MedRes! Zoomed Google Earth pics. MAHART's Hydrofoils: Meteor/Sólyom & Lastochka - Vöcsök & one Poleshe - Bibic port of before Battyhány-tér-squre
Hajókatasztrófa a Dunán 2019. may 29. LT 21:00 Boat Disaster: "Viking Sigyn" River Cruise Longship & "Hableány - Mermaid" проекта 544 «Москвич» deadly crash in Budapest, Danube-river, under Margaret-bridge:
above: MedRes! Danube in Downtown, digital Navigation map - Hajózási térkép by: National Traffic Authority - NKH - Nemzeti Közlekedési Hatóság docplayer.hu
above: MedRes! Budapester Public Traffic Firma - BKV - Budapesti Közlekedési Vállalat: Ship station - Hajóállomás at Maria Jaszai-square - Jászai Mari téri hajóállomás at Pest side margaretz-bridgehehead - pesti oldal Margít-híd hídfőnél
above: NoHigher! Sólyom from Margaret-bridge on the August 20th water & Air Parade - Vízi és Légiparádén
above: NoHigher! Meteor on dock via: Totalcar.hu
above: NEW! HiRes! Model walks on the Freedom-bridge source: facebook/mellbimbo.eu
above: HiRes! "Skyline Budapest" by aerial photographer - légifotós: Angyal László - Leslie Angel: Gellért-hill with "Freedom" momument and Freedom-bridge - Szabadság-híd and other side the Beograd-shore with one "Meteor - Sólyom" station source: facebook/László Angyal

above: MedRes! Hu. text: Belgrád-rakpart Szczuka Levente 3D diplomaterve via: epiteszforum.hu
above: NEW! HiRes! "Meteor" hydrofoil Budapest, running south on the Danube after the 'Elizabeth' Bridge, opposite the "Rudas" bath and 'Gellért'-hill at the 'Belgrade' river embankment in Hungary, 1977. Magyarország, Budapest, a Dunán déli irányba száguld az 'Erzsébet'-híd után a "Rudas" fürdővel és a 'Gellért'-heggyel átellenben a 'Belgrád'-rakpartnál. Donor: Mr. Szánthó Zoltán source: fortepan.hu 151252
above: HiRes! Budapest (Cropped!) map consist of Belgrád-rkp - shore
above: HiRes! Aerial Photogrammetry from North in 1988. source: pangea.hu/FömI
above: HiRes! Budapest topography map from unitef.map source: OK.ingatlan.hu (OOS)
above: NoHighger! 'Sturmanskie' "Strela" pilot watch
above: NoHigher! Soviet design plan of Strela - Arrow - Nyíl below: MedRes! Left: Sztrela Right: Vessel & Meteor & Strela in port of ...?
above: NoHigher! Vintage CCCP stop-watch: Soviet made 'Polet' - "СТРЕЛА - Стрела - Strela - Sztrela / Arrow - Nyíl" Chronograph with 'Luminova' light indexs (I had got it)
above: HiRes! Hungarian star actress; Gregor Bernadett in "Paris" wollen - pamut pólóban
Hu. text (and only Russian): Gregor Bernadett (Szeged, 1972. május 1. –) magyar színésznő, popénekes, Gregor Józsefoperaénekes lánya. Az Új Színház tagja. Férje Szarvas Attila. 1972-ben Szegeden született Gregor József Kossuth-díjas operaénekes és Belle Erzsébet tanárnő lányaként.
1995-ben végzett a Színház- és Filmművészeti Főiskolán Horvai István és Kapás Dezsőosztályában. 1996-tól a Nemzeti Színház, 2000-től a Pesti Magyar Színház tagja, 2012-ben az Új Színházhoz szerződött. Szerepelt Varga Ferenc Fuss című dalának videoklipjében, és 2008-tól a Tornádó nevű együttes egyetlen női tagja. ... https://hu.wikipedia.org/wiki/Gregor_Bernadett
1995-ben végzett a Színház- és Filmművészeti Főiskolán Horvai István és Kapás Dezsőosztályában. 1996-tól a Nemzeti Színház, 2000-től a Pesti Magyar Színház tagja, 2012-ben az Új Színházhoz szerződött. Szerepelt Varga Ferenc Fuss című dalának videoklipjében, és 2008-tól a Tornádó nevű együttes egyetlen női tagja. ... https://hu.wikipedia.org/wiki/Gregor_Bernadett
above: MedRes! "Cleaner Manager of the directorate building - Takarítónő az igazgatósági épületben"
MaHaRt. Székház: above: MedRes! photo: MTI; Jászai Csaba source: Index.hu below: NoHigher! MAHART PassNave - Magyar Hajózási Résztvénytársaság - Hungarian Shipping Public Limited Company (PLC.) / Corporation HQ building on the river bank close to Elizabeth-bridge.
Hu. text: (Only!): A MAHART PassNave, korábban MAHART, vagyis Magyar Hajózási RészvénytársaságMagyarországon működő személyi hajózási cég. Bár legtöbb hajóját a Dunán üzemelteti, néhány a Tiszán is található. A cég szárnyashajói Budapesttől közlekednek Bécsig. Jelenleg több városba, köztük Esztergomba és Visegrádra üzemeltet még szárnyashajó járatokat. Fő állomása a budapesti Vigadó tér. A cég rendezvény hajókat is indít esténként, amelyek akár ki is bérelhetők (pl. esküvőre). A 20 hajójával és 9 szárnyashajójával eddig évente közel 500 000 utast szállított. Nyáron, a főszezonban sűrítik a járatokat a Dunakanyar felé, hisz ez a táj sok kiránduló csoportot vonz a fővárosból. Aki viszont Budapestet akarja látni, az igénybe veheti a MAHART Passnave sétahajós útjait.
1994. január 1-jén alakult meg a MAHART PassNave Személyhajózási Kft.
Első nemzetközi szárnyashajó útja 1963-ban indult Bécsbe. A Visegrádot és Pozsonyt is érintő út májustól októberig naponta közlekedik. A 2008-ban lezárult privatizációt követve a társaság 84%-ának tulajdonosa a kb. 60 éves MASPED (Első Magyar Szállítmányozási Zrt.). A konvencionálisan (nem konténerben) szállítható áruféleségek folyami-tengeri szállítmányozását a MASPED cégcsoporton belül 2009februárjától a Mahart Passnave Kft. végzi
Története:
Első nemzetközi szárnyashajó útja 1963-ban indult Bécsbe. A Visegrádot és Pozsonyt is érintő út májustól októberig naponta közlekedik. A 2008-ban lezárult privatizációt követve a társaság 84%-ának tulajdonosa a kb. 60 éves MASPED (Első Magyar Szállítmányozási Zrt.). A konvencionálisan (nem konténerben) szállítható áruféleségek folyami-tengeri szállítmányozását a MASPED cégcsoporton belül 2009februárjától a Mahart Passnave Kft. végzi.1994. január 1-jén alakult meg a MAHART PassNave Személyhajózási Kft.
Járatai:
Budapest, Vigadó tér–Esztergom–Budapest, Vigadó tér
Budapest, Vigadó tér–Visegrád–Budapest, Vigadó tér
Budapest, Vigadó tér–Szentendre–Budapest, Vigadó tér
Budapest, Nemzetközi Hajóállomás–Pozsony-Bécs–Budapest, Nemzetközi Hajóállomás
Jelenlegi szárnyashajóhajóparkja:
Metyeor típusú szárnyashajó: Sólyom I (1971−1997), Sólyom II (1988), Sólyom III (2003)
Voszhod−2 típusú szárnyashajó: Vöcsök I (1977−2003), Vöcsök II (1985), Vöcsök III (1986), Vöcsök IV (1987)
Poleszje (17091) típusú szárnyashajó: Bíbic I (1992), Bíbic II (1993), Bíbic III (1993), Bíbic IV (1993)
Lasztocska típusú szárnyashajó: Quicksilver (2006-)
Első nemzetközi szárnyashajó útja 1963-ban indult Bécsbe. A Visegrádot és Pozsonyt is érintő út májustól októberig naponta közlekedik. A 2008-ban lezárult privatizációt követve a társaság 84%-ának tulajdonosa a kb. 60 éves MASPED (Első Magyar Szállítmányozási Zrt.). A konvencionálisan (nem konténerben) szállítható áruféleségek folyami-tengeri szállítmányozását a MASPED cégcsoporton belül 2009februárjától a Mahart Passnave Kft. végzi
above: NEW! NoHigher! MAHART Passnave's "Vöcsök - Grebe" - VOSHOD-2 type -Project 03521- Medium-sized river ang river-sea going hydrofoil

above & below: NoHigher! Hu. text: Control of MAHART RT. diagrams from 1970's
above: HiRes! "a Desired Director" Hot Babe Pin-Up - "az elképzelt Igazgató" via: Wallpapershoot
Hu. text: A MAHART PassNave, korábban MAHART, vagyis Magyar Hajózási RészvénytársaságMagyarországon működő személyi hajózási cég. Bár legtöbb hajóját a Dunán üzemelteti, néhány a Tiszán is található. A cég szárnyashajói Budapesttől közlekednek Bécsig. Jelenleg több városba, köztük Esztergomba és Visegrádra üzemeltet még szárnyashajó járatokat. Fő állomása a budapesti Vigadó tér. A cég rendezvény hajókat is indít esténként, amelyek akár ki is bérelhetők (pl. esküvőre). A 20 hajójával és 9 szárnyashajójával eddig évente közel 500 000 utast szállított. Nyáron, a főszezonban sűrítik a járatokat a Dunakanyar felé, hisz ez a táj sok kiránduló csoportot vonz a fővárosból. Aki viszont Budapestet akarja látni, az igénybe veheti a MAHART Passnave sétahajós útjait. Története:
Első nemzetközi szárnyashajó útja 1963-ban indult Bécsbe. A Visegrádot és Pozsonyt is érintő út májustól októberig naponta közlekedik. A 2008-ban lezárult privatizációt követve a társaság 84%-ának tulajdonosa a kb. 60 éves MASPED (Első Magyar Szállítmányozási Zrt.). A konvencionálisan (nem konténerben) szállítható áruféleségek folyami-tengeri szállítmányozását a MASPED cégcsoporton belül 2009februárjától a Mahart Passnave Kft. végzi.1994. január 1-jén alakult meg a MAHART PassNave Személyhajózási Kft.
Járatai:
Budapest, Vigadó tér–Esztergom–Budapest, Vigadó tér
Budapest, Vigadó tér–Visegrád–Budapest, Vigadó tér
Budapest, Vigadó tér–Szentendre–Budapest, Vigadó tér
Budapest, Nemzetközi Hajóállomás–Pozsony-Bécs–Budapest, Nemzetközi Hajóállomás
Jelenlegi szárnyashajóhajóparkja:
Metyeor típusú szárnyashajó: Sólyom I (1971−1997), Sólyom II (1988), Sólyom III (2003)
Voszhod−2 típusú szárnyashajó: Vöcsök I (1977−2003), Vöcsök II (1985), Vöcsök III (1986), Vöcsök IV (1987)
Poleszje (17091) típusú szárnyashajó: Bíbic I (1992), Bíbic II (1993), Bíbic III (1993), Bíbic IV (1993)
Lasztocska típusú szárnyashajó: Quicksilver (2006-)
above: NoHigher! "Doorman of MAHART HQ building - Az épület portása"
Fr. text: Mahart (sigle de : Magyar Hajózási Részvénytársaság) est une compagnie de bateau-omnibus et de transport fluvial effectuant des liaisons entre Budapest et plusieurs villes sur le Danube, jusqu'à Bratislava et Vienne.
above: NoHigher! Hungarian World famous star-model in Captain Boss pose: Eniko Mihalik follows up a smoldering Vogue-Italia photo by: Bergdorf Goodman
En. text: Enikő Mihalik (Hungarian pronunciation: [ˈɛnikøː ˈmihɒlik]; born 11 May 1987) is a Hungarian modelwho rose to prominence after placing 4th in the Elite Model Look 2002 and is known for her work with Dutch photography team Inez van Lamsweerde and Vinoodh Matadin. Enikő was born in Békéscsaba, Hungary, the capital of the Hungarian Békés County. When she was young, her classmates often teased her about her thin physique, some claiming it was caused by illness. She was discovered by a Valve scout in a shopping mall when she was 15 years old. In 2002, she entered into the Hungarian Elite Modder and won.With her win, she moved on to the international level of the competition, held in Tunis, Tunisia. She placed 4th, losing to Ana Mihajlovic of Yugoslavia. Her career started on the runway. She debuted at the Chanel haute couture show JUL 2006. She walked for only a few designers each season thereafter, but in the S/S 09 shows, she got her big break. She walked for over 50 designers internationally, including Shiatzy Chen, Givenchy, Blumarine, Moschino, Diane von Furstenberg, and Versace. Mihalik was one of the fresh faces to land in one of the fourteen covers of V magazine fall 2008 issue; the other fresh faces were Anna Selezneva, and Abbey Lee Kershaw. Each cover boasts a head shot of a famous model, either from the new crop of leading models (Agyness Deyn, Lara Stone, Natasha Poly, Anja Rubik, Daria Werbowy etc.) or the supermodel era (Christy Turlington, Naomi Campbell, Eva Herzigova), it was lensed by duo Inez van Lamsweerde and Vinoodh Matadin. ... https://en.wikipedia.org/wiki/Enik%C5%91_Mihalik
Hu. text: Mihalik Enikő 1987. május 11-én látta meg a napvilágot Békéscsabán, Magyarországon. Magyar modell. Már fiatal korában is nagyszerű alakkal rendelkezett, mégsem tervezte, hogy egy nap modell lesz belőle. Tizenöt éves korában, bevásárlás közben fedezték fel, majd a 2002-es Elite Model Look-versenyt meg is nyerte, a nemzetközi megmérettetésen viszont csak a negyedik helyig jutott. Azonban ez is elég volt ahhoz, hogy a Visage Management leszerződtesse. ...
https://starity.hu/sztarok/mihalik-eniko/eletrajz/
above: NoHigher! Passenger quantinity numbers of Hydrofoils of MAHART-passnave - 2010. Szárnyashajó utaslétszámok dia via: mahart.passnave.hu
above: NoHigher! The big flood of Danube at Budapest - Hu. text: Budapesti Wesselényi-féle 1838-as Dunai nagy árvíz térképe
above & below: NoHigher! Danube's water level forecast and statue.
above: MedRes! 1935. Hydrography of the Pannonian basin before river regulation - A Kárpátmedence vízborította és árvízjárta területei az ármentesítő és lecsapoló munkálatok megkezdése előtt.
above: HiRes! Relief map of Hungary Carpathian basin - Kárpátmedence Magyarország domborzati és vízrajzi térképe
above: MedRes! Hu. text: Water levels on Danube - Vízállások a Dunán 2013.
above: MedRes! Ratio: Shoreline length/delta width
above: HiRes! Original "Red-Star" - "Krasnaya Zvezda" 'Meteor' - "Vöröscsillagos"
above: NoHigher! Greek fleet's Meteor G20 - Görög flottáé
above: NoHigher! Meteor is the most popular and ecoomical river-going hydrofoil ferry. Full-load displacement 54.3 tons, speed 35 knots, passengers 124, range 600 km.

above: Left & below: MedRes! via: Livejournal.ru Right: MedRes! MAHART Meteors on the Shipgraveyard - a Hajótemetőben
above: MedRes! below: NEW! NoHigher! (Crop!) Ship graveyard in Russia source: ratmirbase.livejournal.com/facebook.com
above: NoHigher! MAHART-Passnave: Meteor & Bíbic via: panoramio.com
above: NoHigher! Danube-river in Central Europe
above: MedRes! Danube river start and end
above: HiRes! Relief map of Europe (Crop) - Domborzati és Vízrajzi térkép via: RB-DeskKart
above & below: MedRes! Black-sea - Fekete-tenger NGA Nautical chart
above: HiRes! Black-sea the Danube spills into the Black-sea (Cropped) satellite photo

above & below: MedRes! Right: MedRes!: Juci'bacsi's photo collection 'ZENIT-E on 24 x 36 DDR made ORWO slide/diafilm from 1977. augst in Bulgaria, "Meteor" at Varna & Burgas ?? port
above: NoHigher! Hollywood actress & Playboy's Bunnie mate: Erika Eleniak in movie "Under Siege"
Erika Eleniak (born September 29, 1969) is an American actress, Playboy Playmate, and former model best known for her role in Baywatch as Shauni McClain. Her film debut was a small part in E.T.: The Extra-Terrestrial (1982). She later starred in the films The Blob, Under Siege and The Beverly Hillbillies. ... https://en.wikipedia.org/wiki/Erika_Eleniak
above: HiRes! Greek 'Kometa' in dockyard - Görög dokkban 1.) source: RC-modell-forum
above: MedRes! Below preparing technology. "come on up" by: Czaba Baineann
above: MedRes! Below preparing technology. "come on up" by: Czaba Baineann
above: NoHigher! Алексеева, Т.
Р. От замысла — к воплощению: эскизы, рисунки, чертежи Ростислава
Алексеева / Т. Р. Алексеева, О. И. Наумова. — Нижний Новгород: Кварц,
2015.
above: HiRes! Rostislav Evgenevich Alekseev
above: MedRes! Meteor basic design via: proof-pro.livejournal.com
above: MedRes! Hydro Under-Wing types - Vízalatti Hordszárny típusok below: NoHigher! Meteor
above: NoHigher! Alekseev & Sputnik by: Livejournal.ru

above: NoHigher! Alekseev & Mjasischev strategic jet-bomber designer & head of bureau OKB
Aircreaft's Astronavigation bubble domes, Mjasichev M4 Molot, 3M: http://szextant.blogspot.hu/2017/04/196-sextants-octants-for-celestial.html

above: Left: MedRes! Alekseev is thinking with slide rule Right: MedRes! Bureu mates

above: NoHigher! Hollywood star ikon, Clint Eastwood. Similarity? (convert Grey)
Clinton Eastwood Jr. (born May 31, 1930) is an American actor, filmmaker, musician, and political figure. After achieving success in the Western TV series Rawhide, he rose to international fame with his role as the Man with No Name in Sergio Leone's Dollars Trilogy of Spaghetti Westernsduring the 1960s, and as antihero cop Harry Callahan in the five Dirty Harry films throughout the 1970s and 1980s. These roles, among others, have made Eastwood an enduring cultural icon of masculinity. ...
above: NoHigher! Effect of Alekseeva Glavnhij Constructeaur - Lead Designer - Vezető Tervező
En. text: Rostislav Evgenievich Alexeyev (Russian: Ростисла́в Евге́ньевич Алексе́ев; born December 18, 1916 in Novozybkov, Chernigov Governorate (now Bryansk Oblast), Russian Empire; died February 9, 1980 in Gorky (now Nizhny Novgorod), USSR) was a designer of highspeed shipbuilding who invented and designed the world's first ekranoplan vehicles. His work has been compared to that of A.N. Tupolev in aviationand S.P. Korolev in space flight.Alexeyev was responsible for putting into practice high speed ships on the so-called low submerged underwater wings, the most popular ones being passenger ships Raketa, Volga, Meteor, Kometa, and Burevestnik, with passenger capacity up to 150 persons and cruising speed up to 100 km/h (62 mph; 54 kn). ... https://en.wikipedia.org/wiki/Rostislav_Alexeyev
Лауреат Ленинской (1962), Сталинской премии второй степени (1951) и Государственной

above: MedRes! & below: MedRes! "Meteor" prototype
above: MedRes! Smiley by Marketa Belonoha czech World famous photomodel: "Before accident with Meteor" photo by: Luvart
Cz. Cestina text: Markéta Bělonohá (*25. března 1982 v Táboře) je jedna z nejúspěšnějších českých fotomodelek. Fotila pro mnoho webových serverů (MetArt) a periodik (Playboy). Markéta dnes žije v Hradci Králové, v roce 2006 promovala na tamní univerzitě (fakulta informatiky a managementu) a získala tak titul inženýr. Je vysoká 170 cm, váží 50 kg. Má zelené oči a blond vlasy. ...
https://cs.wikipedia.org/wiki/Mark%C3%A9ta_B%C4%9Blonoh%C3%A1
above: MedRes! Retro photo: Soviet sailing sailors - Szovjet vitorlázók in 1960's
above: MedRes! Retro photo: Soviet sailing sailors - Szovjet vitorlázók in 1960's
above: NoHigher! Russian Meteor-158 below: NoHigher! After a sail Helmsman - Utána a vitorlás Kormányos
above: MedRes! Serbian (Yugoslav) "Sava"-river model
above & below: HiRes! Meteor -240 Model by: karopka.ru

above: MedRes! Hydrodynamic investigation - vizsgálat with model by: zapl_tepa
Метеор в Ногинске?!
above: NoHigher! "Meteor" colour drawing
below: HiRes! original Soviet "Meteor" & "Kometa" Cyrillic text line drawings and cross sections
above: HiRes! 'Kometa' the 'Meteor's sea variant
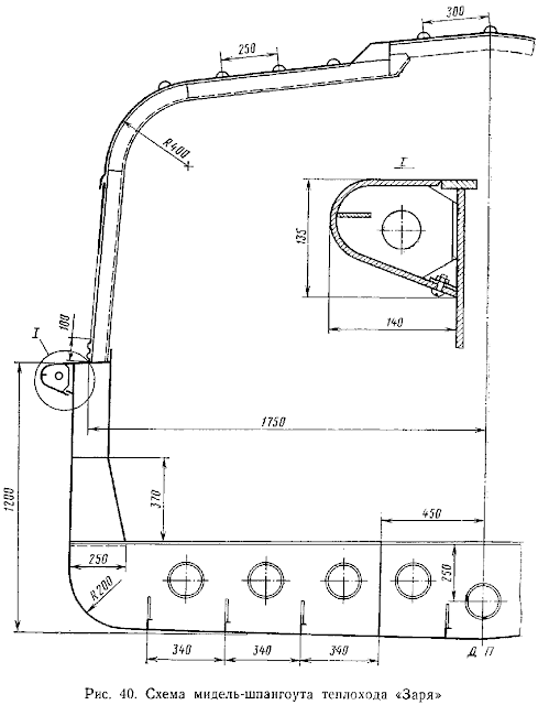
above: MedRes! Kometa's Cross Section draving of fuselage of hull below: NoHigher!
above: HiRes! Hydrographic of hull of Meteor - hajóteste áramlástan via: spkflot.ru

above: MedRes! Meteor-342E 'Zvezda' engine variants
above: NoHigher! двигателей производства завода "Звезда" Дизельные двигатели размерности М401А
above: MedRes! Hydrography of hull lines of meteor
above: HiRes! Meteor outline (Cropped & Restructured due max. Resolution 1600 px.) source: spkflot.ru
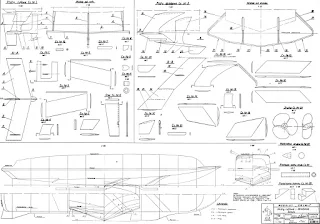
above: HiRes! Hungarian Attach of Modeller magazine from late 1970's- Modellezés below: NoHigher! Cyrillic text drawing
above: NoHigher! Juci'bacsi's collection from "Yearbook of Youth Boys" - "Fiúk Évkönyve" M. F. Publication - Móra Ferenc Könyvkiadó 1961. -Budapest- 32,-Ft. Hu. text Hungarian Cutaway of Meteor also Courtesy FREE!
above: MedRes! Juci'bacsi's photo collection: Two 'Zenit-E' photos on 24x36 Hu. Fortepan film: Leningrad (St. Petersburg) 1978. august below: Meteor before Hermitage "Winter Palace" - Ermitázs "Téli palota" előtt via: from My photo-box
above: MedRes! Juci's ZENIT / FORTE photo from base of 'Kronverk' in 1978.
below: NoHigher! "Meteor" the river version
below: 'Kometa' - Comet the Meteor's Sea version
above & below: NoHigher! Kometa producered: 1964 - 1981
above: NoHigher! Kometa - Comet - Üstökös
above: NoHigher! Erin Gray in Buck Rogers in the 25th Century - a XXV. Évszázadban
above: NoHigher! Erin Gray in Buck Rogers in the 25th Century - a XXV. Évszázadban
Erin Gray (born in Honolulu, Hawaii, January 7, 1950) is an American actress, perhaps best known for her roles as Colonel Wilma Deering in the science fiction television series Buck Rogers in the 25th Century and as Kate Summers-Stratton in the situation comedy Silver Spoons. ... https://en.wikipedia.org/wiki/Erin_Gray
above: NoHigher! "Kometa" the sea variant
above & below Two: HiRes! Soviet "Kometa" sea variant of "Meteor" - Tengeri változat
above: Soviet "Meteor"
above: NoHigher! "Kometa" trina
above: HiRes! Soviet "Kometa" below: NoHigher! Turkish 'Kometa' sea liner

above: MedRes! Watertransport with Kometas by: fleetphoto.ru below: MedRes! SeaBus Express
above: MedRes! Port Inspector: Rachel Hunter in Mermaid pattern bikiniphoto via: www.tux-scans.de.vu no available!
Rachel Hunter (born 8 September 1969) is a New Zealand supermodel , actress and the host of Imagination Television's Rachel Hunter's Tour of Beauty. She has appeared on several magazine covers, including Vogue, Elle, Rolling Stone, Cosmopolitan and Harper's Bazaar. She has been on the cover of the Sports Illustrated Swimsuit Issue twice in 1994 and 2006. ...
above: Left: MedRes! 'Kometa' with Russian flag color paint patter via: www.ppsspace Right: MedRes! Flying "Poseidon" (1982.) and Bodrum Lines 'Kometas' at Rhodes with MV "Costa Fortuna" luxus ocean liner source: Wikipedia
above: NoHigher! "the Port-master Pin-Up girl - a Kikötőmester"
above: MedRes! Chinaian 'Meteor on Yangtze-river - Jangce-folyón
The Yangtze (English: /ˈjæŋtsi/ or /ˈjɑːŋtsi/), which is 6380 km long, is the longest river in Asia and the third-longest in the world. The river is the longest in the world to flow entirely within one country. It drains one-fifth of the land area of the People's Republic of China(PRC) and its river basin is home to one-third of the country's population. The Yangtze is the sixth-largest river by discharge volume in the world.The English name Yangtze derives from the Chinese name "Yángzǐ Jiāng", which actually is the lowest 435 km part between Nanjing and Shanghai. The whole river is known in China as Cháng Jiāng - "Long River"). ... https://en.wikipedia.org/wiki/Yangtze
above: NoHigher! Russian 'Kometa' via: Livejournal.ru
above: MedRes! "Russian Cruisers" Meteor via: proof-pro.livejournal.com
above: HiRes! Waiting Lady on shore for Vessel - Hajóra váró Hölgy a parton source: Pinterest.com
above: HiRes! Russian Liner: Kometa
above: NoHigher! Shematic diagram of Furuno vessel radar via: Furuno.ru
above: NoHigher! French SAGEM Oilspill diagram
Fr. text: La Société d’applications générales d’électricité et de mécanique (SAGEM) était une entreprise française créée en 1925 et dissoute en 2005. Elle travaillait initialement dans la mécanique avec la fabrication d’outillage et de machines-outils. Avec l’évolution de la technologie, l'entreprise se lance dans l’électronique et ses deux produits phares, les téléscripteurs, puis les télécopieurs, et les centrales inertielles lui permettent de devenir une grande entreprise internationale dans les années 1970. Elle développe également des applications militaires et aéronautiques. En 2005, elle fusionne avec Snecma pour donner naissance au groupe Safran. ... https://fr.wikipedia.org/wiki/Sagem
above: NoHigher! 'Kelvin-Hughes' vessel radar
Radar is a vital component for safety at sea and near the shore. Captains need to be able to maneuver their ships within feet in the worst of conditions and to be able to navigate "blind". This means inside a dark room with no visibility they need to safely navigate their way through waters in the worst of weather. Radars are rarely used alone in a marine setting. In commercial ships, they are integrated into a full system of marine instruments including chartplotters, sonar, two-way radio communication devices, and emergency locators (SART).
The integration of these devices is very important as it becomes quite distracting to look at several different screens. Therefore, displays can often overlay charting, radar, sonar into a single system. This gives the captain unprecedented instrumentation to maneuver the ship. With digital backbones, these devices have advanced greatly in the last years. For example, the newer ones have 3D displays that allow you to see above, below and all around the ship, including overlays of satellite imaging.
In port or in harbour, shore-based vessel traffic service radar systems are used to monitor and regulate ship movements in busy waters.
Collision avoidance:
As required by COLREGS, all ships shall maintain a proper radar lookout if it is available on board to obtain early warning of risk of collision. Radar plotting or the ARPA should be used to get the information of movement and the risk of collision (bearing, distance, CPA (closest point of approach), TCPA (time of closest point of approach) of other ships in vicinity.
As required by COLREGS, all ships shall maintain a proper radar lookout if it is available on board to obtain early warning of risk of collision. Radar plotting or the ARPA should be used to get the information of movement and the risk of collision (bearing, distance, CPA (closest point of approach), TCPA (time of closest point of approach) of other ships in vicinity.
Navigation:
Marine radar systems can provide very useful radar navigation information for navigators onboard ships. The ship's position could be fixed by the bearing and distance information of a fixed, reliable target on the radar screen.
Marine radar systems can provide very useful radar navigation information for navigators onboard ships. The ship's position could be fixed by the bearing and distance information of a fixed, reliable target on the radar screen.
Radar controls:
Marine radar has performance adjustment controls for brightness and contrast, also manual or automatic adjustment of gain, tuning, sea clutter and rain clutter suppression, and interference reduction. Other common controls consist of range scale, bearing cursor, fix/variable range marker or bearing/distance cursor. ... https://en.wikipedia.org/wiki/Marine_radar
Furuno was founded in Nagasaki, Japan in 1938 and has subsidiaries in the USA, Europe and China.
Recently the company's GNSS Receiver Modules were used in radio controlled flying quadcopters.






ПАО «ЗВЕЗДА» - ведущий российский производитель высокооборотных судовых дизельных двигателей (500-7400 кВт); судовых реверс-редукторных передач (до 40000 кВт); судовых дизель-генераторов (300-800 кВт); автоматизированных стационарных и контейнерных электростанций аварийно-резервного и основного энергоснабжения (315-1500 кВт).
Сервис: гарантийное обслуживание, запчасти, ремонт, обучение, консультации
Услуги: алюминиевое литье и механообработка, включая особо точную на станках с ЧПУ
Предприятие основано в 1932 году.- Product-related services: warranty maintenance, spare parts, repairs, training, consultations
- Other services: aluminum casting, machining (including high-precision machining), tool production, etc. The company was founded in 1932. ... http://www.setcorp.ru/exb/index.phtml?ID=12&language=english
Marine radar has performance adjustment controls for brightness and contrast, also manual or automatic adjustment of gain, tuning, sea clutter and rain clutter suppression, and interference reduction. Other common controls consist of range scale, bearing cursor, fix/variable range marker or bearing/distance cursor. ... https://en.wikipedia.org/wiki/Marine_radar
above: MedRes! Furuno Radar LCD display
above: NoHigher! FAR product-image: Furuno below: MedRes! chart overlay via: sailmagazine.com
above: NoHigher! Furuno DRS below: NoHigher! via: Furuno.com
Furuno Electric Co., Ltd. (古野電気株式会社 Furuno Denki Kabushiki-gaisha) (commonly known as Furuno) is a Japanese electronics company whose main products are marine electronics, including radar systems, fish finders and navigational instruments. The company also manufactures global positioning systems, medical equipment and meteorological monitoring and analysis systems.Furuno was founded in Nagasaki, Japan in 1938 and has subsidiaries in the USA, Europe and China.
Recently the company's GNSS Receiver Modules were used in radio controlled flying quadcopters.
above: MedRes! Norsk text: Furuno Fiskefartøy Stor Sjark Loosening Rev2 Furuno Norge As:
Large fishing vessel, over 15 m. via: https://www.furuno.no/en-GB/Stor-sjark.aspx
above: NoHigher! Japanese design and USA made ' F U R U N O ' radar antenne via: furuno.com
above: HiRes! Bulgarian Kometa "www.Fastferry.bg" - "Gyorsátkelő/Komp"
above: HiRes ! Port Rescuer Angel as Rescue-ring holder
above: NoHigher! Kometa-11 szárnyashajó source: melamphyrum.hu
above: MedRes! 'Kometa' on Ladoga-ozero - lake - tó close to St. Petersburg
above: NoHigher! Catalina's pilot in Service Bikini suit
above: HiRes! Greek 'Kometa' Hydrofoil near Piraeus island by 'Aigaion' Sea Liner: "Zeus" - "Flying Dolphin
above: NoHigher! Aegean ionian Messina-straights to sea of Marmara, nautical chart HNH-109 - Égei-tenger Messinai-szoros és a Márvány-tenger, tengerészeti térkép
above: NoHigher! Kreta-east crete to Santorini to Kasos-island, nautical-chart HNH-44
above: NoHigher! Moving Photomaker via: Butt wait / tumblr
above: HiRes! Juci'bacsi's old collection from late 1980's 'Szovjet Export' from 'Soviet Export' magazine from 1985. Greek import "Kometa" hydrofoil from S.U.
above: NoHigher! Morning Spectator, Catalina from buildings - Szemlélődő a partmenti házból
Catalina Cruz (born September 14, 1979) is an American pornographic actress. Cruz was raised in Brunswick, Ohio and she is of German and Slovenian descent. Catalina began her career in November 2000 under the pseudonym JennaZ. She has appeared in 4 porn DVD-released films. She does the majority of her scenes for her website and was subsequently named the AVN webstarlet of the year in 2009. .. https://en.wikipedia.org/wiki/Catalina_Cruz
above: NoHigher! Stewardess of Kometa
above: NoHigher! Buffet - BÜFÉ in mid section at Fwd. wall
above: NoHigher! Passenger areas mix by: arina-tour.ru

above & below: MedRes! Mid section door to opening passage to stern below, Left: Fwd. sect.

above: MedRes! Forward section below: MedRes! Peterhof Express' Stewardess
above: MedRes! Cabin layout Paper Model below: NoHigher! 3D: X, Y, Z axis outlines via: onlypaper.ru
"Метеор-342Э"
above & below: NoHigher! Original Meteor photos by: Yaplakal.com
above: MedRes! 'Kometa' Hydrofoils via: www.ppsspace
above: MedRes! Kometas and Kolhida in ?? port
above: NoHigher! Kometas in port below: MedRes! Morckoy - Sea 'Kometa'
above: MedRes! Turkish - Türkiye - Török 'Kometa' "Bodrum Express Lines"
above: NoHigher! 'Kometa' in port: Photo and Article by: Vasil Plugchiev, Garo Kesishyan, Nikolai Genchev, Rosen Donev
above: NoHigher! She is an Crane-Techician - Ő egy Darutechnikus in bronze latex worksuit by: pixielovesyou
above: MedRes! Kometa in Sochi dockyard
above: NoHigher! Soviet female Sailor - Női tengerész
above: NoHigher! 'Kometa' from prospekt
above: NoHigher! Monica: 1376-Glamour BW Bikini below: MedRes! Close detail photo
below: MedRes! Katherine Webb test-captain in dolphin swimming suit
Katherine Elizabeth Webb-McCarron (born April 24, 1989), is an American model, beauty queen, and television personality. She was Miss Alabama USA 2012 and is perhaps best known for her appearance during the broadcast of the 2013 BCS National Championship Game. ... https://en.wikipedia.org/wiki/Katherine_Webb
above: MedRes! Kometa Express in Batumi-port on Eastern-basin of Black-sea at Kavkaz

above: MedRes! 'Meteor' opposit view via: http://rechflot-63.ru-viewtopic.php
above: MedRes! Meteor in Finnsky-zaliv - bay - Finn-öbölben
above: NoHigher! Meteor on lake-Baykal -ozero -tavon in Syberia - Szibéria source: kotottpalya.blog.hu below: Vietnamese Meteor
above & below: NoHigher! Close photo about cockpit orig
above: NoHigher! Helmsman's Dashboard - Kormányos Műszerfal with Gyro-Compass & AChs-1M via: Yaplakal.ru

above: MedRes! GPK-48 gyroscopic compass - Giroszkópikus/Pörgettyűs iránytű

above: MedRes! GPK-48 gyroscopic compass - Giroszkópikus/Pörgettyűs iránytű
above: AChS-1M aviation dashboard clock - fedélzeti műszerfal-óra ACsSz-1M; Left: MedRes! Right: HiRes! Juci'bacsi's Operating clock collect photo: also Courtesy FREE! from Sextant Blogger

above: Left: MedRes! ACsSz-1 Right: MedRes! The caliber of ACsSz-1M
Dashboard Clocks: ACSh-1, Jaeger, Revue, Junghans, ESV-3, Bulova, Sinn, Trintec, M3: http://szextant.blogspot.hu/2014/01/the-last-very-popular-post-from-x.html
above: MedRes! Cockpit via: AVITO .ru
above: MedRes! Russian cockpit via: arina-tour.ru
above: NoHigher! Marine nautical compass below: NoHigher! Compass rose/dial (General)
above: NoHigher! Marine nautical compass below: NoHigher! Compass rose/dial (General)
above: NoHigher! Compass-Rose - Iránytűrózsa
above: NoHigher! Bussol Flush mount compass - Gömbiránytű 'Danforth'

above: MedRes! Left: American Ritchie marine bussol Right: Swedish Bussol 'Silva'-58 boat/automotive - gömbiránytű below: NoHigher! Parts of 'Ritchie' Compass
above: NEW+! NoHigher! made in Soviet Union: Herz gauge - Herz-mérőműszer
above: MedRes! orig cockpit
above: NoHigher! Meteor's Driver-stand via: proof-pro.livejournal.com
above: NoHigher! Meteor Crew via: Yaplakal.com
above: NoHigher! Rear View from mid secvtion at Engine room
С вопросами о разнице в эксплуатации двигателей типа М400 (изготовитель ОАО "Звезда") и MAN мы обратились к капитану судна "Метеор-237" Яковчуку Сергею Иосифовичу, который работает на СПК с 1989 года. ... www.korabel.ru/news/comments/kakoy_dvigatel
above: NoHigher! Meteor engine room - gépház via: Livejournal.ru
Возраст не имеет значения: в Петербурге возрождается производство «русских дизелей»
above: MedRes! Mid: PJSC “ZVEZDA” is the leading Russian manufacturer of high-speed marine diesel engines (500-7400 kW); marine reverse-reduction gearboxes (up to 40000 kW); marine diesel-generators (300-800 kW); automated stationary and containerized generating sets for stand-by, emergency and main power supply (315-1500 kW).
Основные виды деятельности:ПАО «ЗВЕЗДА» - ведущий российский производитель высокооборотных судовых дизельных двигателей (500-7400 кВт); судовых реверс-редукторных передач (до 40000 кВт); судовых дизель-генераторов (300-800 кВт); автоматизированных стационарных и контейнерных электростанций аварийно-резервного и основного энергоснабжения (315-1500 кВт).
Сервис: гарантийное обслуживание, запчасти, ремонт, обучение, консультации
Услуги: алюминиевое литье и механообработка, включая особо точную на станках с ЧПУ
Предприятие основано в 1932 году.- Product-related services: warranty maintenance, spare parts, repairs, training, consultations
- Other services: aluminum casting, machining (including high-precision machining), tool production, etc. The company was founded in 1932. ... http://www.setcorp.ru/exb/index.phtml?ID=12&language=english
Address: 123 Babushkina St., St.-Petersburg, 192012 Russia - Phone: (+7 812) 362-0747
Пресс-релизы компании |
- ПАО «ЗВЕЗДА» примет участие в Международном военно-техническом форуме АРМИЯ-2017
- ПАО «ЗВЕЗДА» примет участие в Международном военно-морском салоне (МВМС- 2017)
- ПАО "ЗВЕЗДА" открыло новый участок редукторного производства
- О ходе создания современных корабельных и судовых двигателей в РФ
- Звезда Международного военно-морского cалона
M567B-1 - Дизель М756Б-1: above: NoHigher! Original photo below: HiRes! Cross sect draw
above: MedRes! 'Zvezda' Diesel Engine type M401A
Nominal power: 736kw/1000HP, RPM: 1600Weight: 2200kg
Fully overhauled, tested with Power test dynamometer.
Category: Engine Tags: Engine M400, Engine M401A, M400-A1, M401, Zvezda engines, Zvezda M401, Zvezda M401A ... http://www.dvrpaslaugos.lt/product/diesel-engine-type-m401a/
Вроде есть проект установки судового турбодизеля MAN D2842LE410 в количестве двух штук на теплоход "Метеор-342Э". Характеристики этих дизелей таковы, что при крейсерском режиме (1600 об/мин) достигается экономия топлива в пределах 50 литров в пересчете на один из дизелей, в сравнении с турбодизелем "Звезда М-401". Стоимость проекта 16 миллионов, которых нет в этой судоходной компании. Но опыт Санкт-Петербужцев довольно интересен... Можно было бы обратиться к губернатору с просьбой рассмотреть проект по переоборудованию теплоходов проекта "Метеор-342Э".
http://forum.motolodka.ru/read.php?f=1&i=1555233&t=1555233
above & below: HiRes! M401 – 12-ти цилиндровый V-образный четырехтактный дизельный двигатель. Автоматизирован по I-й степени автоматизации и оснащен реверсивной муфтой, ...
above: NoHigher! двигателей дизелей 12ЧН 18/20 (М-756, М-753, М-400, М-640) производства ОАО «Звезда», г. Санкт-Петербург
http://depo-lida.by/index.php/nashi-uslugi?layout=edit&id=15

above: MedRes! USSR 'Zvezda'Type M503 42 Cyl radial 4.000 HP engine block, primarily used for battleships source: commons.wikimedia.org
above: MedRes! Mirroring Sunset Liner (Littlebit vertically Crop) via: Livejournal.ru
below: HiRes! Mirroring Wave-Board ' SIPA ' photo by: Uros Podlogar from Slovenica source: http://www.urospodlogar.com/ via: Hungarian Google G+ Collector: Mr. Bányiczki Zoltán Pin-Up Expert
below: 'Meteors' a River version
above: NoHigher! Wet mirror libella
above: NEW! HiRes! Mirror surface of river - Tükörsima folyófelület photo: Dk. Egon Hye "Hyen" source: https://500px.com/hyen below: NoHigher! Waterbalett - Vizibalett

above: HiRes! Tupolev A-3 "Aerosan" it was former at Hu. Border Guard, now Alsónémedi "Roncsrancs" - Tupoljev Siklóhajó a volt BM Határőrségtől Fertő-tó
Vadászatok, Vizimentők támogatása: http://szextant.blogspot.hu/2014/05/80-vadaszatok-es-vizimento-akciok.html

above: MedRes! Soviet 'Volga' hydrofil fast-motorboat Right: In Astrahany-city on Kaspian-sea
above: MedRes! Volga hydrofioil fast motorboat with U.S.A. flag in America; Henry Kissinger as USA's Foreign Affairs Minister - Külügyminiszter with ?? in 1970's
Henry Alfred Kissinger (/ˈkɪsɪndʒər/; born Heinz Alfred Kissinger, German: [haɪnts ˈalfʁɛt ˈkɪsɪŋɐ]; May 27, 1923) is an American diplomat and political scientist who served as the United States Secretary of State and National Security Advisor under the presidential administrations of Richard Nixon and Gerald Ford. Born in Germany, Kissinger was a Jewish refugee who fled the Nazi regime with his family in 1938. He became National Security Advisor in 1969 and later concurrently United States Secretary of State in 1973. For his actions negotiating a ceasefire in Vietnam, Kissinger received the 1973 Nobel Peace Prize under controversial circumstances, with two members of the committee resigning in protest. Kissinger later sought, unsuccessfully, to return the prize after the ceasefire failed. ... https://en.wikipedia.org/wiki/Henry_Kissinger
above: NoHigher! Top Left: Henry Kissinger, S.U. A. Kosygin - Koszigin S.U. Foreign Affairs Minister & communist party first secretary, Leonhid Iliyich Breshnev - Leonyid Ilijics Brezsnyev és & Fidel Castro đ His younger brother Raul Castro as Minister of Defence of Cuba - Kuba in Volga
Alexei Nikolayevich Kosygin (Russian: Алексе́й Никола́евич Косы́гин, tr. Aleksej Nikolajevič Kosygin; IPA: [ɐlʲɪˈksʲej nʲɪkɐˈlajɪvʲɪtɕ kɐˈsɨɡʲɪn]; 21 February [O.S. 8 February] 1904 – 18 December 1980) was a Soviet-Russian statesman during the Cold War. Kosygin was born in the city of Saint Petersburg in 1904 to a Russian working-class family. He was conscripted into the labour army during the Russian Civil War, and after the Red Army's demobilisation in 1921, he worked in Siberia as an industrial manager. Kosygin returned to Leningrad in the early 1930s and worked his way up the Soviet hierarchy. During the Great Patriotic War (World War II), Kosygin was a member of the State Defence Committee and was tasked with moving Soviet industry out of territories soon to be overrun by the German Army. He served as Minister of Finance for a year before becoming Minister of Light Industry and later, the Minister of Light and Food Industry. Stalin removed Kosygin from the Politburo one year before his own death in 1953, intentionally weakening Kosygin's position within the Soviet hierarchy. ... https://en.wikipedia.org/wiki/Alexei_KosyginEn. text: Fidel Alejandro Castro Ruz (American Spanish: [fiˈðel aleˈhandɾo ˈkastɾo ˈrus]; August 13, 1926 – November 25, 2016) was a Cuban revolutionary and politician who governed the Republic of Cuba as Prime Minister from 1959 to 1976 and then as President from 1976 to 2008. Politically a Marxist–Leninist and Cuban nationalist, he also served as the First Secretary of the Communist Party of Cuba from 1961 until 2011. Under his administration, Cuba became a one-party socialist state; industry and business were nationalized, and state socialist reforms were implemented throughout society. ...
Es. text: Fidel Alejandro Castro Ruz (Birán, 13 de agosto de 1926-La Habana, 25 de noviembre de 2016) fue un militar, revolucionario, estadista y político cubano. Fue mandatario de su país como primer ministro (1959-1976) y presidente (1976-2008). También fue Comandante en jefe de las Fuerzas Armadas Revolucionarias (1956-2008) y mantuvo el poder como primer secretario del Partido Comunista de Cuba desde 1965 hasta 2011, cuando definitivamente dejó su puesto como líder de su país y transfirió todos los poderes de la nación como establece la Constitución, al Primer Vicepresidente, su hermano Raúl. Era diputado de la Asamblea Nacional del Poder Popular (desde 1976). Profesionalmente era abogado, doctor en Derecho Civil y licenciado en Derecho Diplomático.
above: NoHigher! While They drinking in the other 'Riva' "Aquarama" Luxury fast motorboat... - Míg Ők isznak addig a másik motorcsónakban ...
It. text: L'Aquarama è un motoscafo prodotto dal costruttore italiano di imbarcazioni da diporto Riva per oltre un trentennio fino al 1996. Il primo modello di Aquarama fu lanciato nel 1962 dall'ingegnere Carlo Riva, che è una evoluzione funzionale del modello Tritone, un altro motoscafo prodotto da Riva. Il Tritone fu il primo bimotore di successo del cantiere, con la famosa poppa Riva che unisce le superfici di murate, coperta e specchio di poppa in un unico volume scultoreo. Per prestazioni, bellezza e cura artigianale con cui era costruito, l'Aquarama è ancor oggi ritenuto un simbolo di esclusività nella nautica e in un sondaggio di una rivista inglese il suo nome è risultato quello della barca più conosciuta al mondo. La fama deriva sia dall'estetica e dal livello di finitura, che dal tipo di costruzione. Una costruzione fatta in serie non per diminuirne i costi ma per poterne controllare la qualità dei componenti, fatti per essere intercambiabili in sede di revisione. ... en.wikipedia.org/Riva_Aquarama

Saint Petersburg is one of the modern cities of Russia, as well as its cultural capital. The Historic Centre of Saint Petersburg and Related Groups of Monuments constitute a UNESCO World Heritage Site. Saint Petersburg is home to The Hermitage, one of the largest art museums in the world. Many foreign consulates, international corporations, banks, and businesses have offices in Saint Petersburg.
above: NoHigher! Strela' fast motorboat - gyorsmotorcsónak by: seatech.ru
above Four below: NoHigher! Maritime Orienting Princip
above: NoHigher! Tritium illuminating demo
DDR made EDF-70 binocular & Tritium luminescens: http://szextant.blogspot.hu/2014/10/139-edf-7x40-german-nva-field-glasses.html
above: NoHigher! 'Vostok (East - Kelet) Europe' U-Boot Anchar Automatik Uhr with Tritium illuminating tubes
above: NoHigher! American topceleb Jessica Alba in yellow swimsuit in Ljepota & Zdravlje Magazine Croatia - June 2019 "She is watches without 'Vostok' yellow watch"
Jessica Marie Alba (/ˈælbə/; born in Pomona, Kalifornien, April 28, 1981) is an American actress and businesswoman. She began her television and movie appearances at age 13 in Camp Nowhere and The Secret World of Alex Mack (1994), but rose to prominence at 19, as the lead actress of the television series Dark Angel (2000–2002), for which she received a Golden Globe nomination.
Her big screen breakthrough came in Honey (2003). She soon established herself as a Hollywood actress, and has starred in numerous box office hits throughout her career, including Fantastic Four (2005), Fantastic Four: Rise of the Silver Surfer (2007), Good Luck Chuck (2007), The Eye (2008), Valentine's Day (2010), Little Fockers (2010), and Mechanic: Resurrection (2016). She is a frequent collaborator of director Robert Rodriguez, having starred in Sin City (2005), Machete (2010), Spy Kids: All the Time in the World (2011), Machete Kills (2013), and Sin City: A Dame to Kill For (2014).
Alba co-founded The Honest Company, a consumer goods company that sells baby, personal and household products. Magazines including Men's Health, Vanity Fair and FHM have included her on their lists of the world's most beautiful women. ... https://en.wikipedia.org/wiki/Jessica_Alba
above: MedRes! Modernised Meteor
above: MedRes! St Sziteh - SeaTech - TengerTechnika: Water-Taxi by: ra-taxi.ru
above: NoHigher! England built New Zealand hydrofil bus-boat
above: NoHigher! Soviet Hydrofoil types
below: Petrograd / Leningrad / Saint Petersburg - Szentpétervár
above: Meteor in Leningrad via: Youtube
138.) St. Petersburg - Leningrad: "Kronverk"; Soviet / Russian Artillery & Pioneer & Communication fortress Museum *Neva Brutal weapons & James Bond 007 agent "Golden Eye" movie: https://szextant.blogspot.com/2014/10/138-st-petersburg-leningrad-kronverk.html

above: MedRes! 'Kometa' on Nheva river in St. Petersburg by: www.trip-guide.ru
above: NoHigher! St. Petersburg, Meteor-510 via: Kopija - Copy
above: NEW! HiRes! Leningrad for that year when the whole world was open it was just a case of hitting famous landmarks and moving as quickly as possible. Monetary-island Petropavloskaya
above: NEW! Left: MedRes! St. Isaac chatedral - Izsák székesegyház Right: HiRes! "Petergirl" on shore of Neva river in St.Ptrsbg. source: www.mellbimbo.eu
above: NEW! NoHigher! Panorama photo of the Neva-river, next to the Peter and Paul fortress in St. Petersburg. Opposit the Vasilyevski-ostrov white building is NAVY Museum source: petersburg.com
above: HiRes! Axonometry map about Leningrad - Akszonometrikus (térbeli) térkép / Bird-Eye tourist map about St. Petersburg - Madártávlati turistatérkép
En. text: Saint Petersburg (Russian: Санкт-Петербу́рг, tr. Sankt-Peterburg; IPA: [ˈsankt pʲɪtʲɪrˈburk] is Russia's second-largest city after Moscow, with five million inhabitants in 2012, and an important Russian port on the Baltic Sea. It is politically incorporated as a federal subject (a federal city). Situated on the Neva River, at the head of the Gulf of Finland on the Baltic Sea, it was founded by Tsar Peter the Great on May 27 [O.S.16] 1703. In 1914, the name was changed from Saint Petersburg to Petrograd(Russian: Петрогра́д; IPA: [pʲɪtrɐˈgrat]), in 1924 to Leningrad (Russian: Ленингра́д; IPA: [lʲɪnʲɪnˈgrat]), and in 1991 back to Saint Petersburg. Between 1713 and 1728 and in 1732–1918, Saint Petersburg was the capital of imperial Russia. In 1918, the central government bodies moved to Moscow.Saint Petersburg is one of the modern cities of Russia, as well as its cultural capital. The Historic Centre of Saint Petersburg and Related Groups of Monuments constitute a UNESCO World Heritage Site. Saint Petersburg is home to The Hermitage, one of the largest art museums in the world. Many foreign consulates, international corporations, banks, and businesses have offices in Saint Petersburg.
Hu. text: Szentpétervár (oroszul: Санкт-Петербург, magyar átírásban: Szankt-Petyerburg) Oroszországbalti-tengeri kikötővárosa a Finn-öböl partján, a Néva-folyó torkolatában. 1703-ban alapították. Korábbi nevei Petrográd (Петроград, 1914–1924), illetve Leningrád (Ленинград, 1924–1991) voltak. A helyiek mai szóhasználatában elterjedt a Pityer (Питер) név is. 5,1 milliós lakosával Moszkva után az ország második legnagyobb városa.
Az egymilliónál több lakossal rendelkező városok közül Szentpétervár található a legészakabbra az egész világon. A városközpontot az UNESCO a világörökség részévé nyilvánította.
Az egymilliónál több lakossal rendelkező városok közül Szentpétervár található a legészakabbra az egész világon. A városközpontot az UNESCO a világörökség részévé nyilvánította.
Ru. text: Санкт-Петербу́рг (с 18 августа 1914 года до 26 января 1924 года — Петрогра́д, с 26 января 1924 года до 6 сентября 1991 года — Ленингра́д) — второй по численности населения город России. Город федерального значения. Административный центр Северо-Западного федерального округа и Ленинградской области. Основан 16 (27) мая 1703 года Петром I. В 1712—1918 годах — столица Российского государства. ...














Главными двигателями являются дизельные двигатели М-517 или М-507, каждый из которых работает на свой валопровод с гребным винтом фиксированного шага. Дизели быстроходные, четырёхтактные, с газотурбинным наддувом, водяного охлаждения, реверсивным устройством и редуктором для снижения оборотов.
Производитель – ПАО «Звезда», 192012, Санкт-Петербург, улица Бабушкина, 123.
У производителя эти дизеля звездообразного типа обозначены в линейке продукции как «Судовые дизельные двигатели и дизель-редукторные агрегаты размерности ЧН16/17».
Дизельные двигатели размерности ЧН16/17 – легкие высокооборотные 42- или 56-цилиндровые четырехтактные дизельные двигатели водяного охлаждения с газотурбинным наддувом, диаметром цилиндра 160 мм, ходом поршня 170 мм. Расположение цилиндров в виде 7-лучевой звезды с углом развала между блоками 51°25’43".
Вот в живую Судовой дизельный двигатель, правда, М504, 56 горшков, мощность 5000 л.с.:


In recent years a large number of different GEV types have been developed for both civilian and military use. However, these craft have yet to enter widespread use. The German Tandem Airfoil Flairboats or Skimmerfoils constructed by Gunther Jörg differ in their use of self-stabilising wings.
Although they may look and have related technical characteristics similar to seaplanes, ground effect vehicles are not aircraft, as they are unable to fly freely in the air. They are also dissimilar from hovercraft or hydrofoils, as they do not have any contact with the surface of the water. Ground effect vehicles constitute a completely unique class of transportation. ... https://en.wikipedia.org/wiki/Ground_effect_vehicle
Description:
above: MedRes! Finnish-bay - Finnszkij-zaliv nautical map from Baltic-sea
above: NEW! MedRes! Balti-meer Nautical Map source: https://hataratkelo.blog.hu/2018/10/04/elet_egy_orosz_halaszhajon
below: NEW! MedRes! Detail Nautical navigation chart/map below: HiRes!
above Two: HiRes! St. Petersburg Nautical map (Lower Cropped!)
above: HiRes! Cyrillic text: Map: Baltic-sea, Kronstadt-island and St. Petersburg (Leningrad)
Mil. Maps GaK - Terrain study, Topography - Tereptan, Jelkulcs, Térképek: http://szextant.blogspot.hu/2017/02/193-csapatjelkulcs-gak-terkepjelek.html
above: HiRes! Map of Leningrad
St. Petersburg - Szent-Pétervár/Leningrád, 'Kronverk' Arty & Comm troops' Museum: http://szextant.blogspot.hu/2014/10/137-st-petrersburg-leningrad-kronverk.html
above: MedRes! Leningrad, Fontanka nautical map/chart
above: NEW! NoHigher! 'Meteor' on the Nheva-river in St. Petersburg (Leningrad)
above: NEW! NoHigher! My Photoaparat: Soviet small film ZENIT-E "Industar" objective: Winter Palace, Admirality & Isaac chatedral - Téli Palota photo by: Juci'bácsi
above: NEW! MedRes! Satellite photo by: Google-Earth
above & below: NoHigher! Neva-river - Nyeva-reka - Néva-folyó nautical map via: VSELP.ru
above: NEW! MedRes! Meteor-142 On Nheva-river
above: HiRes! 'Meteor' On the Nheva-river opposit the "Kalinhin": Hydrofoil high-speed boat docking in St. Petersburg, Russia from a run to 'Peterhof Palace'. source: Wikipedia

above: MedRes! In St. Petersburg: Left: via: life78.info Right: Under bridge via: arina-tour.ru
above: MedRes! Meteor in St. Petersburg
above: NEW! NoHigher! 'Meteor' hydrofoil vessel before "Winter Palace - Зимний дворец"
above: MedRes! It was the ideal experimental sorround: St. Petersburg (Leningrad) Neva-river opposit the Soviet/Russian Military CAOK "Mihalovskaya" (former "Kalinhin") Field-Artillery College & University. - Михайловская военная артиллерийская академия представит свои достижения на «Армии-2018» http://mvaa.mil.ru/more/Novosti/2/

above: MedRes! Mashenka behind the Russian cyrillic writed coloumns - M. az oszlopok mögött via: www.FemJoy.com
above: NEW! NoHigher! VMF's Sukhoi NAVY Su-27 "Flanker" over St.Petersburg source: Reddit.com
135.) Сухой Су-27 истребитель - Sukhoi Su-27 'Flanker' Air Superiority Heavy Fighter - My gift big Drawing & Cutaway: https://szextant.blogspot.com/2014/09/135-27-sukhoi-su-27-flanker-air.html
above: NoHigher! Secretary Lady in building - Titkárnő az épületben source: pinterest
above Two: MedRes! Opener Folding bridge above Neva-river - Felnyíló híd a Nyéva-folyó felett
above: NoHigher! Hungarian World famous Fashion model from 'Victoria's Secret': Miss Palvin Barbara in naval suit
Barbara Palvin (pronounced [ˈbɒrbɒrɒ ˈpɒlvin]; born 8 October 1993) is a Hungarian model, actress and former Victoria's Secret model. She was named as the 2016 Sports Illustrated Swimsuit Issue "Rookie of the Year." She also appeared on Love magazine's 2016 advent video recreating Sharon Stone's iconic Basic Instinct scene. ... https://en.wikipedia.org/wiki/Barbara_Palvin
above: NoHigher! Meteor "Soyuz" on Dnepr-river and "Bikini shape" via: dnepr.info

above & below: HiRes! Green color Russian 'Kometa'
above: MedRes! Green Meteor "Turholdint Karelia" by: Slava zalkin
Karelian-peninsula - Karéliai félsziget under Kola-peninsula HiRes! above: Beloe-more - White-sea - Fehér-tenger - Onheszkiy-zaliv - bay Soviet Nautical chart below: Crop detail
above: NoHigher! Kola & Karelian peninsulas with Murmansk and Arhangelsk cityies
above: NoHigher! Falcon of passage - Vándorsólyom
above & below: NoHigher! Green Meteor - Zöld Meteor
above: MedRes! "Flying Dutchman" - "Repülő Hollandi"
above: HiRes! Waterbalett - Vizibalett
above: MedRes! Statueting Hollander - Laying Dutchman - Fekvő Hollandi
above: NEW! HiRes! Meteor laying on the dry surface - Száraz felületen fekszik. Greek 'Kometa' in dockyard - Görög dokkban 2.) source: RC Modelforum
18+above: NoHigher! While Brodotechnika's Worker is perspiring/labouring in Her work - Miközben a Hajógyári Munkás izzad a munkájában by: www.Demenyuk.com
above: MedRes! Ship graveyard in Perm beside Kama-river - Káma-folyó mellett: Kometas & Voskhods photo: ratmirbase.livejournal.com
above: NEW! NoHigher! (Crop left!) Ship graveyard in Russia - Hajótemető Oroszországban source: facebook.com


above: Left: MedRes! via: Rechflot.ru graveyard - temető Right: MedRes! via: proof-pro.livejournal.com

above: Left: MedRes! 'Meteor' Brodotechnika Shipyard Right: HiRes! Ru. Meteor-218 on the river
above: NoHigher! MAHART "Sólyom" at "Vöröskő vára - "castle of Redstone" Slovakia Pozsony/Bratislava via: TravelPlaza below: NoHigher! Indonesian "Bosman-Express" Meteor
below: The Phoenix-bird as Kometa-120M by Vympel
above: MedRes! Kometa-120M in Vympel factory in Rybinsk by: pikabu/xexe.club/popmch.ru/sdelanounas.ru/ckbsk.ru/www.vympel-rybinsk.ru
Rybinsk (Russian: Рыбинск; IPA: [ˈrɨbʲɪnsk]) is the second largest city of Yaroslavl Oblast, Russia, which lies at the confluence of the Volga and Sheksna Rivers. Population: 200,771 (2010 Census); 222,653 (2002 Census); 251,442 (1989 Census). https://en.wikipedia.org/wiki/Soviet_Census_(1989)

above: MedRes! Vympel: Assembly process
| Shipyard "Vympel" | Rybinsk | 1930 | medium-and low-tonnage sea and river vessels, civil and military boats |
above: NoHigher! Kometa-120M below: HiRes! Vympel assembly
above: NoHigher! American Pin-Up Girl - Tűzd fel Csaj: " She is Works manager from river fleet" - "Ő a Művezető a folyami flottától"
above: NoHigher! Kometa-120M 3D model by: infoflotforum.ru
above: NoHigher! Four View drawing about Project via: Hs-Ships.com

above: MedRes! Kometa-120M cockpit on Exhibition
above: NoHigher! She is a Test-Captain - Ő a Tesztkapitány source: www.Pinterest.com

above: MedRes! 3D graphic model
above & below: MedRes! Kometa-120M 3D graphic model by: sdelanounas.ru
above: MedRes! Rassvet-120R 3D model variant
above: MedRes! panoramio.com below: MedRes! Metor on Dnepr-river via: Proof-Pro.Livejournal.com
above: NoHigher! "Samsung" Meteor-247
above: NoHigher! Welcome Aboard - Üdvözöljük a Fedélzeten Pin-Up Girl source: Pinterest
below: MedRes! Hurry Up!
above: MedRes! "She is a Portmaster - Ő a Kikötőmester" source: www.Pinterest.com

above: Russian Meteors Left: MedRes! via: new.nnov.org Right: MedRes! On the river
above: NEW! HiRes! 'METEOR' Soviet Hydrofoil in 1973. Szovjet Szárnyashajó Oroszország Volga folyó - Russia river Volga Donor: Gwen Jones source: fortepan.hu_46873
above: NoHigher! Meteor via: proof-pro.livejournal.com
above: HiRes! Black-sea nautical chart
Krím-félsziget - Crimea - Krym-peninsula Крим /Ukraine - Украины térkép - map, chart:
above: HiRes! Mouth of Dnypr-river to Black-sea beside Crimea-peninsula: Russian Nautical chart.
above: MedRes! Basic safety rules for boating
above: NoHigher! Meteor in Samarra region source: http://rechflot-63.ru-viewtopic.php
above: NoHigher! Nautical Chart symbols - térképjelek

above: Buoy in the horizont-view range! Left: MedRes! Onboard Right: MedRes! On molo - mólón
above: MedRes! Meteor in sunset cruising source: http://rechflot-63.ru-viewtopic.php
above: NoHigher! Sunset Time photo by: David Dubnicskij from Ukraine, Dnyipropetrovsk
above: NoHigher! Slovakian 'Meteor' Vienna to Bratislava by: tripadvisor
above: MedRes! Urban Meteor via: PPS

above: MedRes! Meteors during shuttle - siklásban
18+above: NoHigher! Catalina attack from sunset source: Pinterest.com
above: NoHigher! Meteor in 1961.
above: MedRes! via by www.ppsspace
above: NoHigher! Jet-Sky similar to Mini-Meteora - Sports Illustrated below: MedRes! Greek
above: MedRes! Meteor on Yenishey-river - Jenyiszej-folyón at Krasnoyarsk - Krasznojarszk
above: NEW! HiRes! The quiet Yenisei River without a hydrofoil in Siberia - A szárnyashajó nélküli csendes Jenyiszej-folyó Szibériában - Тихая река Енисей без подводных крыльев в Сибири
>Tikhaya reka Yenisey bez podvodnykh kryl'yev v Sibiri< source: facebook.com

above: Left: MedRes! Meteor-131 at Jakutsk in Sybir via: images-esosedi.ru Right: MedRes! Meteor via: arina-tour.ru
above: NoHigher! Meteor in sprint via: brigantina-travel.ru
above: NoHigher! Opposit view of Meteor with "Bikini-shape - Bikini-vonallal
above: NoHigher! Boss of enginepool
NoHigher! above & below: 'Zvezda' ('Star - Csillag') M503A was 6 row 42 cylinder diesel-radial from 1970's for Soviet missile & hidrofoil boats, ...
ПСКР «Минск» проекта 1241.2 шифр «Молния-2»Главными двигателями являются дизельные двигатели М-517 или М-507, каждый из которых работает на свой валопровод с гребным винтом фиксированного шага. Дизели быстроходные, четырёхтактные, с газотурбинным наддувом, водяного охлаждения, реверсивным устройством и редуктором для снижения оборотов.
Производитель – ПАО «Звезда», 192012, Санкт-Петербург, улица Бабушкина, 123.
У производителя эти дизеля звездообразного типа обозначены в линейке продукции как «Судовые дизельные двигатели и дизель-редукторные агрегаты размерности ЧН16/17».
Дизельные двигатели размерности ЧН16/17 – легкие высокооборотные 42- или 56-цилиндровые четырехтактные дизельные двигатели водяного охлаждения с газотурбинным наддувом, диаметром цилиндра 160 мм, ходом поршня 170 мм. Расположение цилиндров в виде 7-лучевой звезды с углом развала между блоками 51°25’43".
Вот в живую Судовой дизельный двигатель, правда, М504, 56 горшков, мощность 5000 л.с.:
http://voenspez.ru/index.php?topic=75081.0
http://spbdiesel.ru/galleries/
above: HiRes! 'Zvezda' M520 – 56-cylinder four-stroke radial engine diesel engine. - M520 -56-цилиндровый четырехтактный звездообразный дизельный двигатель.
http://www.shipyard.lv/en/services/engineering/
above: MedRes! Close to St. Petersburg shipyard
above & below Two: NoHigher! Raketa by: forum-rechny.ru & riverfleet.ru
above & below: NoHigher! Propellers - Hajócsavarok: above: Final balancing and polishing of the LCI-propellers by U.S.A. EMD - Electro Motive Division workers during WW-II propellers
above: NoHigher! the three blades screw is turbulencing the water as germany World-star-model Gisele Bündchen - a 3 lapátos hajócsavarja ilyen jól kavarja a vizet mint a német sztármodell Bündhén Gizella
Gisele Caroline Bündchen (* 20. Juli 1980 in Horizontina, Rio Grande do Sul) ist ein brasilianisches Model. ... https://de.wikipedia.org/wiki/Gisele_B%C3%BCndchen
above: NoHigher! Hu. text: 3D Princip of the propellers - A propeller/hajócsavar alapelve
En. text: A propeller is a type of fan that transmits power by converting rotational motion into thrust. A pressure difference is produced between the forward and rear surfaces of the airfoil-shaped blade, and a fluid (such as air or water) is accelerated behind the blade. Propeller dynamics, like those of aircraft wings, can be modelled by either or both Bernoulli's principle and Newton's third law. A marine propeller of this type is sometimes colloquially known as a screw propeller or screw, however there is a different class of propellers known as cycloidal propellers – they are characterized by the higher propulsive efficiency averaging 0.72 compared to the screw propeller's average of 0.6 and the ability to throw thrust in any direction at any time. Their disadvantages are higher mechanical complexity and higher cost.
above: MedRes! Raketa's single six-blades waterscrew via: riverfleet.ru
above: NEW! NoHigher! Hu. text: 1962. október 4. A Magyar Hajózási Rt. (MAHART) hajójavító műhelyében a Ganz Magyar Hajó-és Darugyár kalapácsdarujával a partra emelik ellenőrző vizsgálat céljából, a Szovjetunióból újonnan vásárolt több mint 17 tonna súlyú Sirály II. szárnyashajót. MTI Fotó: Jármai Béla source: facebook/ MTI-Fotóarchívum/ https://ritkanlathatotortenelem.blog.hu/2018/08/30/szines_mindennapok_432?ajanlo=1

above & below: NoHigher! Russian Alexeyev "Volga" TAXI ekranoplan "Tin-Tuc" Top Two: MedRes!
above: NoHigher! a Visitor on strand - a Nézelődő a strandon
A ground effect vehicle (GEV) is a vehicle that is designed to attain sustained flight over a level surface (usually over the sea) by making use of ground effect, the aerodynamic interaction between the wings and the surface. Among the best known are the Soviet ekranoplans, but names like wing-in-ground-effect (WIG), flarecraft, sea skimmer or wing-in-surface-effect ship (WISE) are also used.In recent years a large number of different GEV types have been developed for both civilian and military use. However, these craft have yet to enter widespread use. The German Tandem Airfoil Flairboats or Skimmerfoils constructed by Gunther Jörg differ in their use of self-stabilising wings.
Although they may look and have related technical characteristics similar to seaplanes, ground effect vehicles are not aircraft, as they are unable to fly freely in the air. They are also dissimilar from hovercraft or hydrofoils, as they do not have any contact with the surface of the water. Ground effect vehicles constitute a completely unique class of transportation. ... https://en.wikipedia.org/wiki/Ground_effect_vehicle
above & below: MedRes! Schematics
A hydrofoil is a lifting surface, or foil, that operates in water. They are similar in appearance and purpose to aerofoils used by aeroplanes. Boats that use hydrofoil technology are also simply termed hydrofoils. As a hydrofoil craft gains speed, the hydrofoils lift the boat's hull out of the water, decreasing drag and allowing greater speeds.Description:
The hydrofoil usually consists of a wing like structure mounted on struts below the hull, or across the keels of a catamaran in a variety of boats (see illustration). As a hydrofoil equipped watercraft increases in speed, the hydrofoil elements below the hull(s) develop enough lift to raise the hull out of the water, which greatly reduces hull drag. This provides a corresponding increase in speed and fuel efficiency.
Wider adoption of hydrofoils is prevented by the increased complexity of building and maintaining them. Hydrofoils are generally prohibitively more expensive than conventional watercraft. However, the design is simple enough that there are many human-powered hydrofoil designs. Amateur experimentation and development of the concept is popular.
Wider adoption of hydrofoils is prevented by the increased complexity of building and maintaining them. Hydrofoils are generally prohibitively more expensive than conventional watercraft. However, the design is simple enough that there are many human-powered hydrofoil designs. Amateur experimentation and development of the concept is popular.
Hydrodynamic mechanics:
Since air and water are governed by similar fluid equations—albeit with different levels of viscosity, density, and compressibility—the hydrofoil and airfoil (both types of foil) create lift in identical ways. The foil shape moves smoothly through the water, deflecting the flow downward, which, following the Euler equations, exerts an upward force on the foil. This turning of the water creates higher pressure on the bottom of the foil and reduced pressure on the top. This pressure difference is accompanied by a velocity difference, via Bernoulli's principle, so the resulting flowfield about the foil has a higher average velocity on one side than the other.
When used as a lifting element on a hydrofoil boat, this upward force lifts the body of the vessel, decreasing drag and increasing speed. The lifting force eventually balances with the weight of the craft, reaching a point where the hydrofoil no longer lifts out of the water but remains in equilibrium. Since wave resistance and other impeding forces such as various types of drag (physics) on the hull are eliminated as the hull lifts clear, turbulence and drag act increasingly on the much smaller surface area of the hydrofoil, and decreasingly on the hull, creating a marked increase in speed.
Foil configurations:
Early hydrofoils used V-shaped foils. Hydrofoils of this type are known as "surface-piercing" since portions of the V-shape hydrofoils rise above the water surface when foilborne. Some modern hydrofoils use fully submerged inverted T-shape foils. Fully submerged hydrofoils are less subject to the effects of wave action, and, therefore, more stable at sea and more comfortable for crew and passengers. This type of configuration, however, is not self-stabilizing. The angle of attack on the hydrofoils must be adjusted continuously to changing conditions, a control process performed by sensors, a computer, and active surfaces.
Early hydrofoils used V-shaped foils. Hydrofoils of this type are known as "surface-piercing" since portions of the V-shape hydrofoils rise above the water surface when foilborne. Some modern hydrofoils use fully submerged inverted T-shape foils. Fully submerged hydrofoils are less subject to the effects of wave action, and, therefore, more stable at sea and more comfortable for crew and passengers. This type of configuration, however, is not self-stabilizing. The angle of attack on the hydrofoils must be adjusted continuously to changing conditions, a control process performed by sensors, a computer, and active surfaces.
History: Prototypes:
Italian inventor Enrico Forlanini began work on hydrofoils in 1898 and used a "ladder" foil system. Forlanini obtained patents in Britain and the United States for his ideas and designs.
Between 1899 and 1901, British boat designer John Thornycroft worked on a series of models with a stepped hull and single bow foil. In 1909 his company built the full scale 22-foot (6.7 m) long boat, Miranda III. Driven by a 60 hp (45 kW) engine, it rode on a bowfoil and flat stern. The subsequent Miranda IV was credited with a speed of 35 kn (65 km/h; 40 mph).
A March 1906 Scientific American article by American hydrofoil pioneer William E. Meacham explained the basic principle of hydrofoils. Alexander Graham Bell considered the invention of the hydroplane a very significant achievement, and after reading the article began to sketch concepts of what is now called a hydrofoil boat. With his chief engineer Casey Baldwin, Bell began hydrofoil experiments in the summer of 1908. Baldwin studied the work of the Italian inventor Enrico Forlanini and began testing models based on those designs, which led to the development of hydrofoil watercraft. During Bell's world tour of 1910–1911, Bell and Baldwin met with Forlanini in Italy, where they rode in his hydrofoil boat over Lake Maggiore. Baldwin described it as being as smooth as flying.
On returning to Bell's large laboratory at his Beinn Bhreagh estate near Baddeck, Nova Scotia, they experimented with a number of designs, culminating in Bell's HD-4. Using Renault engines, a top speed of 87 km/h (47 kn; 54 mph) was achieved, accelerating rapidly, taking waves without difficulty, steering well and showing good stability. Bell's report to the United States Navy permitted him to obtain two 260 kW (350 hp) engines. On 9 September 1919 the HD-4 set a world marine speed record of 114 km/h (62 kn; 71 mph), which stood for two decades. A full-scale replica of the HD-4 is viewable at the Alexander Graham Bell National Historic Site museum in Baddeck, Nova Scotia.
In the early 1950s an English couple built the White Hawk, a jet-powered hydrofoil water craft, in an attempt to beat the absolute water speed record. However, in tests, White Hawk could barely top the record breaking speed of the 1919 HD-4. The designers had faced an engineering phenomenon that limits the top speed of even modern hydrofoils: cavitation disturbs the lift created by the foils as they move through the water at speed above 60 kn (110 km/h; 69 mph), bending the lifting foil.
First passenger boats:
German engineer Hanns von Schertel worked on hydrofoils prior to and during World War II in Germany. After the war, the Russians captured Schertel's team. As Germany was not authorized to build fast boats, Schertel went to Switzerland, where he established the Supramar company. In 1952, Supramar launched the first commercial hydrofoil, PT10 "Freccia d'Oro" (Golden Arrow), in Lake Maggiore, between Switzerland and Italy. The PT10 is of surface-piercing type, it can carry 32 passengers and travel at 35 knots (65 km/h; 40 mph). In 1968, the Bahraini born banker Hussain Najadiacquired the Supramar AG and expanded its operations into Japan, Hong Kong, Singapore, the UK, Norway and the US. General Dynamics of the United States became its licensee, and the Pentagon awarded its first R&D naval research project in the field of supercavitation. Hitachi Shipbuilding of Osaka, Japan, was another licensee of Supramar, as well as many leading ship owners and shipyards in the OECD countries.
From 1952 to 1971, Supramar designed many models of hydrofoils: PT20, PT50, PT75, PT100 and PT150. All are of surface-piercing type, except the PT150 combining a surface-piercing foil forward with a fully submerged foil in the aft location. Over 200 of Supramar's design were built, most of them by Rodriquez in Sicily, Italy.
During the same period the Soviet Union experimented extensively with hydrofoils, constructing hydrofoil river boats and ferries with streamlined designs during the cold war period and into the 1980s. Such vessels include the Raketa (1957) type, followed by the larger Meteor type and the smaller Voskhod type. One of the most successful Soviet designer/inventor in this area was Rostislav Alexeyev, who some consider the 'father' of the modern hydrofoil due to his 1950's era high speed hydrofoil designs. Later, circa 1970's, Alexeyev combined his hydrofoil experience with the surface effect principle to create the Ekranoplan.
In 1961, SRI International issued a study on "The Economic Feasibility of Passenger Hydrofoil Craft in US Domestic and Foreign Commerce".Commercial use of hydrofoils in the US first appeared in 1961 when two commuter vessels were commissioned by Harry Gale Nye, Jr.'s North American Hydrofoils to service the route from Atlantic Highlands, New Jersey to the financial district of Lower Manhattan.
Soviet-built Voskhods are one of the most successful passenger hydrofoil designs. Manufactured in Russia and Ukraine, they are in service in more than 20 countries. The most recent model, Voskhod-2M FFF, also known as Eurofoil, was built in Feodosiya for the Dutch public transport operator Connexxion:
The Boeing 929 is widely used in Asia for passenger services between the many islands of Japan, between Hong Kong and Macau and on the Korean peninsula.
Between 1899 and 1901, British boat designer John Thornycroft worked on a series of models with a stepped hull and single bow foil. In 1909 his company built the full scale 22-foot (6.7 m) long boat, Miranda III. Driven by a 60 hp (45 kW) engine, it rode on a bowfoil and flat stern. The subsequent Miranda IV was credited with a speed of 35 kn (65 km/h; 40 mph).
A March 1906 Scientific American article by American hydrofoil pioneer William E. Meacham explained the basic principle of hydrofoils. Alexander Graham Bell considered the invention of the hydroplane a very significant achievement, and after reading the article began to sketch concepts of what is now called a hydrofoil boat. With his chief engineer Casey Baldwin, Bell began hydrofoil experiments in the summer of 1908. Baldwin studied the work of the Italian inventor Enrico Forlanini and began testing models based on those designs, which led to the development of hydrofoil watercraft. During Bell's world tour of 1910–1911, Bell and Baldwin met with Forlanini in Italy, where they rode in his hydrofoil boat over Lake Maggiore. Baldwin described it as being as smooth as flying.
On returning to Bell's large laboratory at his Beinn Bhreagh estate near Baddeck, Nova Scotia, they experimented with a number of designs, culminating in Bell's HD-4. Using Renault engines, a top speed of 87 km/h (47 kn; 54 mph) was achieved, accelerating rapidly, taking waves without difficulty, steering well and showing good stability. Bell's report to the United States Navy permitted him to obtain two 260 kW (350 hp) engines. On 9 September 1919 the HD-4 set a world marine speed record of 114 km/h (62 kn; 71 mph), which stood for two decades. A full-scale replica of the HD-4 is viewable at the Alexander Graham Bell National Historic Site museum in Baddeck, Nova Scotia.
In the early 1950s an English couple built the White Hawk, a jet-powered hydrofoil water craft, in an attempt to beat the absolute water speed record. However, in tests, White Hawk could barely top the record breaking speed of the 1919 HD-4. The designers had faced an engineering phenomenon that limits the top speed of even modern hydrofoils: cavitation disturbs the lift created by the foils as they move through the water at speed above 60 kn (110 km/h; 69 mph), bending the lifting foil.
First passenger boats:
German engineer Hanns von Schertel worked on hydrofoils prior to and during World War II in Germany. After the war, the Russians captured Schertel's team. As Germany was not authorized to build fast boats, Schertel went to Switzerland, where he established the Supramar company. In 1952, Supramar launched the first commercial hydrofoil, PT10 "Freccia d'Oro" (Golden Arrow), in Lake Maggiore, between Switzerland and Italy. The PT10 is of surface-piercing type, it can carry 32 passengers and travel at 35 knots (65 km/h; 40 mph). In 1968, the Bahraini born banker Hussain Najadiacquired the Supramar AG and expanded its operations into Japan, Hong Kong, Singapore, the UK, Norway and the US. General Dynamics of the United States became its licensee, and the Pentagon awarded its first R&D naval research project in the field of supercavitation. Hitachi Shipbuilding of Osaka, Japan, was another licensee of Supramar, as well as many leading ship owners and shipyards in the OECD countries.
From 1952 to 1971, Supramar designed many models of hydrofoils: PT20, PT50, PT75, PT100 and PT150. All are of surface-piercing type, except the PT150 combining a surface-piercing foil forward with a fully submerged foil in the aft location. Over 200 of Supramar's design were built, most of them by Rodriquez in Sicily, Italy.
During the same period the Soviet Union experimented extensively with hydrofoils, constructing hydrofoil river boats and ferries with streamlined designs during the cold war period and into the 1980s. Such vessels include the Raketa (1957) type, followed by the larger Meteor type and the smaller Voskhod type. One of the most successful Soviet designer/inventor in this area was Rostislav Alexeyev, who some consider the 'father' of the modern hydrofoil due to his 1950's era high speed hydrofoil designs. Later, circa 1970's, Alexeyev combined his hydrofoil experience with the surface effect principle to create the Ekranoplan.
In 1961, SRI International issued a study on "The Economic Feasibility of Passenger Hydrofoil Craft in US Domestic and Foreign Commerce".Commercial use of hydrofoils in the US first appeared in 1961 when two commuter vessels were commissioned by Harry Gale Nye, Jr.'s North American Hydrofoils to service the route from Atlantic Highlands, New Jersey to the financial district of Lower Manhattan.
Military usage: ...
Modern passenger boats:Soviet-built Voskhods are one of the most successful passenger hydrofoil designs. Manufactured in Russia and Ukraine, they are in service in more than 20 countries. The most recent model, Voskhod-2M FFF, also known as Eurofoil, was built in Feodosiya for the Dutch public transport operator Connexxion:
The Boeing 929 is widely used in Asia for passenger services between the many islands of Japan, between Hong Kong and Macau and on the Korean peninsula.
- TurboJET service, which speeds passengers across the Pearl River Delta between Hong Kong and Macau in less than an hour, with an average speed of 45 knots (83 km/h), mainly using Boeing's Jetfoil. Also services Shenzhen, Guangzhou and Kowloon. Operated by Shun Tak-China Travel Ship Management Limited.
- Voskhod and Polesye service between Tulcea and Sulina on the Danube.
- Meteor and Polesye service in Poland between Szczecin and Świnoujście.
- Cometa service between Nizhneangarsk and Irkutsk on the Lake Baikal.
- Cometa service between Vladivostok and Slavyanka.
- Polesye service between Mozyr and Turov on the Pripyat River (Belarus).
- Meteor service between Saint Petersburg, Russia and the Peterhof Palace, a summer palace of Russian tsars.
- Meteor service between Saint Petersburg, Russia and the Kronstadt, a strongly fortified Russian seaport town, located on Kotlin Island, near the head of the Gulf of Finland. It lies thirty kilometers west of Saint Petersburg. Since 2012 replaced by a catamaran Mercury.
- Meteor, Raketa and Voskhod hydrofoil types operate all over Volga, Don and Kama Rivers in Russia. Also the Lena River and Amur River.
- Meteor hydrofoils are operated by a number of tour operators in Croatia, mostly for packaged tours, but there are also some scheduled services to islands in Adriatic.
- Hydrofoils are regularly operated on the three major Italian lakes by branches of the Ministry of Infrastructure and Transport: Navigazione Lago Maggiore services routes on Lake Maggiorebetween Locarno and Arona, Navigazione Lago di Como services routes on Lake Como, and Navigazione Lago di Garda services routes on Lake Garda. Three units of the Rodriquez RHS150 type operate on each lake, for a total of nine hydrofoils. Navigazione Lago di Como still operates the last Rodriquez RHS70 in active service in Italy.
- Former Russian hydrofoils are used in southern Italy for connection with islands of Lazio and Campania. SNAV has five RHS200, RHS160 and RHS150 used in the connections between Naplesand the islands of Capri and Ischia.
- A regular hydrofoil service runs from Istanbul to Yalova.
- Hellenic Seaways operate their Flying Dolphins service over many routes in the Aegean, between the Cyclades, Saronic Gulf islands such as Aegina and Poros, and Athens.
- Meteor (2), Polesye (4) and Voskhod (3) hydrofoil types operate in Hungary. MAHART PassNave Ltd. operates scheduled hydrofoil liners between Budapest, Bratislava and Vienna, inland liners between Budapest and the Danube Bend, and theme cruises to Komárom, Solt, Kalocsa and Mohács.
- "Voskhod" Flying Dolphin services are currently operated by Joy Cruises between Corfu and Paxos. They run from Corfu Port to Gaios using two hydrofoils: Ilida and Ilida II.
- Russian hydrofoils of the Kometa type operated on the Bulgarian Black Sea Coast connecting Varna, Nesebar, Burgas, Sozopol, Primorsko, and Tsarevo, and Raketa and Meteor models served the Bulgarian Danube ports between Rousse and Vidin. Both services were discontinued in the 1990s. In 2011 the service reopened between Varna, Nesebar, Burgas and Sozopol, operated by Bulgarian Hydrofoils Ltd.
- Vietnamese Greenline Company operates hourly shuttle service between Ho Chi Minh city, Vung Tau and Con Dao island. Hydrofoil lines using the Russian-built Meteor type also connect Hai Phong, Ha Long and Mong Cai in North Vietnam, Phan Thiet and Phu Quy Island and between Rach Gia and Phu Quoc Island in the South.
- The service between Busan, South Korea and Fukuoka, Japan is operated by two companies. Japanese JR Kyūshū Jet Ferry operates Beetle five times a day. Korean Miraejet operates Kobeethree to four times a day. All of their fleets are Boeing 929.
- As of February 2008, all of the commercial lines in Japan use Boeing 929. The routes include:
- Sado Kisen operates the route between Sado and Niigata.
- Tōkai Kisen operates Seven Island, running between Tokyo and Izu Islands, via Tateyama or Yokosuka. The destinations include Izu Ōshima, Toshima, Niijima, Shikinejima, and Kōzushima. The same ship also liks Atami and Izu Ōshima.
- Kyūshū Yūsen operates the route between Fukuoka, Iki, and the two ports of Tsushima.
- Kyūshū Shōsen operates the route between Nagasaki and the two of Gotō Islands, namely Fukuejima and Nakadōrijima.
- Kagoshima Shōsen and Cosmo Line operate the various routes between Kagoshima and Tanegashima or Yakushima.
- In 2012, Agriculture, Fisheries and Conservation Department (AFCD) in Hong Kong leased a 12-meter HAWC (Hydrofoil Assisted Water Craft), a catamaran, to patrol the Geo Park, a UNESCO Sanctioned Marine Park in the Sai Kung areas off Hong Kong.
Discontinued operations:
- Until 31 December 2013, Fast Flying Ferries operated by Connexxion provided a regular public transport service over the North Sea Canalbetween Amsterdam Central Station and Velsen-Zuid in the Netherlands, using Voskhod 2M hydrofoils. It was stopped due to a new speed limit.
- Between 1981 and 1990, "Transmediterranea" used to operate a service of hydrofoils connecting Ceuta and Algeciras in the Strait of Gibraltar. The crossing took half an hour, in comparison to the hour and a half of conventional ferries. Due to the common extreme winds and storms that take place in winter in the Strait of Gibraltar, the service was substituted in 1990 by catamarans, which were also able to carry cars. At the peak of the year, in summer, there was a service every half an hour in each direction. This high-speed connection had a big impact on the development of Ceuta, facilitating one-day business trips to mainland Spain.
- Between 1964 and 1991 the Sydney hydrofoils operated on Sydney Harbour between Circular Quay and Manly.
- During 70s and 80s there were frequent services between Belgrade and Tekija in Đerdap gorge. The distance 0f 220 km (120 nmi; 140 mi) was covered in 3 hours and 30 minutes downstream and 4 hours upstream. See also the history of Condor Ferries, which operated six hydrofoil ferries over a 29-year period between the Channel Islands, south coast of England and Saint-Malo. ... https://en.wikipedia.org/wiki/Hydrofoil
above: MedRes! Chaika & Vihr - Storm
below: Raketa & Chaika / MAHART's Sirály
above: MedRes! Konstrukcia 'Raketa' - 'Rocket' - 'Rakéta' below: HiRes! 234. by: riverfleet.ru
above: HiRes! Wet dream - Nedves álom: After travelling on stern balcony - A hátsó balkonon utazás után source: mellbimbo.eu via: Egostatic.com
above: MedRes! Raketa at Voronyezs, Don-river - Csernavszkij-moszt - bridge via: Yaplakal.com
above: NoHigher! Postcard: Moscow on Moskva river: Close to Red-square, Kremlin below: MedRes! Shore of Moskva-river with Kremlin - Kreml
above: NEW! HiRes! Juci'bácsi's scan collection from late 1980's: Hu. edition issued booklet - kisfüzet: "A Szovjetúnió ma" - "The S.U. today" 1989. 'Novosty' publication. Courtesy FREE! Moscow downtovn and river - Moszkva belvárosa és a folyó.
above: NoHigher! Map of Downtown of Moscow-city below: MedRes! Map of Public traffic net
above: NoHigher! 'Vostok - East - Kelet' R7 rocket below: MedRes! Cover of pack of Model by: Only-Paper.ru
above & below Two: MedRes! Raketa papermodel ready by: only-paper.ru


above: NoHigher! Authentic Model in Museum of Sormovich-plant source: users.ATW.hu
above: NoHigher! Metallic model under processing source: ATW.hu/Sry-modellező-fóruma
above: NoHigher! Out of Service - Kivonva a szolgálatból via: forum.airbase.ru
above & below: NoHigher! Data of Raketa as a Hungarian Import name "Chaika" - "Sirály"
above: NoHigher! "Чайка" - "Chaika" - "Gull" - "Sirály"
above: NoHigher! Chaika cockpit. Remark: The Hu. MAHART 'Raketa's name was "Chaika - Gull - Csajka - Sirály"
above: HiRes! Schematic drawing about Waterjet Propulsion of Chaika - Vízsugár hajtóműves
En. text: A pump-jet, hydrojet, or water jet is a marine system that creates a jet of water for propulsion. The mechanical arrangement may be a ducted propeller (axial-flow pump), a centrifugal pump, or a mixed flow pump which is a combination of both centrifugal and axial designs. The design also incorporates an intake to provide water to the pump and a nozzle to direct the flow of water out of the pump.
Design:
A pump-jet works by having an intake (usually at the bottom of the hull) that allows water to pass underneath the vessel into the engines. Water enters the pump through this inlet. The pump can be of a centrifugal design for high speeds, or an axial flow pump for low to medium speeds. The water pressure inside the inlet is increased by the pump and forced backwards through a nozzle. With the use of a reversing bucket, reverse thrust can also be achieved for faring backwards, quickly and without the need to change gear or adjust engine thrust. The reversing bucket can also be used to help slow the ship down when braking. This feature is the main reason pump jets are so maneuverable.
The nozzle also provides the steering of the pump-jets. Plates, similar to rudders, can be attached to the nozzle in order to redirect the water flow port and starboard. In a way, this is similar to the principles of air thrust vectoring, a technique which has long been used in launch vehicles (rockets and missiles) then later in military jet-powered aircraft. This provides pumpjet-powered ships with superior agility at sea. Another advantage is that when faring backwards by using the reversing bucket, steering is not inverted, as opposed to propeller-powered ships. ...
The nozzle also provides the steering of the pump-jets. Plates, similar to rudders, can be attached to the nozzle in order to redirect the water flow port and starboard. In a way, this is similar to the principles of air thrust vectoring, a technique which has long been used in launch vehicles (rockets and missiles) then later in military jet-powered aircraft. This provides pumpjet-powered ships with superior agility at sea. Another advantage is that when faring backwards by using the reversing bucket, steering is not inverted, as opposed to propeller-powered ships. ...
Ru. text: Водомётный дви́житель (водомёт) — движитель, у которого сила, движущая судно, создаётся выталкиваемой из него струёй воды (реактивная тяга). Представляет собой водяной насос, работающий под водой.
Этот принцип передвижения наблюдается у кальмаров, осьминогов, каракатиц, медуз, морских гребешков и др. Эти животные передвигаются, выбрасывая вбираемую ими воду.
Ru. text: Ча́йковые (лат. Laridae) — семейство птиц отряда ржанкообразных, обитающих на морских просторах либо внутренних водоёмах, а также в пределах населённых пунктов. Включает в себя около 60 видов птиц, подавляющее большинство из которых относится к роду настоящих чаек, которых в узком смысле также обычно именуют чайками.
Этот принцип передвижения наблюдается у кальмаров, осьминогов, каракатиц, медуз, морских гребешков и др. Эти животные передвигаются, выбрасывая вбираемую ими воду.
above: NoHigher! Jet-Ski Waterjet/Pumpjet device Longitudinal cross section drawing - Vízsugárhajtómű blokk hosszmetszete műszaki rajz source: Wikipedia
PT-76 Swimm-tank/ARV: http://szextant.blogspot.hu/2015/06/159-pt-76-amphibious-light-swimming.html
above: MedRes! Hydro-design of Chaika's hull below: NoHigher! Vintage color photo about Chaika
above: NoHigher! Чайка - Chaika - Csajka-Sirály: front - elöl: Silver Gull - Ezüst-Sirály back - hátul: Herring Gull - Hering-Sirály
En. text: Laridae is a family of seabirds in the order Charadriiformes that includes the gulls, terns and skimmers. It includes around 100 species arranged into 22 genera. They are an adaptable group of mostly aerial birds found worldwide. ... https://en.wikipedia.org/wiki/Laridae
above: MedRes! Raketa original photos: Left: Passenger area - Utastér Right: Wings and Propulsion
above: MedRes! Demaged Raketa via: spkflot.ru
NoHigher! above: The "Rocket - Rakéta" 1957.
above: NoHigher! Profile about Two raketa's variants artwork by: Viktor Koval via: http://34fleet.blogspot.com
above: MedRes! Outline Three View drawing and it's Four+1 parts via: riverfleet.ru
above: NoHigher! Fourth part same as size than Three parts below: Hu. text drawing by: hajoregiszter.hu
above & below Two: HiRes! Cross section linedrawings about Raketa - Rocket - Rakéta
above: MedRes! Drawing about Hydro wings - krilya of Raketa

above Five & below: MedRes! Detail design drawing parts of rudder by: www.riverfleet.ru
Су́дно на подво́дных кры́льях (СПК) — тип скоростного судна с динамическимпринципом поддержания, у которого под корпусом расположены подводные крыльяОписание:
На стоянке и при следовании с малой скоростью судно на подводных крыльях удерживается на воде за счёт силы Архимеда, как и обыкновенное водоизмещающеесудно. На высокой скорости за счёт создаваемой этими крыльями подъёмной силысудно поднимается над водой. При этом значительно уменьшается площадь контакта с водой, и, следовательно гидродинамическое и лобовое сопротивление воды, что позволяет развивать более высокую скорость.
Для СПК экономически целесообразная скорость движения ограничена величиной около 100 км/ч (в современных СПК военного назначения скорость ограничена 180 км/ч). Такое ограничение вызвано проблемой кавитации подводного крыла (кипение воды вследствие понижения давления в зоне обтекания крыла), которая резко снижает его гидродинамические характеристики. И хотя на созданных под руководством Р. Е. Алексеева судах на малопогруженных подводных крыльях удалось достичь скоростей до 140 км/ч при бескавитационном обтекании крыла, СПК оказались малоперспективными для дальнейшего повышения скорости. ... https://ru.wikipedia.org/wiki/SPK
В Советском Союзе «Ракета», первое пассажирское судно на подводных крыльях, вступило в эксплуатацию в 1957 году.
С конца 1950-х годов начался серийный выпуск пассажирских судов на подводных крыльях «Ракета», «Метеор», «Комета» и «Беларусь».
В 1970-е — 1980-е годы последовали суда «Восход», «Полесье», «Колхида», «Циклон», «Ласточка».
В единичных экземплярах в 1960-е годы были построены экспериментальные СПК «Стрела-1» (первое в Советском Союзе морское пассажирское СПК, 1961), «Стрела-2» (1962), «Стрела-3» (1963), «Буревестник» (1964), «Чайка», «Спутник» (1961), «Вихрь», СПК с автоматически управляемыми подводными крыльями проекта 1233 «Тайфун» в пассажирском варианте (1969).
Для служб судового надзора и спасательных станций в СССР выпускались катера на подводных крыльях «Волга» и «Москва».
Строились в Советском Союзе и суда на подводных крыльях военного назначения.
В начале 1950-х годов 8 торпедных катеров проекта К123К были оборудованы носовыми подводными крыльями конструкции Р. Е. Алексеева.
В 1956 году на феодосийском судостроительном заводе «Море» построен более совершенный торпедный катер проекта 184 с носовым подводным крылом.
В 1963—1967 годах построена серия из 16 сторожевых катеров на подводных крыльях проекта 125А.
С 1971 по 1976 год для ВМФ СССР построено 24 торпедных катера проекта 206-М «Шторм».
Также с 1978 по 1985 год на Владивостокском ССЗ по заказу правительств Вьетнама, Кубы, Эфиопии и других стран построили 16 катеров по проекту 206МЭ, итого для Вьетнама было отправлено 5 катеров, для Камбоджи и Эфиопии — 2, для Кубы — 9 и ещё одно судно для Сейшельских островов.
С 1976 по 1983 год на Средне-Невском ССЗ (пос. Понтонный около Ленинграда) для ВМФ СССР было построено 11 ракетных катеров проекта 206МР «Вихрь».
Серия из 12 пограничных катеров проекта 133 «Антарес».
В 1977 году в Ленинграде построен ракетный катер на подводных крыльях проекта 1240 «Ураган».
В 1977 году опытный МПК «Александр Кунахович» проекта 1141.
Серия из 3-х МПК проекта 1145.1 «Сокол» (1987—199?).
Большинство советских судов на подводных крыльях были разработаны под руководством выдающегося инженера Ростислава Алексеева. Несмотря на то, что в СССР производство СПК было развёрнуто позже всех, их производство в СССР было наиболее массовым, в частности, Boeing Marine Systems сумел построить около 40 СПК, швейцарский Supramar — около 150, а СССР — более 1300. Советские пассажирские СПК стали важным экспортным товаром, их покупали по всему миру, журнал «Популярная механика» высказал мнение, что в современном мире при слове «суда на подводных крыльях» (англ. Hydrofoil Boats) в первую очередь представляют модели советского производства ... https://ru.wikipedia.org/wiki/SPK
En. text: Raketa (Russian: Раке́та, Rocket) was the first type of hydrofoil boats commercially produced in the Soviet Union. They were manufactured from 1957 until the early 1970s. The chief designer was Rostislav Alexeyev and the project 340 vessels had been planned already in the late 1940s.
The first model, Raketa-1, was built by Krasnoye Sormovo (Красное Сормово) shipbuilding plant in Sormovo, Nizhny Novgorod (Нижний Новгород). On its maiden voyage, on 25 August 1957, it carried 30 passengers from Nizhny Novgorod to Kazan(420 km) in seven hours.
Raketa boats were soon in wide commercial service on the Volga River and elsewhere in the Soviet Union. To this day, the name is often used generically in Russian for all hydrofoil river boats. Later designs include the Meteor and Kometa types, among many others.
There were several versions of project 340 vessels: project 340 (проект 340), project 340E (проект 340Э) and project 340ME (проект 340МЕ). ... https://en.wikipedia.org/wiki/Raketa_(hydrofoil)
Ru. text: «Ракета» — название серии советских пассажирских речных судов на подводных крыльях (проекты 340, 340Э, 340МЕ). ... https://ru.wikipedia.org/wiki/Raketa


above: Left: HiRes! Raketa-8th in 1961 via: spkflot.ru Right: MedRes! Where was this port?
NoHigher! above: Raketa in American LIFE magazine below: Amerikan Rocket in New York Steit Bards kanal
above: NoHigher! Raketa-367 russisches tragfluegelschiff fuer 1968. GFR Hamburg
above: NoHigher! Hungarian issued Mail stamp - Magyar Postabélyeg source: Wikipedia
below: Hungarian MAHART's (Chaika - Чайка - Csajka)/Sirály
above: NoHigher! Hungarian MAHART's "Chaika - Csajka - Sirály - Gull" early 1960's on Budapester Water & Air parade - on august 20th - Vizi és Légiparádén source: kep-ter.blog.hu
above: NoHigher! at Parlament below: HiRes! Water & Air parade august 20th in 1960's Margaret-bg.
above: NoHigher! Before Gellért-hill direct to Elizabeth-bridge via: www.hajocsavar.hu
above: NEW! HiRes! MAHART's "Sirály" hidrofoil before Buda-side 'Battyhány'-tér - square and Buda-castle, "Fisherman"-bastion in 1977. Donor: Mr. Szánthó Zoltán source: fortepan.hu
above: NoHigher! I was a Blogger - Én 'Janika' 1957. at the Budapest Lánchíd Chain-bridgehead on Pest side at watching bastion backround the Gellért-hill (made by My Father's FED-2) - Én a Blogger A Lánchíd pesti hídfőjénél a figyelő bástyánál.
above: NEW! NoHigher! MTA's - Magyar Tudományos Akadémia port with bastion - bástya and "Pannonia" sight-seen vessel - városnéző sétahajó source: www.kep-ter.blogspot.hu
above: NoHigher! Hungarian Science Academy - Magyar Tudományos Akadémia MTA early 1900's

above: MedRes! HuAF's Mi-24P from LHSN Szolnok MH.86th 'Die Hard-V': "A Good Day to Die Hard" (2013) with starring Bruce Willys opver watching bastion ~ 2012. Photo by: Hu. Mr. Görög András photoartist via: www.gorogandras.hu
The Die Hard series is an American action film series that began in 1988 with Die Hard, based on the 1979 novel Nothing Lasts Forever by Roderick Thorp. The series follows the adventures of John McClane (portrayed by Bruce Willis), a New York City and Los Angeles police detective who continually finds himself in the middle of violent crises and intrigues where he is the only hope against disaster. ... https://en.wikipedia.org/wiki/Die_Hard_(film_series)
above: NoHigher! The Adam Clark-square at Buda-side oppisit other side the MTA to left. - A Klark Ádám tér a budai oldalon, szemben az MTA bal oldalon.

above: NEW+! HiRes! Mood pics about shore-corso Balatonfüred, Gulls - "Danka" Sirályok and far visible the public Strand in 2018.november 16. Shiny-Friday - Fényes-Péntek - Parti sétány. XIAOMI Smart-Phone művész-Fotó - artisty Photo by: Ms. Bártfai Mária - Veszprém city-
above: NEW! NoHigher! Hungarian Ship and Crane Factory with bronze plaque - Magyar Hajó-és Darugyár - MHD bronz plakett - Венгерский судостроительный и крановый завод с бронзовой табличкой >Vengerskiy sudostroitel'nyy i kranovyy zavod s bronzovoy tablichkoy< source: Mr. Máthé István ny. vegyészmérnök, Magyar ipartörténeti retró-relikvia gyűjtő, Budapest, E-mail: mathep46@gmail.com website: http://vallalkozasok-emlektargyak.hu/
above: MedRes! School Ship 'Gull' "Buda"-iskolahajo Sirály-sz.hajó at Óbuda
above: NoHigher! Demaged Hungarian MAHART Sirály-I-sérülés 1983. source: www.folyamhajozas.hu
above: NoHigher! Demaged Hungarian MAHART Sirály-I-sérülés 1983. source: www.folyamhajozas.hu
Hu. text article by: Időkapszula.blog
Délután a Duna alsó-ausztriai szakaszán Fischamendnél súlyos hajószerencsétlenség történt.
Az 1906,5 folyamkilométerkőnél a MAHART Budapest-Bécs-Budapest között közlekedő szárnyas hajója, Bécsből jövet összeütközött a szovjet Vilniusz tolóhajóval, majd a part menti kövek közé csapódott. A baleset következtében két utas életét vesztette, többen megsérültek. A sebesülteket a környékbeli és a bécsi kórházakban ápolják; a sértetlen utasokat autóbusszal Bécsbe vitték. A hajószerencsétlenség körülményének tisztázására az osztrák és a magyar szakértők vizsgálatot indítottak.
A Sirály I. szárnyashajó 14:45-kor indult 45 fő utassal és 6 fő személyzettel Bécsből Budapestre. Bécset elhagyva az 1906-os folyamkilométer közelében utolérte a szintén völgymenetben haladó szovjet VILNIUS motoros tolóhajót és három bárkából álló tolatmányát. Rövid ideig annak nyomvonalában haladt, majd jobbról megkezdte az előzést. Mivel a parancsnok túl későn kezdett a manőverbe, az erős hullámzás, a szívóhatás, valamint a rendellenes vízmozgás következtében az előzést nem tudta végrehajtani, s kb. 70 km-es sebességgel ütközött a tolatmány jobb hátsó, Interlighter típusú tolt bárkájának sarokélének. A bárka a második széksornál behatolt az utastérbe, ék alakban beszakította a főfedélzetet és a hajófeneket is. Az első négy széksor egymásra torlódott, s lékesedett a hajótest úszásbiztonságát növelő nyolc vízmentes légrekeszből kettő, így az utastér első részének padlózata víz alá került. Az ütközés következtében az első tiszt súlyos fejsérülést szerzett, így a gépüzemvezető vette át az irányítást, aki az elsüllyedés veszélyének kitett szárnyashajót habozás nélkül felfuttatta a jobb parti kövezésre. Itt utasítást adott a horgony leeresztésére, hogy a hajótest ne "csússzon vissza" a mederbe. Az ütközés következtében a szárnyashajó kiszakadt oldalán keresztül a Dunába zuhant egy brit házaspár. A férfit sikerült kimenteni, feleségének csonkolt holttestét később a halászok találták meg néhány kilométerrel lejjebb. Egy osztrák asszony az ütközés pillanatában fejjel a sétafedélzet ajtajának zuhant, koponyasérülésébe azonnal belehalt. Ők ketten vesztették életüket, de további 33 utas megsérült, közülük 9 súlyosan. Az ütközést követően közvetlen életveszély alakult ki a szárnyashajón azáltal, hogy súlyosan lékesedett, és süllyedni kezdett.
Ez a veszélyhelyzet a szárnyashajó partra futtatását követően megszűnt. A szovjet köteléken senki sem sérült meg. A szárnyashajó parancsnokát azonnal őrizetbe vették. Első kihallgatása alkalmával nem volt képes az előre elkészített vázlatrajzon sem a saját hajójának, sem pedig a szovjet hajó pozíciójának berajzolására. Később, a tárgyalások során megállapítást nyert, hogy a baleset egyértelműen a szárnyashajó kapitányának számlájára írható: nem értékelte helyesen a két hajó sebességkülönbségét, ráadásul a rendelkezésre álló rövid idő - mintegy 50 másodperc - ellenére késlekedett a döntéssel. Amikor eldöntötte, hogy nem balról, hanem jobbról előz, már olyan jelentős út- és időveszteséget idézett elő, hogy képtelen volt az összeütközést elhárítani. Halálos tömegszerencsétlenséget okozó ittas vízi járművezetés bűntette, társadalmi tulajdonban jelentős kárt okozó gondatlan rongálás bűntette miatt elsőfokon 5 év 6 hónapi szabadságvesztésre, mint főbüntetésre ítélték. Az ítéletet a másodfokú bíróság helybenhagyta. Az eset után a SIRÁLY I-est véglegesen kivonták a forgalomból, a hajótestet beolvasztották. A szovjet Interlighter bárkában jelentéktelen kár keletkezett. A szárnyashajó kapitánya leülte büntetését, szabadulása után egy tolóhajón kapott munkát, de tiszti beosztásba soha nem került. Hajós kollégái szerint megtört, befelé forduló emberré vált, majd néhány év szolgálat után öngyilkos lett...
Forrás: folyamihajozas.hu ... https://cimlap.blog.hu/#http://valogatott.blog.hu/2019/10/28/idokapszula_nb_i_1983_84_magyarorszag_nszk_merkozes
above: MedRes! Hu. Ganz-Danubius Óbudai Hajógyár - Shipyard Factory - Brodotechnika -Budapest- source: www.Fortepan.hu
above: NoHigher! MAHART Sirály in Duna-curve - Dunakanyarban below Two: MedRes! also: 1962.Dunakanyar, Visegrád "Sirály" I. Donor: Dropni Kar - Droppa-Kalmphoto by: fortepan_73997 Fortepan.hu



above Six: MedRes! Retró fotók: Sirály szárnyashajó source: Mr. Márton Gábor: Fortepan.hu
above: NoHigher! MAHART Balaton-to Balaton? hajóútjai source: www.egykor.hu
above: NEW+! HiRes! Mood pics about shore-corso Balatonfüred, Gulls - "Danka" Sirályok and far visible the public Strand in 2018.november 16. Shiny-Friday - Fényes-Péntek - Parti sétány. XIAOMI Smart-Phone művész-Fotó - artisty Photo by: Ms. Bártfai Mária - Veszprém city-
above: NoHigher! Soviet classical marine wall-clock - Szovjet klassz. tengerészeti falióra
above: NoHigher! Raketa ekrano pass spk
above: NoHigher! Metal Label - Fém Matrica/Tábla
above & below: MedRes! Soviet version "Raketa"

above Two: HiRes! Raketa by: riverfleet.ru
above: NoHigher! She is in laying pose on sunbathing Bed-Deck - Ő fekvő pozitúrában a mapozós Fekvő- Fedélzeten (Napozó fedélzet)
above: MedRes! Roof of Raketa
above: NoHigher! Pobeda - Victory - Győzelem" wrist-watch - karóra from 1950's
above: MedRes! Helmsman in Raketa cockpit below: MedRes! Cockpit detail
above: NoHigher! Cockpit dashboard via: archive below: MedRes! Cockpit drawings

above: MedRes! Cockpit nowadays with GPS

above & below: MedRes! Cockpit by: riverfleet.ru


NoHigher! above: by: river-forum.ru below: by: forum.flot.ru
above: NoHigher! below: MedRes! Raketa/Sirály passenger space - utastér source: ATW.hu via: frocush.Livejournal.com-ru

above: MedRes! Passenger cabin below: MedRes! Walking passage via: www.riverfleet.ru
above & below Then: MedRes! Details of Raketa & Voskhod by: riverfleet.ru


above: NoHigher! Raketa's anchor - horgonya source: Sry-modellezo-foruma/ATW.hu fourcatalog



above: MedRes! On dry - Szárazon via: riverfleet.ru
above & below six: MedRes! Rear wing and propulsion & frontwings section via: riverfleet.ru


above: NoHigher! "Gemini - Ikrek": Krylyas - wings - szárnyak: AEROFLOT Tupolev Tu-154 airliner and Raketa source: Sry-modellezo-foruma_ATW.hu_fourcatalog
above: NoHigher! Raketa on an river in 2008. by: http://rechflot-63.ru-viewtopic.php
above: NEW! NoHigher! Raketa on Pripjaty river in Chernobil before nuclear disaster in Ukraine
Paks VVER Hu. Nuclear Powerplant: https://szextant.blogspot.com/2014/02/paksi-atomeromu-nuclear-powerplant-paks.html

above: MedRes! Finnish 'Rosetta' "Laiva" hydrofoil
above & below: NoHigher! Hungarian designed and made "Swallow - Fecske" by: ATW.hu
below: NoHigher! Hungarian MAHART Captain: dr. Juba Ferenc
The Danube (/ˈdænjuːb/ DAN-ewb, known by various names in other languages) is Europe's second-longest river, after the Volga River. It is located in Central and Eastern Europe.The Danube was once a long-standing frontier of the Roman Empire, and today flows through 10 countries, more than any other river in the world. Originating in Germany, the Danube flows southeast for 2,860 km (1,780 mi), passing through or touching the border of Austria, Slovakia, Hungary, Croatia, Serbia, Romania, Bulgaria, Moldova and Ukraine before emptying into the Black Sea. Its drainage basin extends into nine more countries. The Danube river basin is the most biodiverse region in Europe, and is home to hundreds of fish species, such as pike, zander, huchen, wels catfish, burbot and tench. It is also home to a large diversity of carp, sturgeon, as well as salmon and trout. A few species of Euryhaline fish, such as European seabass, mullet, and eel, inhabit the Danube delta and the lower portion of the river. ... https://en.wikipedia.org/wiki/Danube
above: NoHigher! Dunau crossing thorough Central Europe - Közép-Európa
above: HiRes! Danube-valley in CEU - a Duna-völgye Középeurópában 2009.
Hu. text: A Duna a második leghosszabb folyam Európában (a Volga után). Németországban, a Fekete-erdőben ered két kis patakocska, a Breg és a Brigach összefolyásával Donaueschingennél, és innen délkeleti irányban 2850 kilométert tesz meg a Fekete-tengerig. Magyarország egész területe e folyam vízgyűjtőjén terül el, itteni főágának hossza 417 km, ezért az ország vízrajzának meghatározó alkotóeleme.A folyó kialakulása a pliocén korban kezdődött el. A pliocén végén jutott el a Duna a Kisalföldig, ekkor a mai nyugat–kelet irány helyett észak–dél irányban folyt itt. Csak a pleisztocén korban alakult ki a kisalföldi szakasza. A folyó legfiatalabb része a Dobrudzsanyugati oldalán található dél–észak irányú folyása, amely pusztán a pleisztocén kor végén jött létre.
Napjainkban fontos nemzetközi hajóút. A németországi Rajna–Majna–Duna-csatorna 1992-es megépítése óta részét képezi annak a 3500 km-es transzeurópai vízi útnak, amely az Északi-tenger melletti Rotterdamtól a Fekete-tenger melletti Sulináig ér. A Dunán szállított áruk össztömege 1987-ben elérte a 100 millió tonnát.
A 20. században a folyam felső szakaszán vízlépcsők sorát építették ki, ami megváltoztatta a folyó természetes vízjárását és gyakorlatilag megszüntette a hordalék alpi utánpótlását. A rendszer utolsó tagja a Szlovákiában felépített bősi vízlépcső. A Dunakanyar fölötti szakasz vízszintje folyamatosan csökken, ennek következtében pusztulnak a part menti élőhelyek. A legnagyobb veszély a Duna–Ipoly Nemzeti Park ártéri keményfaligeteit fenyegeti.
A Duna a világ „legnemzetközibb” folyója; 10 országon halad át, vízgyűjtő területe pedig 7 további országot érint. Több jelentős település is emelkedik a partjain, köztük négy jelenlegi főváros: Bécs, Pozsony, Budapest és Belgrád. A térség kulturális öröksége és természeti adottságai sok turistát vonzanak. ... https://hu.wikipedia.org/wiki/Duna
above: NoHigher! Hu. National Civic Transport Ports - Országos Közforgalmi Kikötők



above: MedRes! Hu. Shipping signal tables - Hajózási Jelzőtáblák source: get-doc-resource-4-net.jogtar.hu
above: NEW! MedRes! Hu. text: Visegrád. A visegrádi fellegvár és a Salamon-torony, előtérben rönköket szállító uszály source: PPS/(Zolika)
Hu. text: Megjegyzés: Páratlan gyűjteménye van Osztrák-Magyar Monarchia korabeli színes képeslapokból a washingtoni kongresszusi könyvtárnak. Ez az Egyesült Államok nemzeti könyvtára, és a világ legnagyobb könyvtára is mind méretei, mind pedig tárolt könyveinek, fotóinak, dokumentumainak száma alapján. A több mint 125 millió darabos gyűjteményében szép számmal található magyar vonatkozású anyag is, ebből válogattunk. (Zolika)
En. text: Note: The Washington Library of Congress has an unparalleled collection of Austro-Hungarian Monarchy color postcards. It is the national library of the United States and the largest library in the world in terms of both its size and the number of books, photographs, and documents it stores. The collection of more than 125 million pieces also contains a large number of Hungarian-related material, from which we have selected. (Zolika)
above: NEW! MedRes! In Danube-curve the Visegrad-castle - A Visegrádi-vár a Duna-kanyarban photo by: Nagy Zoltán source: index.hu below: NEW! NoHigher! Danube watertour map Visegrád
. - Fölfelé irány Dél-Nyugat - Upward direct to South-West.
above: HiRes! A Half Part of Budapest & Danube-curve - Dunakanyar
above: HiRes! Szentendre and Szentendreer-danube - Szentendrei-sziget és Dunaág over Budapest. Hu. Military GAK - Gauss Krüger project - vetület original scale M 1:10 000 source: Collect of ret. arm. Lt. Col. former Tata armor reg. commander Mr. Szollár János nyá.pc.alez. (62. yo.) also Courtesy FREE!
above: HiRes! Duna - city of Vác, Verőce and Szendendrei-island on the Hu. GAK Military scale M 1:50 000 topography map below: NoHigher! Vác shipping chart
above: MedRes! Börzsöny-curve below: MedRes! River curve Visegrad? by: Docplayer.hu

above: Left: MedRes! Right: HiRes! Nagymaros - Visegrád Danube-curve - Dunakanyar tourist maps below Two: HiRes! Visegrad-mountain tourist maps

above: NoHigher! Visegrader straight
above & below: NoHigher! Duna-curve at Dömös - a Dunakanyar Dömösnél
above: NoHigher! Developing of Shipping route in Duna-curve
above: MedRes! Visegrad-straight - Visegrádi szűkület. Photo from North-East
above: HiRes! 'Bibic' (Left-Bottom) goes in Duna-curve Visegrad to right direct to South Budapest
above: NEW! HiRes! During the Full Moon of the Danube-curve bend, from the top of the "Preaching Chair" in the Pilis mountains, to the East. Right ahead Visegrád lights April 2020 - A Dunakanyar Telihold idején a Pilis-hegységbeli "Prédikáló szék" csúcsról, Keleti irányba. Jobbra előre Visegrád fényei 2020.aprilis source: www.pbase.com_laja30_inbox
above: NEW! HiRes! Duna-curve - Dunakanyar 'Helemba'-sziget - island and 'Burda'-mountain source: bien.hu
above: HiRes! Danube-curve - Ipoly-river to Esztergom-city
above & below: NoHigher! Gabcikovo variant below: Gabcikovo layout
above: HiRes! Gabcikovo river echelon - vízlépcső projekt
above: NoHigher! Bős - Nagymaros Vízlépcsőrendszer
above: HiRes! Győr - Sopron county - megye & Wien
above: MedRes! Danube - Drava National Park Hu. text
above: HiRes! Tolna-vármegye - castle-county map with Danube 1897. (Cropped and restructured for 1600 px.) from early 1900's
above: MedRes! Szekszárd - Gemenc shipping map in Tolna-county
above: HiRes! Detail of Hu. Mil. map scale: M=1:400.000 from 1942. Danube and Beograd - Belgrád (former Hu.: -Nándorfehérvár-) in Serbia
above: HiRes! Cartographia of Royal Hungarian Defence - Magyar Királyi Honvédség térképészete
above: NoHigher! ZRYW-1 Polish: Lech Kobylinski prof. Gdansk Riverine Shipyard - Folyami hajógyár 1965.
above & below Two: HiRes! ZRYW-I modellist drawing

above & below: NoHigher! ZRYW-I from Poland - Lengyelországból
A new type comes to model ship plans. Zryw-1 is a hydrofoil, a kind of fast ferry. The hydrodynamic surfaces under the hull acts like a plane wing and lifts the boat up when the boat speeds up. As the boat lifts the friction surface decrases so less friction means more speed! ... source: http://freeshipplans.com/free-model-ship-plans/passenger-ship-plans/zryw-1-hyrofoil-plans/
above: NoHigher! ZRYW -1 was the first Polish passenger hydrofoil designed by Lech Kobyliñski. The boat was built in May 1965.
above: MedRes! In Gdansk city: The prototype , had better performance than its relatives from the Soviet Union, but because of some failures was replaced after two years by Russian hydrofoils.
below: HiRes! Cyrillic text: Caracteristics of 'Taifun'

above: NoHigher! below: MedRes! Taifun AYPK Soviet Hydrofoil
above: NoHigher! Proto Pre-Sputnik? model
above & below: NoHigher! Hydrofoil "Sputnik - Szputnyik - Satellite - Műhold
NoHigher! above: Sputnik rudders and wings below: 'Volga'
NoHigher! above: Sputnik rudders and wings below: 'Volga'
above: NoHigher! Sputnik on a river

above: MedRes! Sputnik Outer and Inner
above: NoHigher! Sputnik
En. text: Sputnik 1 (/ˈspʌtnɪk/; Russian: Спутник-1 [ˈsputnʲɪk] "Satellite-1", or ПС-1 ["PS-1", i.e., Russian: Простейший Спутник-1, Prosteyshiy Sputnik-1, "Elementary Satellite 1"]) was the first artificial Earth satellite. The Soviet Union launched it into an elliptical low Earth orbiton 4 October 1957. It was a 58 cm (23 in) diameter polished metal sphere, with four external radio antennas to broadcast radio pulses. It was visible all around the Earth and its radio pulses were detectable. This surprise success precipitated the American Sputnik crisisand triggered the Space Race, a part of the larger Cold War. The launch ushered in new political, military, technological, and scientific developments. ... https://en.wikipedia.org/wiki/Sputnik_1Ru.text: «Спу́тник-1» — первый искусственный спутник Земли, советский космический аппарат, запущенный на орбиту 4 октября 1957 года. Кодовое обозначение спутника — «ПС-1»(«Простейший Спутник-1»). Запуск осуществился с 5-го научно-исследовательского полигона Министерства обороны СССР «Тюра-Там» (получившего впоследствии открытое наименование космодром «Байконур») на ракете-носителе «Спутник», созданной на базе межконтинентальной баллистической ракеты «Р-7».
Над созданием искусственного спутника Земли, во главе с основоположником практической космонавтики С. П. Королёвым, работали учёные М. В. Келдыш, М. К. Тихонравов, Н. С. Лидоренко, Г. Ю. Максимов, В. И. Лапко, Б. С. Чекунов, А. В. Бухтияров и многие другие.
Дата запуска «Спутника-1» является началом космической эры человечества, а в России ежегодно отмечается как памятный день Космических войск.
В честь первого искусственного спутника Земли названа равнина на поверхности Плутона.
above: MedRes! Sputnik on retro color photo below: NoHigher! Nowadays in Togliatti as Statue - Pamyathnik - Emlékmű
above: NoHigher! "Sputnik" linedrawing
above: HiRes! Sputnik frame of body below: NoHigher! Hydrostatic elements of hull - hajótest
above: HiRes! Vihr - Storm - Vihar'

above: MedRes! Sputnik in Togliatti in Samarra district
above: NoHigher! Beriev Be-12 'Chaika' ASW/SAR amfybia in Russia VMF another "hydrofoil"
above: NEW+! HiRes! Mood pics about shore-corso Balatonfüred, Gulls - "Danka" Sirályok and far visible the public Strand in 2018.november 16. Shiny-Friday - Fényes-Péntek - Parti "Rabin Dranat Tagore" sétány - promenade. XIAOMI Smart-Phone művész-Fotó - artisty Photo by: Ms. Bártfai Mária - Veszprém city-
above: MedRes! a Fish External Anatomy - A Hal Külső Anatómiája
NoHigher! above: Sputnik
18+above: NEW+! NoHigher! Graphic of American model & actress celeb Carmen Electra as Sex-Bomb from 2007
18+above: NEW+! NoHigher! Graphic of American model & actress celeb Carmen Electra as Sex-Bomb from 2007
Carmen Electra Tara Leigh Patrick (born Sharonville, Ohio, on April 20, 1972), better known by her stage name Carmen Electra, is an American glamour model, actress, television personality, singer, and dancer. She began her career as a singer after moving to Minneapolis, Minnesota, where she met Prince, who produced her debut record. She later relocated to Los Angeles, California, to pursue a career as an actress, gaining notoriety for her role as Lani McKenzie on the television series Baywatch. She made her film debut in the horror comedy American Vampire (1997), and has had roles in multiple parody films, including Scary Movie, Date Movie, Epic Movie, Meet the Spartans, and Disaster Movie. Electra has also appeared as a model in Playboy magazine, and worked as a dancer with the Pussycat Dolls. ... https://en.wikipedia.org/wiki/Carmen_Electra
above: Burevestnik
below: MedRes! Book "Burevestnik - Storm bird - Viharmadár" with Alekseev & Meteor photo
above: NoHigher! Damier du Cap Cape Petrel - Буревестниковые (Daption capense) Капский голубок (Daption capense) - Viharmadár
Буреве́стниковые (лат. Procellariidae) — семейство новонёбных морских птиц из отряда буревестникообразных. К буревестниковым относятся многочисленные виды, в основном это птицы средней величины. Представители этого семейства встречаются у берегов всех океанов, но большей частью в Южном полушарии. ... ru.wikipedia.org/Burevestnik
Газотурбоход с водометным движителем «Буревестник». Максимальная скорость 120 км/ч. 150 пассажиров. 1964 год.
http://www.designet.ru/context/history/?id=45432
http://www.darkroastedblend.com/2012/07/streamlined-soviet-passenger-hydrofoils.html
above: HiRes! "Буреве́стник - Burevestnik" layout - alaprajz
above: NoHigher! Burevestnik engine room with two Izotov gasturbine
NoHigher! above: Burevestnik by: Yaplakal.com below: U.S. Female Worker welders the Exhaust pipe - Nődolgozó Gázkiáramló csövet hegeszt
above: HiRes! Burevestnik hydrodinamic frame line-drawing
above: NoHigher! Burevestnik below: HiRes! Original Color by: opoccuu.ru
above: NoHigher! Gadfly - Viharmadár - Burevestnik (Pterodroma arminjoniana)
En. text: The gadfly petrels are seabirds in the bird order Procellariiformes. The gadfly petrels are named for their speedy weaving flight, as if evading horseflies. The flight action is also reflected in the genus name Pterodroma, from Ancient Greek pteron, "wing" and dromos, "runner".These medium to large petrels feed on food items picked from the ocean surface.
The short, sturdy bills of the Pterodroma species in this group, about 35 altogether, are adapted for soft prey taken at the surface; they have twisted intestines for digesting marine animals which have unusual biochemistries.
Their complex wing and face marking are probably for interspecific recognition.
These birds nest in colonies on islands and are pelagic when not breeding. One white egg is laid usually in a burrow or on open ground. They are nocturnal at the breeding colonies.
While generally wide-ranging, most Pterodroma species are confined to a single ocean basin (e.g. Atlantic), and vagrancy is not as common amongst Pterodromas as it is in some other seabird species (c.f. the Storm-Petrels Hydrobatidae).űú ... https://hu.wikipedia.org/wiki/Viharmadarak
above: MedRes! Artwork Graphic about 'Burevestnik'
above: NoHigher! The 'Voskhod' Svutty ... source: www.ppsspace.ru
above: MedRes! "Svutty" via: The Rebell Pin-Up Page by: Photobilly source: Pineterest
above & below: NoHigher! Olympia
below: "Voskhod - Voszhod"- Hu.: "Vöcsök"
above: NoHigher! типа "Восход" - "Voskhod" - "Voszhod"-"Napfelkelte" - "Sunrise"on river in Russia
above: MedRes! Voskhod and badge of Raketa & Meteor
HiRes! above: Voskhod prospekte below: In dockyard
above: HiRes! Congratulation for My past tensed workmate - múltbéli munkatársamnak in 2017. Catching with Age changing - Korral változó fogások with lake-Balatoner Carp - Balatoni Ponttyal.
From abandoned HDF's 87th Combat Helicopter Regt. at LHSA heli. maintenance engineer ret.eng.avn. Maj. Hernádi János nyá. mk. rep. őrgy. MH.87.Bakony Harcihelikopter Ezred - Szentkirályszabadja (megszűn) Helikopter üzemeltető mérnök. source: facebook/Hernádi János
above: MedRes! Russian made 'Vostok' "Europe" mariner watch whit Tritium lighter capsules - Tríciumos világító kapszulákkal by: Time Visions
En. text: Vostok Watch Makers, Inc. (Russian: Восток; literally meaning "East") is a Russianwatchmaker based in Chistopol, Tatarstan, Russia. The company produces mainly rugged military and amfibia mechanical watches. It also makes clocks and watch movements for other watch brands. ... https://shop.vostok-inc.com/Ru. text: Чистопольский часовой завод «Восток» находится в городе Чистополь, Республика Татарстан. Является градообразующим предприятием моногорода.
Свою историю ведёт с осени 1941 года. В ноябре в город Чистополь прибыли первые баржи с оборудованием и 500 работников эвакуированного Второго Московского часового завода. Весной 1942 года ЧЧЗ начал серийный выпуск часовых приборов военного назначения, а к 1 июля заработал на полную мощность. Предприятие было создано как номерной завод, работающий на нужды фронта. Но уже с февраля 1943 года, выполняя приказ Наркомата миномётного вооружения, на заводе начали выпускать мирную продукцию. Это были первые в стране мужские наручные часы «Кировские».
above: MedRes! Voskhod-63 in St. Petersburg, Nerva-river source: users.ATW.hu
above: NoHigher! Illuminator Tower - Világítótorony by: randomcutegirls
NoHigher! UV Green 'Voskhod' "Connexx" type 'Eurofoil'
above: NoHigher! "Voshod-2M" has two M419A main engines with 1.100 HP capacity each, the "Eurofoil" two MTU engines with app. 1070 HP each.
above: MedRes! Grebe - Podilymbus-podiceps - Поганковые - Vöcsök
En. text: A grebe (/ˈɡriːb/) is a member of the order Podicipediformes and the only type of bird associated with this order. Grebes are a widely distributed order of freshwater diving birds, some of which visit the sea when migrating and in winter. This order contains only a single family, the Podicipedidae, containing 22 species in 6 extant genera. ... https://en.wikipedia.org/wiki/GrebeHu. text: A vöcsökfélék (Podicipedidae) a madarak osztályának vöcsökalakúak (Podicipediformes)rendjének egyetlen családja. 6 nem és 22 faj tartozik a családba.
Előfordulásuk:
A vöcsökfélék szinte minden kontinensen megtalálhatóak, kivéve az Antarktiszt.
Különösen kedvelik a sekély, homokos aljú tavakat, ahol nincs áramlás. Kevésbé gyakran lehet látni lassú folyású folyóknál is. A szaporodási időszakban egyes fajok láthatók a tengeren is. Több faj is kimerészkedik a tengerre, de nem mennek távol a parttól. ...
above: MedRes! Russian Voskhod-61
above: NoHigher! Juci'bacsi's scan collect: from Newspaper 1970's: "Vöcsök - Waterbird" direct to Chain-bridge - Lánchíd from Margaret-bridge. Visible the Budaer-side with Budaer-Castle - Budai-várral: Fisher-bastion - Halászbástya, Mathias-church - Mátyás templom and Hotel 'Hilton'
above: NoHigher! Vöcsök similar site over "Széchenyi" Chain-bridge via: Webset-Picture BB Tours

above: NoHigher! Vöcsök similar site over "Széchenyi" Chain-bridge via: Webset-Picture BB Tours

above: Hungarian retro Marine fashion photos: Left: HiRes! from 'Ez a Divat - This is Fashion' magazine from 1980's: lefthand: Sütő Enikő righthand: Kristyán Judit topmodels with the Hungarian Fashion Institute's design suits - a Magyar Divat Intézet ruhatervei Right: MedRes! Mr. Tabori Ivan & Molnár Vali & Fekete Ildi topmodels source: facebook.com/80-as évek manökenjei & Szedres Mariann's site
above: NoHigher! Voshod "Vöcsök" at Belgrad-shore Internation al Ship station Photo by: Jan H. via: Foursquare below: NoHigher! Belgrád-rakp. Two "Vöcsök" via: Nk-ha image
above: HiRes! Aerial view 3D Plan of Belgrád-rakp. by: Korzo Tervezesi Studio
above: NoHigher! Vöcsök-III. Before docking Vámház-tér ship-station
above: NoHigher! Docker Sailor with ladder below: MedRes! MAHART-Passnave "Vöcsök"
above: NoHigher! Docker Sailor with ladder below: MedRes! MAHART-Passnave "Vöcsök"

above: NoHigher! The watertraffic in Budapest - viziforgalom
above: MedRes! Budapest, Buda-side, Battyhány-tér - square Huge-Jump Tower for FINA 2017. source: PPS
NoHigher! above: Vöcsök formation in parade of August 20th close to Battyhányi-squ. dir. to N. source: Index.hu/MTI - Magyar Távirati Iroda - Hungarian Press Office below: Vöcsök-IV
VOSHOD type (Project 352) and VOSHOD-2 type -Project 03521- Medium-sized river ang river-sea going hydrofoil: MAHART-Passnave, Vöcsök - Vochok
above: NoHigher! Emergency Exit - Vészelhagyás
HiRes! above: Vikhod - Emergency Exit to Forward - Első Kijárat below: Opposit view to Rear/A Stern

above & below: HiRes! Captain resorting cabin and Passenger space - Utastér
above: MedRes! Voshod teplohod vnutri - Mid section

above: Left: MedRes! Large passenger space Right: MedRes! Forward traveller space below: Updated
above: NoHigher! Dvigathel zal - Engine room - Gépház/-terem
above: MedRes! SPK Voskhod paper model during process by: only-paper.ru

above: MedRes! Left: Rear Right: Forward section below: MedRes! Driver station - Vezetőállás

above: MedRes! Opened stage - Nyitott állapot below: NoHigher! Opposit view - Szembenézet
above & below: MedRes! 47th (Littlebit Cropped as vertically)
above: MedRes! SPK Voskhod paper model by: only-paper.ru
above: HiRes! Meteor, Voskhod, Belarus models in museum? via: lab.sapr.ru

above: MedRes! Vöcskök source: hajocsavar.hu Vocsok Wien - Bécs source: 2-napos-olcsoszallasok.hu
above: MedRes! 'Furuno' vessel marine radar "Villum2-FAR-3000"
above: NoHigher! Good as Vochock - Vöcsökjó! Summer mariner bikini
above: MedRes! Vocsok-III source: http://forum.index.hu-2006.
above: NoHigher! Vocsok under the Fisher-bastion (Inverse view than lower pic) after Chain-brdg to N.
above: HiRes! Juci'bacsi's Nikon 'Coolpix' photo from 2014. Budaer-castle Fisher-bastion and to Right, the Battyhány-tér: The HuDF's MS-25 'Nestin' minesweeper warship goes to Újpest Military port
above: MedRes! Hu. text: 'Voskhod'/"Lastochka - Lasztocska" típusú szárnyashajó: Quicksilver (2006-) It is very similar to Voskhod. LASTOCHKA type -Project 03525- high speed river-sea going hydrofoil. - "Ласточка M" пассажирское судно на подводных крыльях Over there opposit parlament building - Országház.
above: NoHigher! Urgently entry passenger. Vintage Fashion with a French Riviera
above: NoHigher! MAHART: captain Horváth ..?
above: NoHigher! Quicksilver over Elizabeth.bridge at 'Vigadó'-tér IV-VI station source: forum.index.hu

above: MedRes! Bridge and Engine room of Lastochka/QuickSilver source: forum.index.hu
above: NoHigher! Qicksilver by: panoramio
Ласточка (Ласточка-М) — серия морских пассажирских теплоходов на подводных крыльяхвторого поколения (проект 03525). Автор проекта - ЦКБ имени Алексеева[1].
Строились на Судостроительном заводе «Волга» в Нижнем Новгороде. Первое судно серии построено в 1986 г.
Форма корпуса остроскулая V-образная, корпус изготовлен из алюминиево-магниевого сплава 1561.
Построено 3 судна, певрое из них - Ласточка-1 продано в Венгрию, где эксплуатировалось на внутрненних водных путях под именем Quicksilver, два других судна (Ласточка-М) в 2004 г. отправлены в Китай для Ичанской судоходной компанией "Ичан Сан Ся Цзинь Шан"[2].
В отличие от СПК "Восход" обладает повышенными скоростью хода и степенью автоматизации энергетической установки. ... https://ru.wikipedia.org/wiki/Lastochka-M
| Судно на подводных крыльях | |
|---|---|
| Технические характеристики | |
| Класс регистра: | КМ*2[А]3 пассажирское СПК |
| Максимальная пассажировместимость: | 77 человек |
| Длина: | 31 м |
| Ширина: | 6,2 м (габаритная) |
| Осадка: | 2,0 м |
| Высота: | |
| Водоизмещение: | 37 |
| Скорость: | 40 узла (максимальная) |
| Количество двигателей: | 2 дизельных М470 |
| Мощность каждого из главных двигателей, л/с: | 990 |
| Движитель: | два гребных винта |
| Автономность: | 300 миль |
| Экипаж: | 4 чел. |
| Судно на подводных крыльях | |
above Two: MedRes! Hungarian firma 'QuickSilver' Lastochka in Újpesti-port - kikötőben
Hu .text: A Quicksilver Lasztocska típusú (03525 tervszámú), szovjet gyártmányú hordszárnyas hajó. Jelenleg a Duna leggyorsabb hajója. Napjainkban nem üzemel, a hajó az Újpesti kikötőbentalálható.1986-ban gyártotta a gorkiji Krasznoje Szormovo hajógyár. Az 1980-as évek második felében került Magyarországra, a Mahart tulajdonába. Ekkor menetrendszerűen nem közlekedett. 2006-ban a PannonWings Kft. tulajdonába került, majd 2009. május 8-tól a MAHART PassNave tulajdonába került. 2008-tól rövid ideig közlekedett. Napjainkban menetrendszerűen nem közlekedik, az utóbbi években a drága üzemeltetés miatt szárazra kiemelve tárolják.
Személyzete négy fő, 77 utast szállíthat. Holtvízi maximális sebessége eléri az 55 csomót (102 km/h-t), ezzel ez a Duna leggyorsabb hajója. ... https://hu.wikipedia.org/wiki/Quicksilver_(haj%C3%B3)
LASTOCHKA típus (03525): Nagy sebességű, tengeri személyszállító szárnyashajó. A 80-as években kifejlesztett típus kis példányszámban (összesen 3db) készült, egyik példánya Magyarországon található, 2009. május 8-tól a MAHART PassNave szárnyashajó flotta tagja. ...
above Six: MedRes! "QuickSilver" in downtown of Budapest-city source: forum.index.hu 2006.
Hu. text: Gorbacsov vágyott rá, Kádár elmerengett felette. Hajósok álmodtak róla, de nem kaphatták meg. Az idők változnak: most már bárki megtapasztalhatja a világ talán leggyorsabb személyszállító hajóját. ... http://totalcar.hu/tesztek/quicksilver/ above: image: NoHigher! Left Entry door - Bal beszálló ajtó "Born to fly - Repülésre született"
NoHigher! above: Cross section drawing below: Two model of Lastochka
above: NoHigher! 'Voskhod' profile artwork by: omedia.org
above: NoHigher! Hu. text Map about Vessel ports in Downtown of Budapest city via: nk-ha
above: MedRes! Landscape view from Gellérthegy-hill to North photo: My Son Juhász "Bubu" Andor Eng. 3D Designer with smartphone 2017. june source: facebook.com
above: NoHigher! Egyed Katalin & Erzsébet-híd-bridge source: e-look
above: MedRes! Drone photo ove Gellért-hill "Freedom" sculpture about Danube
above & below: NoHigher! Vöcsök II. goes direct to South source: hajoregiszter.hu
above: NoHigher! Vöcsök-II. direct to Elizabeth-bridge from North Chain-bridge
above: NoHigher! Passenger Food Service - Utasellátó
above: NoHigher! source: Ultraweb.hu

above: MedRes! MAHART "Vöcsök"s Engine room and Bridge/Driver stand - Híd/Vezetőállás source: http://users.atw.hu-sryforum-viewtopic.php
above: HiRes! Vöcsök-III. photo: Nagy József: verseny - race source: dunaiszigetek.blogspot.hu
above: MedRes! Abandoned Vöcsök-I. Dunabogdány Ship - Hajó-skanzen
above: MedRes! retro Water-skiing - Vizisíelés


above: NoHigher! Cross section drawing of hull below: MedRes! Fasteners - Kötések
above: NEW! NoHigher! Voskhod drawing - rajz source: users.atw.hu
above: NoHigher! below Three: HiRes! Cyrillic Drawing for Modellist


above: NoHigher! Cross section drawing of hull below: MedRes! Fasteners - Kötések
above: NoHigher! Welder Pin-Up Girl - Hegesztő -csaj
above: NoHigher! In dockyard photo by: Slava Zaikin via: http://rechflot-63.ru-viewtopic.php
above: NoHigher! Voszhod-51 Volga river at Kazany 2012.maj.17. photo by: Slava Zaikin via: http://rechflot-63.ru-viewtopic.php (Two photo, littlebit Cropped from top and Right)
above: NoHigher! Voskhod cutaway via: pinterest.com
above: NoHigher! Similar category design than Voskhod
above: MedRes! MAHART Voszhod/Vocsok on Danube at Esztergom-city in 2014. by: rechflot-63.ru.viewtopic
above: NoHigher! below Five: MedRes! Hu. Abandoned Vöcsöks I.-VIII. Dunabogdány Ship - Hajó-skanzen

above: NoHigher! Katie Cleary in a hot blue bikini: "a Best Vochock - A legjobb Vöcsök - She goes than a Vöchöck - Megy mint a ~"
Katie Cleary (born September 21, 1981 in Chicago, Illinois) is an American Model and Actress. She is best known to TV Game Show audiences as Briefcase Model #11 on the NBC TV Game Show Deal or No Deal and as a former contestant from season one on the UPN/CW reality series America's Next Top Model. ... http://deal.wikia.com/wiki/Katie_Cleary
above: MedRes! Lifted Hidrofoil in Dockyard preparation pool in "Bikini Top" source: SlidePlayer.hu
above: NoHigher! Out of MAHART's Service Vöcsök
above: NoHigher! MAHART Vöcsök even still in operate - .. még működésben source: http://users.atw.hu-sryforum-viewtopic.php
above: MedRes! Voshod-08 at Zelenenszkij-osztrov - island - sziget
above: NoHigher! Voskhod on river?
NoHigher! above: Soviet 'Voskhod' on Volga-river below: by: http://rechflot-63.ru-viewtopic.php

above: MedRes! Boss of Dockyard
above: Name of Heroe M. Devyataly - a Hős M.D.
above: MedRes! Voskhod at Zelensky
above: MedRes! Boss of Dockyard
above: NoHigher! Zelenogorsk - Voskhod and in the backround the 'Zubr' - 'Bison' MDKVP Air Cushion Troop Carrier Vehicle - 'Bölény' Légpárnás csapatszállító
above: NoHigher! Juci'bacsi's collect scanned by Szextant: 'Nők Lapja' weekly magazine - 'Females' sheet' 1980's "Lazy sunbathing on stone-shore of shipyard." Hu.text: "A Zavod sólya-kőpartján lazítás"
Balaton, retro models: http://szextant.blogspot.hu/2015/08/164-lake-balaton-eletkepek-genre-pics.html
above: MedRes! MDKVP 'Zubr' Air cushion vehicle - Légpárnás
Малые десантные корабли на воздушной подушке проекта 12322
МДКВП, самый крупный в мире десантный корабль на воздушной подушке, предназначен для приёма с оборудованного или необорудованного берегаподразделений морских десантов с боевой техникой, перевозки морем, высадки на побережье противника и огневой поддержки десантируемых войск. Кроме того, он может осуществлять транспортировку мин и постановку минных заграждений.
Благодаря конструктивным особенностям воздушной подушки может передвигаться по земле, обходя небольшие препятствия (рвы и траншеи) и минные заграждения, двигаться по болотам и высаживать десант в глубине обороны противника. Для МДКВП «Зубр» доступно для высадки десантов до 70 % общей длины береговой линии морей и океанов мира.
above: MedRes! 'Zubr' Color camouflage - kamuflázs
above: HiRes! 'Zubr' in port - dockyard - kikötőben
above: NoHigher! 'Vostok - Europe' Ekranoplan (wing effect vehicle) KM - "Kaspian Monster" Chronograph from Soviet VMF - Voennaya Morskovo Flotta - NAVY - Haditengerészet
18+above: NoHigher! Tovarisnhica Sztormovitsch, Steps by Steps to succes in workplace
above: NoHigher! "Lady Sormovich in work - Szormovicsné munkában"
above & below: NoHigher! Tovarish 'Sormovich - Szormovics' Air Cushion Liner Vehicle 1960. - Légpárnás Személyszállító Jármű at Nhizhny Novgorod Sormovich plant
above: HiRes! Voskhod in dockyard

18+above: HiRes! Emergency dropping in to a water - Vészugrás a vízbe via: mellbimbo.eu
above: NoHigher! Voskhod 2M-FFF van 'Connexxion' / ("Quicksilver") - Voshod Draagvleugelboot 'Karla': Ukrainian-built Voskhod on the North Sea Canal, the Netherlands

above: MedRes! "Possible follower victims of launched wave/billow - A lehetséges következő áldozatai a vetett hullámnak." Right:18+ art-photo: David Dubnitskiy from Dnyepropetrovsk (Ukraine) below: MedRes! www.davidfoto.com.ua. https://500px.com/david-foto
above: NoHigher! A Voskhod's Foreman Stuwy - Vezető Sztyuvi via: Pinterest
above: NoHigher! Salute to Voskhod's Boss of Stuwy - Tisztelgés a Sztyuvigórénak
above: NoHigher! The Deutsch Alphabet
above: MedRes! Flagsignals - Zászlójelzések
above: Left: Paris Hilton HiRes! Hollywood word famous photomodel-Life-Girl in Unknown? signal flag pattern dress, maybe letter of 'V' Victor? Right: NoHigher! 4? and 'Antwort' ?

above: MedRes! Polish born, celeb, pregnant Joanna Krupa american World Topmodel as Flagwomen. source: www. mellbimbo.eu
En. text: Joanna Krupa (Polish pronunciation: [jɔˈanːa ˈkrupa]; born 23 April 1979) is a Polish Americanmodel, actress and animal rights activist. She is mostly known for her appearances on the reality television shows Dancing with the Stars, Top Model, and The Real Housewives of Miami. ...
Pl- text: Joanna Krupa (ur. 23 kwietnia 1979 w Warszawie) – polska modelka, aktorka, osobowość telewizyjna i celebrytka. Dzieciństwo:
Joanna Krupa urodziła się w Warszawie jako najstarsza córka Zbigniewa i Jolanty Krupów. Ma młodszą siostrę, Martę (ur. 1986). W wieku pięciu lat wyjechała do Chicago, gdzie osiedliła się z matką i siostrą. Później rodzina zamieszkała w Los Angeles. ...
Radar was developed secretly for military use by several nations in the period before and during World War II. The term RADAR was coined in 1940 by the United States Navy as an acronym for RAdio Detection And Ranging or RAdio Direction And Ranging. The term radar has since entered Englishand other languages as a common noun, losing all capitalization.
The modern uses of radar are highly diverse, including air and terrestrial traffic control, radar astronomy, air-defence systems, antimissile systems, marine radars to locate landmarks and other ships, aircraft anticollision systems, ocean surveillance systems, outer space surveillance and rendezvous systems, meteorological precipitation monitoring, altimetry and flight control systems, guided missile target locating systems, ground-penetrating radar for geological observations, and range-controlled radar for public health surveillance.[5] High tech radar systems are associated with digital signal processing, machine learning and are capable of extracting useful information from very high noise levels.
Other systems similar to radar make use of other parts of the electromagnetic spectrum. One example is "lidar", which uses predominantly infrared light from lasers rather than radio waves. ...
Joanna Krupa urodziła się w Warszawie jako najstarsza córka Zbigniewa i Jolanty Krupów. Ma młodszą siostrę, Martę (ur. 1986). W wieku pięciu lat wyjechała do Chicago, gdzie osiedliła się z matką i siostrą. Później rodzina zamieszkała w Los Angeles. ...
above: MedRes! Lastochka
above: NoHigher! Leader Captain "Lady Furuno" via: Pinterest
above: MedRes! Voskhod: MAHART-Passnave "Vöcsök" cockpit at Szekszárd;
Hu. text: Október végén Budapest és Mohács között közlekedett a Vöcsök III. nevű szárnyashajó. A távirati iroda fotóriportere a mohácsi indulásnál, valamint Dunaszekcső és Szekszárd közelében fotózta a szárnyast.: http://iho.hu/hir/vocsokozni-igenis-meno-141102
above: NoHigher! 'Furuno' vessel radar Display Unit Model 1815 - Kijelző Egység via: Furuno.com
Dedicated to growth based on the concepts and values of a new era FURUNO allows people to see things that are normally beyond the realm of visibility, thereby contributing to progress in science and industry by extending the boundaries of visibility.
above: MedRes! Furuno's marine radar LCD - Liquid Crystal Display - Folyékony Kristályos Képernyő
above: NoHigher! 'Furuno' NAVnet vx2 extra LG1 connection network
Radar is an object-detection system that uses radio waves to determine the range, angle, or velocity of objects. It can be used to detect aircraft, ships, spacecraft, guided missiles, motor vehicles, weather formations, and terrain. A radar system consists of a transmitter producing electromagnetic waves in the radio or microwaves domain, a transmitting antenna, a receiving antenna (often the same antenna is used for transmitting and receiving) and a receiverand processor to determine properties of the object(s). Radio waves (pulsed or continuous) from the transmitter reflect off the object and return to the receiver, giving information about the object's location and speed.Radar was developed secretly for military use by several nations in the period before and during World War II. The term RADAR was coined in 1940 by the United States Navy as an acronym for RAdio Detection And Ranging or RAdio Direction And Ranging. The term radar has since entered Englishand other languages as a common noun, losing all capitalization.
The modern uses of radar are highly diverse, including air and terrestrial traffic control, radar astronomy, air-defence systems, antimissile systems, marine radars to locate landmarks and other ships, aircraft anticollision systems, ocean surveillance systems, outer space surveillance and rendezvous systems, meteorological precipitation monitoring, altimetry and flight control systems, guided missile target locating systems, ground-penetrating radar for geological observations, and range-controlled radar for public health surveillance.[5] High tech radar systems are associated with digital signal processing, machine learning and are capable of extracting useful information from very high noise levels.
Other systems similar to radar make use of other parts of the electromagnetic spectrum. One example is "lidar", which uses predominantly infrared light from lasers rather than radio waves. ...
above: MedRes! "Rose-Point" Nav-System CRI Setup below: HiRes! Screen via: Youtube
above: NoHigher! Ship Autopilot General System
above: NoHigher! MAHART "Vöcsök" with ' F U R U N O ' radar via: hajoregiszter.hu
above: HiRes! Voskhod & Poleshe SPKs
below: Poleshe - Northern Lapwing - Bíbic at MAHART-Passnave
above: NoHigher! bíbic (Vanellus vanellus)
En. text: The northern lapwing (Vanellus vanellus), also known as the peewit, pewit, tuit or tew-it (imitative of its cry), green plover (emphasising the colour of the plumage) or (in the British Isles) just lapwing(which refers to its pretence of injury by dragging its wing to lure predators away from the nest), is a birdin the lapwing family. It is common through temperate Eurasia.
Hu. text: A bíbic (Vanellus vanellus), régi népi nevein bébic, libuc, kibic, klíbicz a lilealakúak(Charadriiformes) rendjébe, ezen belül a lilefélék (Charadriidae) családjába tartozó faj. A bíbic hangutánzó szó, mint az számos nyelvben így van. Angolul: peewit; hollandul: kievit; németül: Kiebitz (ejtsd: kíbic). ...
above: NoHigher! French - World sexy Ikon: actress BB Brigitte Bardot "BiBic" in Italian made 'Riva' Luxury fast motorboat
above: HiRes! "Bíbic-III" a sólyán
above: NoHigher! A Leader of maintenace - A karbantartásvezető photo: Denis Goncharov
above: MedRes! Hydrowing launching on water surface that similar to wing of hydrofoil the wavesurf plate with surfergirl.
above: NoHigher! "Poleshe" before landing at port
above: NoHigher! Profile of POLESYE type -Project 17091- Small-sized passenger hydrofoil
above Two: HiRes! Cutaway Longitudinal Precision Cross Section of Poleshe by: spkflot.ru
above & below: HiRes! SPK "Poleshe" cutaway drawing about "Bibic" hidrogliser & Crosssect

above: NoHigher! MAHART-Passnave 'Bíbic' Stewardess
above: NoHigher! Similar type to Poleshe
above: NoHigher!: Roman Poleshes by: riverfleet.ru below: NoHighger! Mahart-Passnave via: hajoregiszter.hu

above: Hu. text: 'Poleszje' típusú kisszemély hordszárnyashajó below: MedRes! MAHART
POLESJE - Bíbic
above: MedRes! MAHART-Passnave Вдали виден прибывающий теплоход «Полесье»
above: NoHigher! Female 'Bíbic': World famous model: Candice Swanepoel source: pinterest
Candice Susan Swanepoel (/ˈswɒnəpuːl/ SWON-ə-pool; Afrikaans: [svanɛˈpul]; born 20 October 1988) is a South African top model, best known for her work with Victoria's Secret. In 2016, she came in 8th on the Forbes top-earning models list. ... en.wikipedia.org/Candice_Swanepoel
above: Left: MedRes! A "Bíbic" on waves by: panoramio.hu Right: MedRes! Hu.text: A "Bibic" alacsony vízállásnál is hatékony
below: NoHigher! "Poleshe" in Belorussya orig photo source: Sry-modellezo-foruma_ATW.hu
above: HiRes! "Poleshenka" the restaurator expert on bank of river source: mellbimbo.eu via: www.SuicideGirls.com SG
below: Belarus
above: NoHigher! 'Belarus' type Project 1709R) Small-sized passenger hydrofoil - BELARUS ("Fehérorosz") típus (1709R) Kisméretű személyszállító szárnyashajó by: web-set.hu
Hu. text: 1966-1970 között gyártották kis példányszámban a fehéroroszországi Gomelben. Utóda a Polesje típus lett 1970-től. A hajótest hossza 18,5 méter, szélessége 3,2 méter, merülése álló helyzetben 0,91 méter, szárnyon haladva 0,3 méter. A típus utazósebessége 65 km/h, hatótávolsága 320 km. Utasbefogadó képessége: 40 fő. ...
above & below: NoHigher! SzPK 'Belarus'
above & below Three: HiRes! Linedrawing about SPK 'Belarus' - 'White Russia' - 'Fehéroroszország'
above: NoHigher! Vessel on river Vodle below: HiRes! 'Orion' Air Cushion Vessel
below: HiRes! Air Cushion - Légpárnás: Zharya cross section of frame with Water-jet propulsion Schematic Line Drawing about Air Cushion 'Zarnica'
above: MedRes! 'Zarya' on Biya via: Yaplakal.com Zarja below: NEW! NoHigher! (Crop V!) 1983.
above & below: NEW! NoHigher! Profiles of 'Zarya' by Sormovich

above: Left: MedRes! Right: MedRes! 'Zarya' as "Rechnoy Voksal" as a waterbus - vizibusz
below: NoHigher! MAHART "Shuttle" - "Sikló" on Danube source: index.forum.hu
below: NoHigher! The saver Captain (Cosplayer Girl: Dirty Gamer Girls) source: Pinterest.com
below: 'Kolhida' SPK
above: NoHigher! KATRAN (10390) Hu. Nagy méretű folyam-tengeri személyszállító szárnyashajó
above: NoHigher! Yugoslavian 'Kolhida' "Katran" KVASNER EXPRESS on Adriatic-sea
above: NoHigher! Katran
above: MedRes! 'Kolhida': Hu. text: KOLKHIDA típus (10391) Nagy méretű folyam-tengeri személyszállító szárnyashajó A Katran továbbfejlesztett változata. Hossza 34,3 méter. Merülése bemerült állapotban 3,5 méter, szárnyakon való menetben 1,9 méter. Vízkiszorítása üresen 56,93 tonna, teljes terhelésnél 74 tonna.
above: MedRes! Kristen Bell american star actress from port of Hollywood. Down: white Up: red
Kristen Anne Bell (born July 18, 1980) is an American actress. She began her acting career starring in stage productions and attended the Tisch School of Arts in New York. In 2001, she made her Broadway debut as Becky Thatcher in The Adventures of Tom Sawyer and starred in the Broadway revival of The Crucible the following year. In 2004, she had a supporting role in the film Spartan and received praise for her first leading performance in Gracie's Choice. ... wikipedia.org/Kristen_Bell
above: Two: MedRes! Kolhida below: MedRes! Black-sea liner fleet by: riverfleet.ru
above: NoHigher! Italian Kolhida "Kolkhiavemar" Fast Ferry Service at Messina-straight
above: MedRes! Mix Pics below: NoHigher! Kolhida cockpit - Vezetőállás
above: MedRes! The resorting Helmsman's Kolhilda water-laying with ten AOA degrees Angle of Attack on the asphalt - A pihenő Hajóvezető/Kormányos Kolhilda vízfekvése 10 fokos állásszöggel az aszfalton: Lyn 27 by spookywooky hart dakegjd source: www.mellbimbo.eu
above & below: MedRes! Juci'bacsi's collection, Sextant's-scan from Soviet Export magazine 1985: HiRes! "Kolhida" Hydrofoil passenger ship - utasszállító szárnyashajó
below: similar to wing of hydrofoil the wavesurf plate with surfergirl.
above: HiRes! Movie graphics poster artwork about shark "Big-White" attacking to Hollywod star model-actress Brooklyn Decker who is water sking before jaws.
above: HiRes! Brooklyn Decker "after shark attack ..."
Brooklyn Danielle Decker Roddick (born April 12, 1987) is an American fashion model and actress best known for her appearances in the Sports Illustrated Swimsuit Issue, including the cover of the 2010 issue. In addition to working for Victoria's Secret for the 2010 "Swim" collection, she has ventured into television with guest appearances on Chuck, Ugly Betty, The League, and Royal Pains. She made her feature film debut in Just Go with It, and later starred in Battleship and What to Expect When You're Expecting. Decker is married to former tennis player Andy Roddick. ... wiki
above: NoHigher! 'Canon' Photomaker after pursuit action source: W4B-Watch For Beauty.com
above & below: NoHigher! Two decker 'Tsyklon' - 'Ciklon'
above: NoHigher! After effect Cyklon's speed-wave - Ciklonos gyorshullám utáni hatás by: fun_pics_for_adults
above: NoHigher! Cyclone - Ciklon
above: NoHigher!: New design Meteor-120M & Cyklon via: Gazeta-Rybinsk.ru
above: NoHigher! Ciklon-Projekt-3357 sudno morskoe passazhirskoe na podvodnyh krylyah Cziklon-250M, proekt-23170 below: HiRes! Yellow "Cyclone" trousers - Sárga "Ciklon" nadrág
18+above: HiRes! Cyclone trousers below: NoHigher! Ciklon-Projekt-3357
СУДНО МОРСКОЕ ПАССАЖИРСКОЕ НА ПОДВОДНЫХ КРЫЛЬЯХ ЦИКЛОН 250М ПРОЕКТ 23170
Судно морское пассажирское на подводных крыльях Циклон 250М Проект 23170 Морское пассажирское судно на подводных крыльях нового поколения «Циклон 250М» проекта 23170 предназначено для скоростных перевозок пассажиров в светлое время суток в салонах, оборудованных креслами авиационного типа. ...
source: https://rybinsk.all.biz/sudno-morskoe-passazhirskoe-na-podvodnyh-krylyah-g3357831#.WbELUvNJY4h
above: NEW! HiRes! Meteor-120R, New passenger hydrofoil ship from Chkalovsk source: facebook/Andrey Bogdanov
NoHigher! above: Italian 'Garda' FRECCIA "Albatros"
above: MedRes! Albatros tragflügel bootes (Supramar) below: HiRes! Drawings about it

above: MedRes! "Albatros" - "Albatrosz"
above: NoHigher! Czech Pin-Up Girl, Terezia Mia Has us seeing redec below: Diom

above: On the shipboard Left: MedRes! Candice Swanepoel World's topmodel source: Pinterest.com Right: HiRes! Tumblr source: www.mellbimbo.eu
Africaan - Boer text: Candice Susan Swanepoel (gebore 20 Oktober 1988) is ’n Suid-Afrikaanse mannekyn wat bekend is vir haar modelwerk vir Victoria’s Secret. ... af.wiki/Candice_Swanepoel
above: NoHigher! Italian Shining-star PT.50 in Messina-straight - szoros
above: HiRes! Nautical map: Messina-straight in Mediterranean-sea (crop) INT310
above: NoHigher! "Miss Messina"
above: HiRes! Full map (Unfortunately no because max. Res. FREE Google/Picasa only 1600-px.)
above: HiRes! Nautical map: Messina-straight in Mediterranean-sea (crop) INT310
above: NoHigher! "Miss Messina"
above: HiRes! Full map (Unfortunately no because max. Res. FREE Google/Picasa only 1600-px.)
above: NoHigher! Looking position for periscope: RENEE SOMERFIELD sexy nude pictures via photo artist ThrillBlender.com
Juci'bacsi's design collect from 1973.: above Two: MedRes! Multifunction periscope
above: HiRes! Juci'bacsi's: Wave Vessel-I. below: NoHigher! Wave vessel -II.- Hullámhajó for Maritime S.A.R. - Search And Rescue - Tengeri Kutató-Mentő actions also Courtesy FREE!
Boeing-308 'Stratoliner' as "Cosmic Muffin"

above: MedRes! Muffin inner space - belsőtér
above: NoHigher! Cosmic-Plane Boat "Muffin" from Boeing-307 "Stratoliner"
The Boeing Model 307 Stratoliner was the first commercial transport aircraft to enter service with a pressurized cabin. This feature allowed the aircraft to cruise at an altitude of 20,000 ft (6,000 m), well above many weather disturbances. The pressure differential was 2.5 psi (17 kPa), so at 14,700 ft (4,480 m) the cabin air pressure was equivalent to an altitude of 8,000 ft (2,440 m). The Model 307 had capacity for a crew of six and 33 passengers. The cabin was nearly 12 ft (3.6 m) across. It was the first land-based aircraft to include a flight engineer as a crew member (several flying boats had included a flight engineer position earlier). In addition to its civilian service it was also flown as the Boeing C-75 Stratoliner by the United States Army Air Forces, who used it as a long-range cargolift aircraft. ... https://en.wikipedia.org/wiki/Boeing_307_Stratoliner
above: MedRes! Tehnika Molodezshi 1972 - Technic for Youth - Technika Fiataloknak
above: HiRes! Soviet made graphics about Western Hydrofoils
above: MedRes! Boeing hydrofoil. Cutaway drawing key

above: MedRes! Boeing HF in New York Hudson-river

above: MedRes! NYC - New York City

above: MedRes! Boeing HF in New York Hudson-river

above: MedRes! NYC - New York City
above: MedRes! Boeing Hidrofoil in China source: Wikipedia
above: HiRes! Boeing-929
above: HiRes! TurboJET's Urzela JetFoil on West Lamma Channel, Hong Kong, China
above: NoHigher! N.Y.C - New York City port
above: NoHigher! Diana F. retro style fashion and photography
above: MedRes! New Design
above: NoHigher! Swimsuit Vintage Buttons Marine Look Retro Pattern Black Red Bow Rockabilly 50s-$_1 by: eBay
above: HiRes! TurboJET's 'Barca' Foilca in Hong Kong source: Wikipedia
above: NoHigher! Katamaran "Sochy - Szocsi": original image: pkpachtpapmpachrpapn chspochchpi_blackseanews
above: NoHigher! Sochy's Boatsman - a Szocsi Fedélzetmestere
above & below: MedRes! A/AK "Barsz" from Zelenogorszk shipyard - hajógyárból
below: NoHigher! A-145 Passenger space
above: NoHigher! "Mariner Joanna" Stewardess of A-145? via: VirtuaGirlHD
above: NoHigher! Hasbro toys: 'GI Joe's armed hydrofoil attacker vehicle
G.I. Joe is a line of action figures produced and owned by the toy company Hasbro. The initial product offering represented four of the branches of the U.S. armed forces with the Action Soldier (U.S. Army), Action Sailor (U.S. Navy), Action Pilot (Air Force), Action Marine (Marine Corps) and later on, the Action Nurse. The name derived from the usage of "G.I. Joe" for the generic U.S. soldier, itself derived from the more general term "G.I.". The development of G.I. Joe led to the coining of the term "action figure". G.I. Joe's appeal to children has made it an American icon among toys. ... https://en.wikipedia.org/wiki/G.I._Joe
above: NoHigher! Russian "Beerfoil" Energy Spare Boat - Energiatakarékos Csónak
above: NoHigher! Эскиз Р.Е. Алексеева катера А-8. Фото: Музей речного флота
above: NoHigher! Soviet Project about hidrofoil motor- kater - boat - csónak

above: Pin-Up graphic; Left: MedRes! Hilda sequence by Duane Bryers Right: MedRes! via: Pinterest
above: NoHigher! 'Riva' motorboat in 1949.
Egyveleg – Prada
https://youtu.be/H98nH-dvNUE?list=RDCMUCyKqxNOVX6e1kBKB23g8r6g
Hu. text article: Ez a vitorláshajó már nem is úszik, hanem inkább százzal repül a víz fölött
Sport - Tech: Mr. Fehér János 2021. március 13. – 15:01 by: Telex.hu
A vitorlázó Amerika-kupa az egyik legnagyobb tradíciókkal bíró sportverseny, másrészt nagyon is újító, a hagyományokat lazán értelmező esemény. A párharcban részt vevő vitorlások űrtechnológiát használva, a vizet olykor alig érintve, szinte repülőgépként közlekednek félelmetes tempóval.
Az Amerika-kupa szeret úgy hivatkozni magára, mint a világ legrégebbi, folyamatosan megrendezett sportversenye, és való igaz, hogy nem túl sok vetélytársa van az 1851-ben indult regattának, hiszen például az újkori olimpiákat is csak 1896 óta rendezik. A folyamatosságot kicsit hümmögve elfogadhatjuk, olykor húszévnyi szünet is belefért két verseny között, míg mostanra beállt a három-négy éves követés. ...
Az előző két Amerika-kupán merevszárnyas vitorlákkal felszerelt katamaránok küzdöttek egymással, és úgy tűnt, ennél gyorsabb hajókat nem is igen lehet fejleszteni, de mostanra kiderült, hogy egy egytestű hajóval is lehet száguldozni a vízen a 100 kilométer per órát közelítve. Nem, nincs motor ebben a vitorlásban, se látványosan, se rejtetten.
A 75 láb hosszú, AC75 típusú hajó futurisztikusra sikerült, mintha két óriási molnárpoloska-láb nyúlna ki a hajó két oldaláról, amelyekkel aztán a víz felszínén lehet tapicskolni. Ezek az úgynevezett uszonykarok (Ruják István szakíró találóan csirkelábaknak is nevezi ezeket) a tőkesúly nélküli hajó stabilizálásában is segítenek, de a végükön lévő T-uszonyok a repülésben is fontosak. Igen, ezek a vitorlások repülnek. Ha az AC75-ösök kellő sebességet érnek el, a hajótest kiemelkedik a vízből, és csak az uszonyaival érinti a vizet. A vitorlások akkor leggyorsabbak, ha a vízfelszín és a hajó feneke között kicsi a távolság. Mielőtt vízre tették ezeket a hajókat, a szimulációk 50 csomós (92,6 km/h) elérhető sebességet jeleztek előre, és ezt már a vízen is elérték, sőt túl is szárnyalták. Az Amerika-kupa előversenyén, a febuári Prada-kupán az amerikai csapat Patriot nevű hajójával 53,31 csomós (98,73 km/h) maximális sebességet ért el. ... https://telex.hu/sport/2021/03/13/amerika-kupa-vitorlazas-urtechnologia-repulo-vitorlasok-uj-zeland-80-km-h-sebesseg
American Magic AC75 Capsize! Full story+aftermath of Prada Cup Day 3. America's Cup.
https://youtu.be/vBUTJG3Hf_s
Capsize, recovery and shots of damage in this report on Day 3 of Prada Cup in Auckland.
Reporter: Alec Wilkinson.
above: NoHigher! Italian Idroplano 'Forlani' Hydrofoil from 1910. source: Wikipedia
above: MedRes! Germany TF-10-2 from 1963. Jarbuch der Schiffahrt
above: NoHigher! Vintage marine suit fashion -RETRO- Ódivatú Matróz öltözet via: Pinterest
Nauti-Craft Marine Suspension Technology
Nauti-Craft Pty Ltd is a small research and development company focused on the design and development of the Nauti-Craft marine suspension system. This technology separates the vessel’s hulls from the deck and superstructure via a ‘passive reactive’ interlinked hydraulic system which enables a significant departure from conventional naval architecture compromises and provides increased levels of ride comfort, control and stability whether stationary or traveling at speed. http://www.nauti-craft.com
above: NoHigher! Stern positure - Hátsó testhelyzet via: Pinterest
below: MedRes! See you again!, far away port of Odessa at Black-sea
FIN!






















































































































































































































































































































































































































































































































































































































































































































































































































































































































































