#Citroën #DS-19 & 21 "#Déesse"-"#Pallas" ("#Cápa"), #Hydropneumatics #suspension system. #Française #classic-car. In#Memoriam J. P.#Belmondo. Général de#Gaulle. The day of the #Jackal - A #Sakál#napja (#Wikipedia)
18+Uploaded: 137%: 18.08.2024. Added to:+++++++++++++++++:+:++:++++:+++:+:++:+:+++

Merry Christmas! - Kellemes Karácsonyt!

above: NEW! MedRes! LA DÉESSE – DIE GÖTTIN · CITROËN DS 23, BJ. 1973. source: Broooom.com/Pinterest.com
above: NoHigher! Vine 'Gailo': Heidi Range Sugababes singer in red suit.
Heidi India Partakis (née Range; born 23 May 1983. -age 36- Liverpool, England) is an English singer-songwriter. She is best known for being a former member of the group Sugababes. Range was an original member of girl group Atomic Kitten, although she left the group two years before releasing any material. In 2001 Range replaced Siobhán Donaghy of the Sugababes and had accumulated six UK number one singles as well as two number one studio albums with the group before splitting in 2011. Range has since concentrated on theatre work. ... https://en.wikipedia.org/wiki/Heidi_Range
above: NEW! MedRes! Citroën DS-21 'Pallas'
Hu. text: cartárs Blog: A legvagányabb veteránautók; 1971 Citroën DS
Mikor a Citroën 1955-ben bemutatta a DS-t, a szaksajtó egybehangzó véleménye szerint az „Istennő” sokkal inkább tűnt űrhajónak, mint autónak. Kicsit több, mint 60 évvel később ez még mindig így van. Egy elképesztően elegáns, stílusos formaterv, ami még mai szemmel is roppant kifinomult technológiát takar. Felsorolni is hosszú lenne. Nem is tesszük. Inkább csapd fel a napszemcsidet, huppanj be a DS volánja mögé és száguldj el a naplementébe, miközben a hidropenumatikus futómű lágyan ringat a fantasztikusan jó magyar utakon.
"Elő kellene vennem a Szánt"
above: NoHigher! Citroën DS-19 Rally Monte Carlo
En. text: The Citroën DS (French pronunciation: [si.tʁɔ.ˈɛn de ɛs]) is a front-engine, front-wheel-drive executive car that was manufactured and marketed by the French company Citroën from 1955 to 1975 in sedan, wagon/estate and convertible body configurations. Italian sculptor and industrial designer Flaminio Bertoni and the French aeronautical engineer André Lefèbvre styled and engineered the car. Paul Magès developed the hydropneumatic self-levelling suspension.Noted for its aerodynamic, futuristic body design and innovative technology, the DS set new standards in ride quality, handling, and braking—and was the first production car equipped with disc brakes.
Citroën sold 1,455,746 examples, including 1,330,755 built at the manufacturer's Paris Quai André-Citroën production plant.
The DS placed third in the 1999 Car of the Century poll recognizing the world's most influential auto designs and was named the most beautiful car of all time by Classic & Sports Carmagazine. ...
Fr. text: La DS, et sa déclinaison simplifiée la Citroën ID, est commercialisée par Citroën entre 1955 et 1975, tout d'abord en berline puis en break et cabriolet. Le « D » vient probablement de l'usage du moteur le plus récent alors de Citroën, le « moteur série D », qui équipait la Traction11 D jusqu'en juillet 1957. L'ID et la DS reprennent le même principe de la traction par l'avant, qui a fait la renommée de Citroën.
Dessinée par le sculpteur et designer italien Flaminio Bertoni en collaboration avec André Lefebvre, ingénieur issu de l'aéronautique, et l'ingénieur hydraulicien Paul Magès, cette automobile est révolutionnaire par bien des aspects. À l'origine, son long capot est prévu pour accueillir un moteur 6-cylindres, mais tant le 6-cylindres en ligne de la 15, que celui à plat, ne purent être adoptés, pour cause de mise au point non aboutie et d'encombrement car ce moteur 'pénétrait' dans l'habitacle. Son nom de code est « VGD » (Véhicule de grande diffusion3), la conception du projet étant lancée par le PDG de Citroën Pierre-Jules Boulangerpuis son successeur Pierre Bercot. Elle est l'« attraction » du salon de l'automobile en 1955. Elle est dotée d'une ligne extrêmement audacieuse, qualifiée même de révolutionnaire, et d'un confort intérieur remarquable grâce à sa suspension hydropneumatique spécifique à la marque. La DS comporte également de nombreuses innovations techniques qui la démarquent du monde de l'automobile de son époque en Europe : direction assistée, boîte de vitesses à commande hydraulique, freins à disque à l'avant, pivot de direction dans l'axe et, à partir des années 1968-1969, phares pivotants et introduction de l'électronique (moteur à injection). Innovation de sécurité importante : le volant de direction monobranche, conçu pour éviter de briser la cage thoracique du conducteur en cas de choc frontal violent. Sur le tachymètre des modèles dotés du dernier tableau de bord seront également rappelées les distances de freinage associées aux principales vitesses sur route.
La DS est vite adoptée par les cadres supérieurs et les notables puis par les stars et les élus de la République, jusqu'au général de Gaulle qui en fait la voiture officielle de la présidence(qui lui sauvera la vie au cours de l'attentat du Petit-Clamart ).
En 1999, la DS fut récompensée en arrivant en troisième position du concours international Car of the Century derrière la Ford Model T et la Mini. Cette même année, elle fut nommée la plus belle voiture de tous les temps par le magazine Classic & Sports Car. ...



Dessinée par le sculpteur et designer italien Flaminio Bertoni en collaboration avec André Lefebvre, ingénieur issu de l'aéronautique, et l'ingénieur hydraulicien Paul Magès, cette automobile est révolutionnaire par bien des aspects. À l'origine, son long capot est prévu pour accueillir un moteur 6-cylindres, mais tant le 6-cylindres en ligne de la 15, que celui à plat, ne purent être adoptés, pour cause de mise au point non aboutie et d'encombrement car ce moteur 'pénétrait' dans l'habitacle. Son nom de code est « VGD » (Véhicule de grande diffusion3), la conception du projet étant lancée par le PDG de Citroën Pierre-Jules Boulangerpuis son successeur Pierre Bercot. Elle est l'« attraction » du salon de l'automobile en 1955. Elle est dotée d'une ligne extrêmement audacieuse, qualifiée même de révolutionnaire, et d'un confort intérieur remarquable grâce à sa suspension hydropneumatique spécifique à la marque. La DS comporte également de nombreuses innovations techniques qui la démarquent du monde de l'automobile de son époque en Europe : direction assistée, boîte de vitesses à commande hydraulique, freins à disque à l'avant, pivot de direction dans l'axe et, à partir des années 1968-1969, phares pivotants et introduction de l'électronique (moteur à injection). Innovation de sécurité importante : le volant de direction monobranche, conçu pour éviter de briser la cage thoracique du conducteur en cas de choc frontal violent. Sur le tachymètre des modèles dotés du dernier tableau de bord seront également rappelées les distances de freinage associées aux principales vitesses sur route.
La DS est vite adoptée par les cadres supérieurs et les notables puis par les stars et les élus de la République, jusqu'au général de Gaulle qui en fait la voiture officielle de la présidence(qui lui sauvera la vie au cours de l'attentat du Petit-Clamart ).
En 1999, la DS fut récompensée en arrivant en troisième position du concours international Car of the Century derrière la Ford Model T et la Mini. Cette même année, elle fut nommée la plus belle voiture de tous les temps par le magazine Classic & Sports Car. ...
above: NoHigher! Brigitte#Bardot "BB" famous french actress between DS 21 & 19 source: pinterest
Brigitte Anne-Marie Bardot (/brɪˌʒiːt bɑːrˈdoʊ/, French: [bʁiʒit baʁdo] born 28 September 1934. -age 85- Paris, French Third Republic), often referred to by the initials B.B., is a French former actress and singer, and animal rights activist. Famous for portraying sexually emancipated personae with hedonistic lifestyles, she was one of the best known sex symbols of the 1950s and 1960s. Although she withdrew from the entertainment industry in 1973, she remains a major popular culture icon.
Born and raised in Paris, Bardot was an aspiring ballerina in her early life. She started her acting career in 1952. She achieved international recognition in 1957 for her role in the controversial And God Created Woman, and also caught the attention of French intellectuals. She was the subject of Simone de Beauvoir's 1959 essay The Lolita Syndrome, which described her as a "locomotive of women's history" and built upon existentialist themes to declare her the first and most liberated woman of post-war France. Bardot later starred in Jean-Luc Godard's 1963 film Le Mépris. For her role in Louis Malle's 1965 film Viva Maria! she was nominated for a BAFTA Award for Best Foreign Actress.
Bardot retired from the entertainment industry in 1973. She had acted in 47 films, performed in several musicals and recorded more than 60 songs. She was awarded the Legion of Honour in 1985 but refused to accept it. After retiring, she became an animal rights activist. During the 2000s she generated controversy by criticizing immigration and Islam in France, and she has been fined five times for inciting racial hatred. ... https://en.wikipedia.org/wiki/Brigitte_Bardot
above: NEW! NoHigher! Juci'bácsi's scan collect: Hu. edition 'Technika' magazine booklet t2 issue: Citroëns Upper: DS21 Lower: SM, by: MK - Műszaki Könyvkiadó Budapest 1973.
above: NEW! MedRes! Citroen SM source: Pinterest.com
above: NEW! NoHigher! Paris #Notre-Dame chatedral - katedrális source: www.mellbimbo.eu
En. text: Notre-Dame de Paris (/ˌnɒtrə ˈdɑːm, ˌnoʊtrə ˈdeɪm, ˌnoʊtrə ˈdɑːm/; French: [nɔtʁə dam də paʁi] (About this soundlisten); meaning "Our Lady of Paris"), often referred to simply as Notre-Dame, is a medieval Catholic cathedral on the Île de la Cité in the 4th arrondissement of Paris, France. The cathedral is consecrated to the Virgin Mary and considered to be one of the finest examples of French Gothic architecture. Its innovative use of the rib vault and flying buttress, its enormous and colourful rose windows, and the naturalism and abundance of its sculptural decoration set it apart from the earlier Romanesque style. ... https://en.wikipedia.org/wiki/Notre-Dame_de_Paris
Fr. text: La cathédrale Notre-Dame de Paris, communément appelée Notre-Dame, est la cathédrale de l'archidiocèse de Paris, située sur l'île de la Cité. Dédiée à la Vierge Marie, pendant de nombreux siècles cette cathédrale est l'une des plus grandes d'Occident. Longtemps la plus haute construction de la ville, elle est l'un des monuments les plus emblématiques de Paris. Elle a inspiré de nombreuses œuvres, notamment le roman de Victor Hugo Notre-Dame de Paris. Au début du xxie siècle, la cathédrale est visitée chaque année par quelque 13 à 14 millions de personnesa. L’édifice, aussi basilique mineure, est ainsi le monument le plus visité en France et en Europe et l'un des plus visités au monde. ...
61.) Morane Saulnier MS-760 'Paris' (Párizs) Jet l'ancètre des bizjet, le ''véhicule de liaison'' des généraux - et amiraux - français des 60's ! l'Aéronautique navale -Párizs - Paris he Movie mattei case - Gian Marian Volonté - Cinema: https://szextant.blogspot.com/2014/04/61-morane-saulnier-ms-760-paris-parizs.html
La Marseillaise, sung by Mireille Mathieu. American English subtitles.
Performance at the foot of the Eiffel Tower in 1989 for its 100th anniversary. Mireille Mathieu sings La Marseillaise, the French national anthem. According to reports at the time, "Mathieu sang the anthem of France so grandly and shrewdly that tears welled up across the country, many patriotic citizens even needed medical treatment." Ten years later, she was awarded the Medal of the French Legion of Honor.
My translation to American English, weighing literal accuracy, lyrical style, and contemporary US context. https://youtu.be/7MQ-SC9bmp4
above: NEW! NoHigher! In Memoriam: #Jean-Paul#Belmondo - A pied à cheval en voiture - Jean-Paul Belmondo - On foot on horseback by car - Jean -Paul Belmondo - A Gyalog, lovon, kocsin (1957) source: PPS: Hommage à Jean-Paul Belmondo
above: NEW! HiRes! 1964. France, Paris: Rue Saint-Jacques, viewed from the Seine, with the corner of Quai Saint-Michel in the foreground. DONOR: MZSL / Károly Ofner PHOTO NUMBER: 41973
- 1964. Franciaország, Párizs: Rue Saint-Jacques a Szajna felől nézve, előtérben a Quai Saint-Michel sarka. ADOMÁNYOZÓ: MZSL/Ofner Károly KÉPSZÁM: 41973 source: FORTEPAN.hu
In Memoriam: Alain Delon 88. 2024.08.17.
Alain Delon: Hu. text: Miközben Hollywoodban próbálkozott a francia akcentusát levetkőzni, megtalálta őt Jean-Pierre Melville rendező, akinek aztán a karrierje ikonikus szerepét köszönheti: az 1967-es A szamuráj bérgyilkosaként Delon megtestesített egy olyan mértékű hűvös menőséget, ami még évtizeddel később is hullámokat vetett, többek között olyan rendezők filmjeiben, mint John Woo (A bérgyilkos) vagy Jim Jarmusch (Szellemkutya).
Le SamouraÏ - 4K Restoration Trailer
In a career-defining performance, Alain Delon plays Jef Costello, a contract killer with samurai instincts. After carrying out a flawlessly planned hit, Jef finds himself caught between a persistent police investigator and a ruthless employer, and not even his armor of fedora and trench coat can protect him. An elegantly stylized masterpiece of cool by maverick director Jean‑Pierre Melville, Le samouraï is a razor-sharp cocktail of 1940s American gangster cinema and 1960s French pop culture—with a liberal dose of Japanese lone-warrior mythology. https://youtu.be/PTFV07ah4fY
Citroen DS19: A Scene from LE SAMOURAÏ https://youtu.be/eAIj412aeQA
Le SamouraÏ - 4K Restoration Trailer
above: NEW! NoHigher: '#Moulin#Rouge' graphics art by Hu. Ms. Révész Gabriella Éva artist source:
above: HiRes! Rear view of Citroën DS 20 source: mvagusta.net top: NEW! NoHigher! source: pinterest.com
above: classical Citroën logo
above: NoHigher! The shark's gill/branchia - Cápa kopoltyú
Hu. text article: Retró járgányok:
Országos Citroen DS találka volt Veszprémben (Videó).
Manapság is ámélkodva nézik az emberek a Citroen DS-t. Tessék elképzelni mit okozott, amikor 1955. október 5-én bemutatkozott a Párizsi Autószalonon. ... https://www.veol.hu/helyi-eletstilus/2022/06/orszagos-citroen-ds-talalka-volt-veszpremben-video?utm_source=facebook&utm_medium=social&utm_campaign=veol&fbclid=IwAR2eGX86DDmzJH604fEJ1qJI0c-uO6WKaUsONXE31bf6Hd6uQoG9xAuktMo
above: NEW! NoHigher! Hu. Politican Mr. Navracsics Tibor with her favourite type on the Old Timer autos exhibition in Ajka-city Veszprém county. source: 'Ajkai Szó' 2024. Július newspaper editor-in-chief Mr. Lékó Sándor e-mail
My Best Favourite Car the Citroën DS
above: NoHigher! Book cover: Citroën DS 21 "The world's most beautiful car" by Daniel Denis & Thibaut Amant - "A világ legszebb autója Citroën DS" könyvborító source: speedreaders.info
Ouverture IDéeSse a Rimini, aprile 2015
In vista del prossimo raduno di Rimini, previsto per il prossimo 21 e 22 aprile, riguardiamoci il bel video realizzato da Roberto Alfieri in occasione dell'edizione 2015, dove festeggiavamo anche il 60° compleanno della Dea delle automobili.
ID (Idée = ötlet, idea)

above: MedRes! Citroën ID 19 prospekte with 'Eiffel' tower. source: Pineterest.com Right: HiRes!
Saiid Kobeisy Spring-Summer 2015. jaglady Eiffel below: NoHigher! Constantin Rasumov
above: MedRes! prospekte source: citroenet.org.uk

the "Shark" - "a Cápa"
above: MedRes! Citroën DS 19 -Motor Magazine- Jan.1956. source: dsinasia.com
above: NoHigher! Mikulnhicza below: NEW! NoHigher! DS-21 Neederland, Amsterdam
above: NEW! NoHigher! Citroën DS-21 source: pinterest
above: NoHigher! DS 21 cutaway artwork by: Pinterest
above & below: NoHigher! DS 19 with Belgian SABENA's french Jet airliner Sud Aviation/Aérospatiale SE.210 'Caravelle'
Gépajtók - Airliners' doors: http://szextant.blogspot.hu/2016/07/184-gepajtok-aircrafts-doors-airliners.html
210s; Messerschmitt, SE-210 Caravelle - Renault: http://szextant.blogspot.hu/2018/03/210-210s-kettotizesek-messerschmitt-me.html

above: MedRes! Citroën DS 19 Skodaman & Guy source: jeepee.forum2go.nl
above: NEW! HiRes! (Edited!) Juci'bácsi's retro scan collection: Citroën DS-19 & DS-19 'Cophard' cabriolet, scale 1:16 by 'Heller' model 1993. catalogue
above: NoHigher! Moderne Déesse as Pallas Athene 3D graphics artwork
Hu. text: Citroën DS:
A zseniális André Lefebvre tervezőmérnök és az elképesztően tehetséges Flaminio Bertoni által megalkotott Citroen DS méltán az autóipar istennője és nemcsak a neve miatt (DS, vagyis déesse, tehát istennő). Az 1955-ben megjelent autó gyönyörű formaterve messze megelőzte korát, ráadásul a szép karosszéria innovatív technikai megoldásokat rejtett.
Elöl-hátul hidropneumatikus futómű, a világon a sorozatgyártott autók közül elsőként első tárcsafékek, a kuplung nélküli, félautomata sebességváltó és az egyküllős kormánykerék egytől egyig kiemelték a DS-t a tömegből. Nem véletlen, hogy 1955. október 5-én, a debütálásakor egyetlen nap alatt 12 ezer megrendelés érkezett az autóra. A Citroen végül 20 évig, 1975-ig gyártotta a modellt, ez idő alatt 1,45 millió darab hagyta el a gyártósort. A franciák 2009-ben, a Citroen DS3-mal újra piacra dobott egy DS-t, mára pedig külön márkát is kapott a DS, jelenleg ezeket az autókat a DS Automobiles neve alatt vásárolhatjuk meg.
Elöl-hátul hidropneumatikus futómű, a világon a sorozatgyártott autók közül elsőként első tárcsafékek, a kuplung nélküli, félautomata sebességváltó és az egyküllős kormánykerék egytől egyig kiemelték a DS-t a tömegből. Nem véletlen, hogy 1955. október 5-én, a debütálásakor egyetlen nap alatt 12 ezer megrendelés érkezett az autóra. A Citroen végül 20 évig, 1975-ig gyártotta a modellt, ez idő alatt 1,45 millió darab hagyta el a gyártósort. A franciák 2009-ben, a Citroen DS3-mal újra piacra dobott egy DS-t, mára pedig külön márkát is kapott a DS, jelenleg ezeket az autókat a DS Automobiles neve alatt vásárolhatjuk meg.
Az 1955-ben bemutatott Citroën DS nem érdemtelenül kapta az „istennő” megnevezést. Bemutatásakor a DS annyira futurisztikusnak és földöntúlinak hatott, hogy azonnal óriási népszerűségre tett szert, ami azóta is tart, hiszen a DS egyet jelent a kortalan szépséggel. Már az első nap végére több mint 12.000 darabot értékesítettek belőle. Nem pusztán a vízcsepp formájú, áramvonalas kasztni, de a hidropneumatikus futómű, a négy tárcsafék (ez volt az első sorozatgyártású autó, ahol alkalmazták), a szervokormány, vagy az üvegszálas tető mind-mind olyan újdonságok voltak, melyek leginkább egy sci-fi film kellékének tűntek 1955-ben. Arról már nem is beszélve, hogy 1967-től a fényszórók már a kormány elfordításával együtt fordultak, hogy mindig azt az útszakaszt világítsák meg, amerre az autó éppen halad. Nem véletlenül érdemelte ki a DS az Évszázad autója szavazáson a harmadik helyet (a Ford T modell és a Mini mögött). http://cartars.blog.hu/2018/02/21/a_leginnovativabb_francia_autok
above: NEW! NoHigher! Citroen DS 19 on bank of Seine river in Paris photo: petrolicious.com source: pinterest.com
above: NEW! MedRes! Hu. text: Csak az orrát mutatjuk, de az 1958-as Citroën DS 19 'Chapron Le Dandy' így is elhomályosítja a háttérben megbújó #Ferrarit. (Fotó: Nagy Attila Károly / Index)
Hu. text: 2018. szept.06. Csütörtökön megnyílt Bázelben a kontinens legújabb autókiállítása, a Grand Basel. Svájcnak van már ugyan patinás autóshow-ja (a genfi szalon), de a négynapos bázeli esemény egész más dimenziókban mozog. Megkockáztatom: a világ egyik, ha nem a legexkluzívabb autóbemutatóját hozták össze a szervezők. ...
above: NEW+! HiRes! Juci'bacsi's Scan of original Citroën ID-19 prospekte from early 1960's by Hu. R.I.P. Mr. Miller József"s -79 y.o. In Memoriam (VBKM works' electric engineer) legacy - hagyatékából -Budapest II. ker. Pesthidegkút- (to be Contiuning!)
above: NoHigher! Prospekte of Citroën DS-19 "Pallas" source: pinterest.com
above: NEW! MedRes! Riley Keough sexy and toplesss for 'Vanity fair' magazine september 2023.
En. text: Danielle Riley Keough (/ˈkiːoʊ/ KEE-oh; born May 29, 1989 (age 35)
Santa Monica, California, U.S.) is an American actress. She made her feature film debut in a supporting part in the musical biopic The Runaways (2010), portraying Marie Currie. Keough subsequently starred in the independent thriller The Good Doctor (2011), before being cast in a minor role in Steven Soderbergh's comedy film Magic Mike (2012). She had her first big-budget release in the action feature Mad Max: Fury Road (2015). ... https://en.wikipedia.org/wiki/Riley_Keoug
187.) Tatra T-87 "Tatraplan" Czechoslovakien Book of World- journeys Their car - Jiří Hanzelka & Ing. Miroslav Zikmund. ČS. Moravia Kopřivnice: T-77, T-600, T-603, Vignale's T-613: https://szextant.blogspot.com/2016/10/187-tatra-t-87-tatraplan.html
above: NoHigher! source: Pallasauto.co.uk-timthumb.php
HiRes! above: Unfortunately the rear seat row not to reach three places - Sajnos a hátsó üléssor nem bírja a 3 férőhelyet. She similars to Megan#Fox <Instead of a "rabid dog running around" the back window is also very good - "Bólogató kutya" helyett a hátsó ablakba is nagyon jó> below: NEW! (Crop!) source: mellbimbo.eu
Megan Denise Fox (born May 16, 1986. -age 33- Oak Ridge, Tennessee, U.S.) is an American actress and model. She began her acting career in 2001, with several minor television and film roles, and played a regular role on the Hope & Faith television sitcom. In 2004, she made her film debut with a role in the teen comedy Confessions of a Teenage Drama Queen. In 2007, she co-starred as Mikaela Banes, the love interest of Shia LaBeouf's character, in the blockbuster action film Transformers, which became her breakout role. Fox reprised her role in the 2009 sequel, Transformers: Revenge of the Fallen. Later in 2009, she starred in the black comedy horror film Jennifer's Body. In 2014, Fox starred as April O'Neil in Teenage Mutant Ninja Turtles, and reprised the role in Teenage Mutant Ninja Turtles: Out of the Shadows (2016).
Fox is considered a sex symbol and has appeared in magazines such as Maxim, Rolling Stone, and FHM. ... https://en.wikipedia.org/wiki/Megan_Fox
NoHigher! NEW! Afghan agar in Cabrio & Right: NEW! Citroën DS Cabriolet de série by Henri Chapron source: Pinterest.com
18+above: NoHigher! Real sculpture
above: NoHigher! Citroen DS 21 Flying decapotable graphics retouche by Munkhammar
above: MedRes! UFO Citroen DS 19 1960. -autoweek-

above: Rocket style DS 19 on exhibition: Left: MedRes! Right: NoHigher! source: Pinterest
above: NEW! NoHigher! DS-19: CITROEN, SORUE, MICHELIN source: Pinterest.com
above: MedRes! Citroën DS 19 cabrio outsourced building a convertible version of the DS to the Henri Chapron carrosserie of Paris below: MedRes! Wedding source: oldtimerarchiv.com
NEW! In memoriam Surányi Endre
above: Surányi Endre szeretett feleségével és a kislányukkal a járdán. 100 Az autólógus-elsotorpemkics
Personal letter - Személyes levél: Hu. text: Jucibá', kedves Kollégám!
Örömet szereztél nekem a de Funes mögötti, Citroen anyaggal!
Ugyanis apósom, Surányi Endre ( 1913 - 1996 ) alezredes, a HM Páncélos és Gépjármű Főnökség osztályvezetője, többszörös magyar bajnok motorkerékpár versenyző, Európa bajnok, stb. motorcsónak versenyző, egyike volt az első hazai Citroen ID-19 tip. gk-. tulajdonosainak a '60-as évek legelején!
A másik, prof. Dr. Tóth Pál László matematika professzor, a MTA tagja.
Apósom volt itthon az első, aki kiismerte és javítani tudta a jármű bonyolult hidraulika rendszerét, beleértve a típus visszatérő hibáját, a légrugók membránjainak gyakori szakadását, s megoldva azok membrán cseréjét, s azt követően a gázzal történő feltöltését!
Ezzel együtt több műszaki megoldása volt a típus egyéb "gyermekbetegségeinek" megoldására, amit - katonaként megkapva a szükséges engedélyeket - a gyártó céggel kapcsolatba lépve részükre továbbított. A cég befogadta megoldási javaslatait, s azok többsége már megjelent a DS-19 típusban!
Apósom közel két tucat / autó-, motorkerékpár-, motorcsónak tárgyú / szakkönyvet írt.
"Az autó" és a "Gépjárművezetők vizsgakönyve" c. munkái bő évtizeden át a jogosítvány megszerzésére készülők felkészülésének alapvető tananyagai voltak! Ezekben elsőként alkalmazta a fejezetek lezárását követő Ellenőrző Kérdések módszerét, melyekben a leírtakból összeállított kérdésekre rövid, a lényeget összefoglaló választ is megadja!
Könyvein, szakmai füzetein túl több száz cikket írt különböző folyóiratokban, ezekben szakmai igényességgel, humorosan népszerűsíti a gépjárművekkel, azok vezetésével kapcsolatos ismereteket.
Érdekességként elmondom, hogy a moszkvai "Zsukovszkij" Repmérnöki Akadémián folytatott tanulmányaim idején / 1966 - '71 / apósomék két alkalommal látogattak meg bennünket: először ID-19-es, másodszor már DS-19-es kocsival .
A járművek minkét alkalommal nagy feltűnést keltettek Moszkvában!
Megjegyzem, első kijövetelük idején a Kiev - Moszkva autópályáról letérve bementek Klusino-ba, Juríj Gagarin szülőfalujába, ahol a szülőházban apósom a fronton, Peti sógorom a suliban tanult orosz nyelvtudásuk felhasználásával beszélgettek az első űrhajós szüleivel!
Üdvözlettel: Kocsis László
above: NEW! NoHigher! Hu. text: Surányi Endre építette a Typ 47-es kiskocsit 1955-ben.
Surányi Endre 100: Az autólógus - I. rész
2013.12.23.
Hírszerkesztő: Idén lenne száz éves a magyar motor- és motorcsónak sport, a műszaki tudományok a magyar publicisztika kiemelkedő személyisége, hazánk egyik nagy polihisztora. ... https://www.autoszektor.hu/hu/content/suranyi-endre-100-az-autologus-i-resz
Elhunyt Surányi Péter:
INFOSTART - 2020. december 21.
Az egyik legismertebb és legelismertebb hazai autós újságírót, aki az InfoRádió szakmagazinjának is évtizedes partnere volt, 73 éves korában érte a halál.
"Nagy veszteség ért minket. Ha nem róla volna szó, akkor bizonyára a szokásos fordulattal (súlyos betegség) tudatnánk, elhunyt Surányi Péter. Ha itt volna még közöttünk, szólna: nem kell mellébeszélni, írjátok úgy, megölte a rák. A tiszta beszéd, a tények híve volt, eszerint írt és ezt várta el munkatársaitól is" – emlékezett meg Surányi Péterről az általa alapított azauto.hu.
A nekrológból kiderül, hogy otthonról hozta az autózás szeretetét. Édesapja, Surányi Endre (a legendás Bandi bácsi) a magyar autós újságírás doyenje, még 75 éves kora felett is robogóval szelte az utakat. Péter, atyai örökség, nem különben. Lehetett volna mérnök vagy feltaláló, mégis autós újságíró lett. Pályája 1974-ben kezdődött, az akkori egyetlen autós lap, az Autó-Motor szerkesztőségében....

Citroen DS 19 on Rallye: above: Left: MedRes! auto.com Right: MedRes! Maraton Pinterest
above: NEW! HiRes! 1966. Hungary, Szeged city - Röszke border station. MR - Hungarian Police Magazine - 1966. Magyarország, Szeged - Röszke határállomás. MR - Magyar Rendőr magazin source: FORTEPAN.hu
above: NEW! MedRes! 1967. Balatonakarattya, Hungary, on Highway 71st, Citroen DS car on the outskirts of the town. DONOR: Mr. István Péterffy PHOTO NUMBER: 142026
- 1967. Magyarország, Balatonakarattya a 71-es főút, Citroen DS típusú személygépkocsi a település határában. ADOMÁNYOZÓ: Péterffy István KÉPSZÁM: 142026 source: FORTEPAN.hu
above: NEW+! NoHigher! Road Stopper old school hotness - Autóstoppos idős iskolás csaj: Iconic american actress, Liz Taylor source: Pinterest.com
Dame Elizabeth Rosemond Taylor DBE (February 27, 1932 – March 23, 2011) was a British-American actress, businesswoman, and humanitarian. She began her career as a child actress in the early 1940s, and was one of the most popular stars of classical Hollywood cinema in the 1950s. She continued her career successfully into the 1960s, and remained a well-known public figure for the rest of her life. In 1999, the American Film Institute named her the seventh-greatest female screen legend. ... https://en.wikipedia.org/wiki/Elizabeth_Taylor
above: NEW! NoHigher! Citroen DS 1965. car accident in Benin
above: NEW! HiRes! 1966. France, Paris: Rue Bonaparte from Rue de l'Abbey to Rue Jacob. DONOR Mr. József Csőke PHOTO NUMBER 30240 - 1966. Franciaország, Párizs Rue Bonaparte a Rue de l'Abbey felől a Rue Jacob felé nézve. ADOMÁNYOZÓ Csőke József KÉPSZÁM 30240 source: FORTEPAN.hu
above: NoHigher! Wheel shackles on DS 21 in London - Kerékbilincs creatuvereview.co.uk
above: NEW! NoHigher! "Citro-lady" source: tumblr.com/pinterest.com
above: NoHigher! Soviet Red Army soldier beside 1968 Citroen DS'ID 19 Saloon in East Berlin
Number of interesting photos sent to us by Andrew Kostin from Moscow (Russia) who is a collector of old photos. Can we identify this photo of a vehicle photographed in the USSR. -- This is a French car made in Paris, company owned by Michelin tyres, and is the follow on to famous Traction Avant. Took 18 years to develop and was launched in 1955 at Paris Motor Show where 743 were ordered in the first 15 minutes, and 12,000 on the first day!! This is a cca 1968 Citroen DS' ID 19 Saloon. http://www.svvs.org/help85.shtml
18+above: NEW! NoHigher! Sorry! Citroën DS 21 "Standart Sunray" Convertible aussiefrogs
above: NoHigher! Watercolor - Aquarelle paint of DS 19 by Yoshiharu Miyakawa
above: NEW! HiRes! (Edited!) Juci'bácsi's retro scan collection: Citroën 15CV 'Traction Avant' scale 1:8 by 'Heller' model 1993. catalogue
above: NEW! NoHigher! Citroën "Logo-Lady" in 'Pin-Up' style source: pinterest
above: NEW! NoHigher! Coin of Andre Citroen érme 2140-v source: coin-database
Fr. text: André Citroën, né le 5 février 1878 à Paris 9e au 44, rue Laffitt, et mort le 3 juillet 1935 à Paris 16e, est un ingénieur polytechnicienfrançais, pionnier de l'industrie automobile, fondateur de l'empire industriel automobile de même nom en 1919.
C'est l'une des figures les plus importantes de l’industrie automobile. Son œuvre dépasse les frontières françaises, tant les méthodes de production et de marketing à grande échelle qu'il introduisit ont révolutionné le domaine2. L’Amérique où s’invente la production moderne de l’automobile est devenue la référence d’André Citroën. Il désire être le « Henry Ford européen », appliquant les méthodes du fordisme ajoutées à l’exigence et l’innovation technique, et construire une voiture populaire pour mettre l’automobile à la portée du plus grand nombre3.
André Citroën ne s'est pas fait connaître comme ingénieur automobile, mais en tant qu'industriel. Sa gestion de l'entreprise et son charisme plus que son « génie de l'invention » lui ont permis de s'entourer de grands noms et de talents de l'époque. Il a su les motiver grâce à un entregent hors pair3. Il a également su apporter les techniques développées en Europe, notamment de l'Allemagne, et d'outre-Atlantique. André Citroën n'a pas plus inventé la traction avant qu’il n’a été le premier à avoir commercialisé une voiture dotée de cette technique ; mais la firme met au point un joint homocinétique plus simple et plus fiable que ses prédécesseurs. Les Citroën 7, 11 et 15 « traction avant » restent les premières automobiles à avoir popularisé cette technique, au point d'être devenues dans le langage courant les « Tractions ». Il est également réputé pour son savoir-faire médiatique, à l'image de la formidable campagne orchestrée lors du lancement de la Traction Avant. Le slogan « En avant ! » devient le symbole de la firme3.
Malgré ces nombreuses qualités, le goût pour la démesure d'André Citroën et l'expansion trop rapide de sa firme mènent la société Citroën à la liquidation judiciaire, puis à sa reprise par Michelin pour éviter la faillite. ... https://fr.wikipedia.org/wiki/Andr%C3%A9_Citro%C3%ABn
above: NEW! MedRes! Hu. text: Citroen-Avant, Párizs, Franciaország, 1979. december 18. Salvador Dalí kiállítása - exhibition Beaubourgban source: Getty Images / index.hu
above: NEW! NoHigher! Citroën 'Avant' before 'Eiffel' tower in Paris source: pinterest.com


En. text: André-Gustave Citroën (pronounced: [ɑ̃dʁe ɡystav sitʁɔɛn]; 5 February 1878 – 3 July 1935) was a French industrialist and freemason. He is remembered chiefly for the make of car named after him, but also for his application of double helical gears.
above: NEW! NoHigher! Pat Benatar in citro-pattern suit source: tumblr.com
En. text: Patricia Mae Giraldo (née Andrzejewski; born January 10, 1953. -age 66- Greenpoint, Brooklyn, New York, U.S. ), known professionally as Pat Benatar, is an American singer, songwriter, actress, and four-time Grammy Award winner. She has two RIAA-certified multi-platinum albums, five platinum albums, three gold albums, and 15 Billboard Top 40 singles, including the Top 10 hits "Hit Me with Your Best Shot", "Love Is a Battlefield", "We Belong", and "Invincible". Benatar has been nominated for 2020 induction into the Rock & Roll Hall of Fame. ... https://en.wikipedia.org/wiki/Pat_Benatar
Hu. text: Pat Benatar (Brooklyn, 1953. január 10.- ) (eredeti nevén Patricia Mae Andrzejewski) négyszeres Grammy-díjas amerikai énekesnő.
Karrierje során huszonnégy saját albumot adott ki, emellett még 13 válogatáslemezen szerepelnek számai, amelyek közül a legismertebbek a Hit Me with Your Best Shot, a Love is a Battlefield, a We Belong és az Invincible, több hétig szerepeltek az amerikai Billboard mainstream rock songs listájának élmezőnyében, valamint a UK Top 100 slágerlistáján. Hat platina- és négy aranylemez fűződik a nevéhez.
A VH1 100 legnagyobb hard rock előadó listáján a 74., a 100 legjobb női rockénekes listáján a 39., a 100 legszexibb énekes listáján a 66. helyre sorolták. 1981. augusztus 1-én a Music Television sugárzásának kezdő napján másodikként a You better run című számát sugározták, és ezzel ő volt az első női előadó, aki megjelent a Music Television képernyőjén.
2008-ban a Long Island Music Hall of Fame tagjai közé választották. ...
above: NEW! HiRes! Citroen Gear pattern swimmwear on Heater Locklear in Poster Girls 1970's via: pinterest.com source: tumblr.com
Fr. text: Heather Locklear est une actrice américaine née le 25 septembre 1961 à Westwood (Los Angeles). Elle est surtout connue pour avoir joué dans des séries et des feuilletons télé, notamment dans Dynastie (1982-89), Melrose Place (1993-99) et Spin City (1999-2002). ...
https://fr.wikipedia.org/wiki/Heather_Locklear
above: NEW! HiRes! Citroen Gear pattern stripsdress on Lisa Hartman in Poster Girls 1970's via: pinterest.com source: tumblr.com
Fr. text: Lisa Hartman-Black est une chanteuse, actrice, productrice et compositrice américaine née le 1er juin 1956 à Houston au Texas (États-Unis). ... https://fr.wikipedia.org/wiki/Lisa_Hartman
above: NEW! BigRes! Camille Kostek in reverse Citroen-logo pattern casual costume - Free Guy Premiere source: PinCelebs.net
Camille Veronica Kostek (born February 19, 1992. -age 30- Killingworth, Connecticut, U.S.) is an American model, television host, and film actress. She gained recognition for her appearances in the Sports Illustrated Swimsuit Issue, and achieved further prominence after landing a cover of the magazine’s 2019 edition. Since 2021, Kostek is the on-field host of the game show Wipeout on TBS, and since 2022 hosts NBC’s Dancing With Myself. She has also appeared in the film Free Guy (2021). ... https://en.wikipedia.org/wiki/Camille_Kostek
above: NEW! NoHigher! "Déesse" BB - Brigitte Bardot before Citroën H van 1964 source: pinterest

above & below: NoHigher! Double Helical Gear Wheel - Dupla ferdefogazású fogaskerék
Citroën 1878-ban Párizsban született egy holland-lengyel származású zsidó család ötödik, legkisebb gyermekeként. Apja Levie Citroen gyémántkereskedő volt, anyja a lengyel származású Macha Kleinman. Unokatestvére Sir Alfred Jules Ayer brit származású filozófus volt.
A Citroen család 1873-ban költözött Párizsba, s ekkor változtatták a nevüket Citroenről, Citroën-re, mivel a citroen szó hollandul citromos embert jelent. Apja hat éves korában - valószínűleg egy sikertelen dél-afrikai gyémántüzlet miatt - öngyilkos lett.
Az a terve, hogy mérnök lesz Jules Verne könyveinek hatása, valamint a párizsi világkiállításon megtekintett Eiffel-torony hatására született meg benne. Alig 24 éves, amikor végzett mérnökként, a párizsi Quai de Grenelle-en létrehozza első saját vállalkozását a "Société des Engrenages Citroën"-t. Ebben az időben - egy lengyelországi útja alkalmával - egy üzemben járva nagy hatást gyakorol rá, hogy a gépeken a kívánt fordulatszámot egymáson csendben elsuhanó különböző méretű nyílbordázatú fogaskerekek segítségével érik el. Az "ős-sebváltó" számára jelképpé vált, s azóta is ez lett a későbbi Citroëneken található logó. ...

André Citroën
above: NoHigher! Juci'bacsi's collect: Hu. book: Liener György: Autótípusok 1971.: Famous Car Constructeaurs - Híres Autókonstruktőrök

above: MedRes! Citroën DS 19 1959. in Dover source: autuguru-katalog.at / below: Pinterest
above: NEW! HiRes! "Ideal demonstration pavement for the DS21 - Ideális bemutató jellegű útburkolat a DS21 részére": Yana Nahorniak model photoset by: Car Fredo source: CelebsDump.com
Yana Nahorniak by Jörg Billwitz: https://www.editorialsfashion.com/premium-content/yana-nahorniak-by-jorg-billwitz-2/
NEW! above: NoHigher! Production of Citroëns below: MedRes! Paris messe 1961 source: pinterest
above: NEW! MedRes! Citroën DS 19 & Girl in Stocking-suspender - és Lány Harisnyakötőben source: Pinterest.com
NoHigher! above & below: Citroën DS 21 Pallas source: Pinterest.com
above: NEW! NoHigher! Citroën DS-21 "Blacky Romantic" source: pinterest
above: NEW+! HiRes! French Citroen & Renault and Japanese "Mitsubishi" logos. - Et skud meremed model Ilena Moss fra vores seneste shoot :) Igen her med metallic tattoos fra Dan Cosmetics...Fotograf Jan Hansen by JH67 Photography source: Hu. Google G+ Collector: Mr. Bányiczki Zoltán PinUp expert
above: NEW+! NoHigher! Citroen DS19 & Tatra-603 Versus Aerodinamics
Tatra T-87, 600 Tatraplan, T-603: http://szextant.blogspot.hu/2016/10/187-tatra-t-87-tatraplan.html
above & below: NoHigher! Citroën DS 21 "Pallas" three view by: Pinterest
above: MedRes! Rallye Citroen DS 21 between Citrone 2CV & Tatra T-603 source: ecoworldly.com below: NEW! NoHigher! "The tired driver Goddess Brigitte Bardot" Pinterest
Hu. text: Brigitte Bardot (Párizs, 1934. szeptember 28. –85-) francia színésznő, énekesnő, állatvédő. Az igazi, tiszta szexepilt ábrázolta egy meglehetősen prűd korszakban. Ruhái, frizurái megszabták az 1960-as évek divatirányzatát. Merész szerepei miatt sokan a bűn megtestesítőjének tekintették akkoriban. ... https://hu.wikipedia.org/wiki/Brigitte_Bardot
Hu. text: Lóöszvér: Gyakoribb a lóöszvér (latinul: Equus mulus) amelynél ló a kanca és háziszamár a csődör. (angolul mule, franciául mulet, németül Maultier, spanyolul mula) ...
Az isteni B.B. ikon Brigitte Bardot magyarra fordított vezetékneve: Szamáröszvér Brigitta
Szamáröszvér:
Ritkább a szamáröszvér (latinul: Equus hinnus), amelynél háziszamár a kanca és ló a csődör. (angolul hinny, franciául bardot, németül Maulesel, spanyolul burdégano ...
Fr. text: Confusion:
Le bardot, parfois confondu avec les mules et les mulets, est issu du croisement entre une ânesse et un cheval. On a pu croire autrefois à l'existence du joumart, produit du croisement entre un cheval ou un âne et une vache, ou entre un taureau et une ânesse ou une jument. Ce nom désigne, par extension, tout animal de sang mêlé, issu du croisement de deux espèces voisines. Il existe aussi le cerf mulet, qui n'a de rapport que par le nom, et qui est désigné ainsi à cause de ses oreilles similaires à celles d'un mulet. Selon l'historien Thierry Murcia, qui cite diverses sources antiques, on appelait autrefois mule de Libye (ou parfois "âne de Libye"), le fruit du croisement entre un onagre et une jument. ... https://fr.wikipedia.org/wiki/Mulet
above: MedRes! Citroën DS-19 BB - French film star Mijanou Bardot
Mijanou Bardot: Marie-Jeanne Bardot (born on 5 May 1938 in Paris) is a French actress and writer. She starred in the 1960 film Sex Kittens Go to College with Mamie van Doren.She is married to Patrick Bauchau, and lives in Los Angeles. Mijanou is sister of Brigitte Bardot.
Marie-Jeanne Bardot, dite Mijanou Bardot, est une actrice française, née le 5 mai 1938 à Paris.
Mijanou Bardot est la sœur cadette de Brigitte Bardot. Elle a épousé, au début des années 1960, le comédien Patrick Bauchau.
Mijanou Bardot est la sœur cadette de Brigitte Bardot. Elle a épousé, au début des années 1960, le comédien Patrick Bauchau.
Après son dernier film en 1970, elle met un terme définitif à sa carrière d'actrice et s'expatrie aux États-Unis1, où elle devient créatrice de meubles en fondant, à la fin des années 1970, sa propre entreprise, Espace Loggia.
above & below Four NoHigher! Citroen DS 19 1955. Prospekte source: Pinterest.com
above: NEW! MedRes! Stopper nowadays between mounts: Photo: Mr. Ian L. Sitren: Stockfresh source: https://www.facebook.com/ian.sitren/media_set

above: NEW! NoHigher! Citroen DS 23 IE 'Pallas' 1975. - 2347 ccm - 126 CV - 182 km/h
above: NEW! NoHigher! Citroen's girl front of mthe Circus source: Pinterest
above: NEW! NoHigher! DS-21 and DHC-4 'Caribou' source: Pinterest.com
above: NEW! MedRes! Hu. text: Citroen DS 1974. július 3. Budapest: Utazásra készülő házaspár típusú autójuk mellett. - A couple getting ready to travel next to their type of car photo: MTI Fotó: Mr. Horvát Péter source: MTVA fotótár
above: NEW+! HiRes! Juci'bacsi's Scan of original (Crop!) Citroën ID-19 prospekte from early 1960's by Hu. R.I.P. Mr. Miller József"s -79 y.o. In Memoriam (VBKM works' electric engineer) legacy - hagyatékából -Budapest II. ker. Pesthidegkút- (to be Contiuning!)
above: MedRes! Way-Stopper retro lady in the French vine district - borvidék
above & below: NoHigher! Cartoon source: Pinterest
115.) Retrospective: Lemezjátékok - 1. rész: KRESz pálya retro lemezjáték - Tin Traffic Retro Toy - Budapest látképeivel és retro automobil-okkal:
above: MedRes! Citroën 'Avant' & DS 21: Citroën Classics pool source: xcrop_citroen-classic

above: NEW+! HiRes! Juci'bacsi's collect: 'Heller' catalogue 1980. Retro Fashion Feeling
above: MedRes! Fabriqué en France Heller's Citroën DS 19 scale: 1/16 for 60e anniversaire
Heller est une marque française de maquettes en plastique principalement aux échelles 1/400e, 1/125e, 1/72e et 1/35e et de figurines à l'échelle 1/72e. Fondée en 1957 par Léo Jahiel à Paris elle est installée à Trun (en Normandie) depuis 1963. ... fr.wikipedia.org/Heller_modelisme
above: MedRes! Plastic kit EBBRO's Scale 1:24 Citroën DS 19 source: hiroboy

above: NoHigher! Wallhalfcitro - Félfalcitrom
above: NEW! NoHigher! an Other Guest is waiting for a Citroen Taxi at bar-counter - a Másik Vendég a bárpultnál vár a Citró Taxira
above: MedRes! Citroën DS 19 real source: Wikipedia
above: NoHigher! Wallhalfcitro - Félfalcitrom
above: NEW! MedRes! (Flipped!) Jemima Robinson Cameron Mackie-photoshoot march 2023 source: celebsdump.com

above: NoHigher! Half DS 21 nose patent in building Sens de la visite
above: NEW! MedRes! Citroen style shoes for owner - Citroenes cipő a tulajnak


above: NoHigher! Half DS 21 nose patent in building Sens de la visite
above: NEW! MedRes! Citroen style shoes for owner - Citroenes cipő a tulajnak
above: NEW! NoHigher! #Parisian roof-observer for #President residence '#Élysée-pallace' source: Pinterest.com
above: NEW! NoHigher! Citroën DS-21 in Montmartre, an authentic village in the heart of Paris source: pinterest.com

above: NEW! HiRes! (Crop!) DS khaki version 1968. source: first4auto.com
above: NEW! MedRes! (Cropped!) The new lamp-ring design: Eva Longoria sexy for 'Flaunt' magazine december 2023 source: celebsdump.com
En. text: Eva Jacqueline Longoria Bastón (née Longoria; born March 15, 1975. -age 49-
Corpus Christi, Texas, U.S.) is an American actress, producer, director and business woman. After a number of guest roles on several television series, she was recognized for her portrayal of Isabella Braña on the CBS daytime soap opera The Young and the Restless, on which she starred from 2001 to 2003. She is most known for her role as Gabrielle Solis on the ABC television series Desperate Housewives, which ran from 2004 to 2012, and for which she received a Golden Globe nomination and won two Screen Actors Guild Awards with the cast. ... https://en.wikipedia.org/wiki/Eva_Longoria
above: NoHigher! Matchbox-Lesney product Citroën DS 21 1968. source: Loose cars
En. text: Matchbox is a popular toy brand which was introduced by Lesney Products in 1953, and is now owned by Mattel, Inc. The brand was named as the original die-cast Matchbox toys, which were sold in boxes similar in style and size to those in which matches were sold. Subsequently, the brand would encompass a broad range of toys including larger scale die-cast models and various non die-cast lines such as plastic model kits and action figures.During the 1980s, Matchbox started to switch to the more conventional plastic and cardboard "blister packs", that were used by other die cast toy brands such as Hot Wheels. The box style packaging was re-introduced for the collectors' market in recent years. Particularly with the release of the "35th Anniversary of Superfast" series in 2004. ... en.wikipedia.org/Matchbox_brand
Fr. text: Le nom Matchbox apparaît en 1953 comme marque de la société britannique de jouets Lesney, fondée par Leslie Smith (6 mars 1918-26 mai 2005) et Rodney Smith. Les deux hommes n'étaient pas de même famille, malgré leur nom commun. Ils étaient amis d'école et avaient servi ensemble dans la Royal Navy pendant la Seconde Guerre mondiale.
L'entreprise est née, lorsqu’un collaborateur des Smith, John Odell, appelé « Jack », fabrique une miniature pour sa fille pour que celle-ci puisse facilement l’emmener à l’école. La miniature est fabriquée à l’échelle d’une boîte d’allumettes.
Les jouets Matchbox étaient ainsi appelés parce qu'à l'origine les modèles étaient emballés dans des boîtes semblables à des boîtes d'allumettes. Le nom Matchbox, est devenu le nom générique pour toute miniature mesurant approximativement 2,5 pouces (6,5 centimètres) de long, indépendamment de la marque. Dans les années 70, la boîte d'allumettes a laissé place au classique emballage, plastique et carton, utilisé par les autres marques, telles que Hot Wheels Le conditionnement en boîtes d'allumettes a été récemment réintroduit pour le marché des collectionneurs.
L'usine Matchbox/Lesney était une entreprise importante à Homerton, Londres oriental, bien qu'en 1990 la société déménagea à Rugby, Warwickshire aux West Midlands.
La société Lesney a fait faillite le 11 juin 1982. Les biens de la société ont été vendus et revendus, et finalement ont été achetés par Mattel, fabricant des Hot Wheels.
Hu. text: A Matchbox - magyarul: gyufásdoboz - egy 1953 óta létező angol játék- és modellmárkanév, ami elsősorban játékautóiról ismert. Ez az elnevezés az egykori gyártó cég, a Lesney Products első nagyobb szériás modellautóinak méretére utal. A cég az első jelentősebb játékautó-gyártó cég volt a világon, és így talán a legismertebb is. ...

L'entreprise est née, lorsqu’un collaborateur des Smith, John Odell, appelé « Jack », fabrique une miniature pour sa fille pour que celle-ci puisse facilement l’emmener à l’école. La miniature est fabriquée à l’échelle d’une boîte d’allumettes.
Les jouets Matchbox étaient ainsi appelés parce qu'à l'origine les modèles étaient emballés dans des boîtes semblables à des boîtes d'allumettes. Le nom Matchbox, est devenu le nom générique pour toute miniature mesurant approximativement 2,5 pouces (6,5 centimètres) de long, indépendamment de la marque. Dans les années 70, la boîte d'allumettes a laissé place au classique emballage, plastique et carton, utilisé par les autres marques, telles que Hot Wheels Le conditionnement en boîtes d'allumettes a été récemment réintroduit pour le marché des collectionneurs.
L'usine Matchbox/Lesney était une entreprise importante à Homerton, Londres oriental, bien qu'en 1990 la société déménagea à Rugby, Warwickshire aux West Midlands.
La société Lesney a fait faillite le 11 juin 1982. Les biens de la société ont été vendus et revendus, et finalement ont été achetés par Mattel, fabricant des Hot Wheels.
above: MedRes! Citroen DS-21 de Matchbox source: autoalmanach.ch below: Superfast 40th Left: NoHigher! Right: MedRes! DS 21

above: NoHigher! below: HiRes! MATCHBOX Series A MOKO LESNEY - Mattel Inc. source: The-saleroom.com
above: NoHigher! The used yellow Lesney - Matchbox product
above: NoHigher! Diecast French Dinky-Toys Citroen DS-19 Yellow Original Vintage model
above: NoHigher! DS 19 three view by: Pinterest
above: NoHigher! DS 19 three view by: Pinterest
above & below: NoHigher! Dinky Toys' scale 1:24 Citroen DS 19 MECCANO
Dinky Toys are die-cast zamac miniature vehicles that were produced by Meccano Ltd. They were made in England from 1935 to 1979, at a factory in Binns Road in Liverpool. Dinky Toys were among the most popular diecast vehicles ever made predating other popular diecast marques, including Corgi, Matchbox, and Mattel's Hot Wheels (Ralston 2009, 7; Richardson 1999, 128). ... https://en.wikipedia.org/wiki/Dinky_Toys
En. text: Zamak (formerly trademarked as ZAMAK and also known as Zamac) is a family of alloys with a base metal of zinc and alloying elements of aluminum, magnesium, and copper.
Zamak alloys are part of the zinc aluminum alloy family; they are distinguished from the other ZA alloys because of their constant 4% aluminum composition.
The name zamak is an acronym of the German names for the metals of which the alloys are composed: Zink (zinc), Aluminum, Magnesium and Kupfer (copper). The New Jersey Zinc Company developed zamak alloys in 1929. Zinc alloys are popularly referred to as pot metal or white metal. While zamak is held to higher industrial standards, it is still considered a pot metal.
The most common zamak alloy is zamak 3. Besides that, zamak 2, zamak 5 and zamak 7 are also commercially used. These alloys are most commonly die cast. Zamak alloys are frequently used in the spin casting industry.
A large problem with early zinc die casting materials was zinc pest, owing to impurities in the alloys. Zamak avoided this by the use of 99.99% pure zinc metal, produced by New Jersey Zinc's use of a refluxer as part of the smelting process.
Zamak can be electroplated, wet painted, and chromate conversion coated well. ... https://en.wikipedia.org/wiki/Zamak
Hu. text: A spiáter (más néven zamak) cink-alumínium ötvözet, csekély rézadagolással, amit a szilárdság növelése érdekében adnak hozzá. A „rézcseppek” elkülönülnek az alumíniumtól, mint a betontól a vas. Zink (zinc), Aluminum, Magnézium and Kupfer (copper - vörösréz).Alacsony olvadáspontú, nem mágnesezhető, szürkés színű ötvözet. Sűrűsége az ötvözetlen cinkénél valamivel kisebb, könnyebben deformálódik, kopik, mint a vas. Főként gázfegyverekben használatos, amelyek éppen emiatt rövid élettartamúak (200-300 lövés).
Felhasználása:
Mivel szilárdsága alacsony, erős igénybevételű használati tárgyak készítésére alkalmatlan. Dísztárgyak, és kis mechanikai igénybevételnek kitett eszközök készülnek belőle: kulcsok, levélnehezékek, de mivel nagyon jól önthető, bonyolult formákat lehet kialakítani, öngyújtó, karburátor, gáz- riasztófegyver stb. ...
above: NoHigher! DS 19 Model about génerale Charles De Gaulle's first president car.
above: NoHigher! Corgi Toys "Palm Beach" Citroen DS chassis Cabriolet with Henry Chapron body
Corgi Toys (trademark) is the name of a range of die-cast toy vehicles produced by Mettoy Playcraft Ltd. in the United Kingdom. The Mettoy (Metal Toy) company was founded in 1933 by German émigré Philip Ullmann in Northampton, England, where he was later joined by South African-born German Arthur Katz, who had previously worked for Ulmann at his toy company Tipp and Co of Nuremberg. They decided to market a range of toy vehicles as competition to Meccano's Dinky Toys model vehicles, which had dominated the British market for many years. Corgi Toys were introduced in the UK in July 1956 and were manufactured in Swansea, Wales, for twenty seven years before the company went into liquidation. A management buy-out re-formed the company as Corgi Toys Limited in March 1984. In 1989, the management sold the Corgi brand to Mattel and the factory was retained under the name of Microlink Industries Ltd. In 1995, Corgi regained its independence as a new company, Corgi Classics Limited, and moved to new premises in Leicester.
The range was exported worldwide and sold in large numbers. Some of the best known and most popular models were of cars made famous in film and television such as the Batmobile, Chitty Chitty Bang Bang and James Bond's Aston Martin DB5 – which remains the largest selling toy car ever produced. Although the largest single vehicle type featured in the Corgi Toys range were models of cars from manufacturers around the world, this article sub-divides vehicles into genres, wherever possible, to allow a more detailed look at the variety of models produced by the company. ... https://en.wikipedia.org/wiki/Corgi_Toys
above: NoHigher! Citroën DS 19 Cabriolet tin & diecast toy
above & below: NoHigher: In this time the Hungarian Toy cabrio was the "Dwart Car" - "Törpeautó" I had got it a lot of pieces. Made by Hu. Lemezárúgyár Budapest ELZETT - Tin-product Fabrik Budapest. It was spring power driven system by headpushing. source: www.retronom.hu
Hu. text: Az Elzett Zár- és Lakatgyár különböző lakatok, zárak, zárbetétek gyártására szakosodott nagyvállalat volt, gyárüzeme Angyalföldön, a Váci út mellett működött. Nevét alapítójáról, László Zoltánról kapta (nevének kezdőbetűi: LZ). ...... A gyár gyorsan növekedett, a kezdeti körülbelül 300 munkásból 1944-re már 750 lett, a második világháború utáni újjáépítés hatására felfutó kereslet pedig 1000 fő fölé emelte a munkáslétszámot.
A céget 1948-ban államosították, és 1964 végéig Elzett Vasáruház néven működött tovább, amikor összeolvasztották a több fémipari tömegcikket gyártó vállalatból összevont Fémlemezipari Művekkel, amely ekkor felvette az Elzett nevet. Innentől a soproni és sátoraljaújhelyi gyárak is Elzett márkajelzéssel gyártották termékeiket.
1984-ben az igen eltérő profilú vállalatokból álló Elzett Fémipari Műveket feloszlatták, az angyalföldi gyár felvette az Elzett Gyár- és Lakatgyár Rt. nevet. Megtartották az Elzett nevet eközben a soproni és sátoraljaújhelyi gyárak is, ma előbbi az Euro-Elzett és Elzett Sopron cégekben, utóbbi előbb Elzett Certa, majd máig Roto Elzett Vasalatkereskedelmi Kft. néven él tovább, külföldi cégek leányvállalataként.
A budapesti Elzett is külföldi tulajdonba került, 2001 óta Kaba Elzett Zrt. néven működik tovább.
above One MedRes! & below: Hu. made Yellow flywheel Citroen DS 19 toy from Hungarian retro Toys' Collector: Mil Mi-8/17/24 Airframe & Engine avi.mech. St.Sgt. Thomas Zvada Tamás SHM (Sárkány Hajtómű) rep.mech.ftőrm. S.A.R.- LKM (Légi Kutató-Mentő) Heli. techn. HUAF Pápa AFB-ről - BRT - retró játékgyűjtőtől Seven 7 Photos: Mr. Zvada Tamás source: facebook
above: NEW! MedRes! Hungarian Tin goods works - Fémlemezipari Művek -Budapest- 1960's "Rapid" Citroen flywheel car toy - lendkerekes kisautó. below: MedRes! Details

above: MedRes! below: NoHigher! The tin chassis and flywheel gearbox mechanism from Hungary by "FOREIGN" mark- A lemez-alváz lendkerekes fogaskerék-áttétel mechanika
NEW! above: MedRes! Professional Sportmodel Flywheel toycar v below: HiRes! ZECAR gearbox source: GuyYaros.com
above four: NoHigher! Hungarian made flywheel plastic toys middle of 1960's Citroen - Szitroen lendkerekes játékautó by Lemezárúgyár Budapest. I had got Citroen in red and FIAT-600 in light blue. bottom source: http://trogerizmus.blog.hu/ : Gyerekkorom kedvenc játékai közé tartoztak ezek a felül műanyag, alul lemez lendkerekes játékok. Az idő során kissé megsárgult, de jó ránézni. Ami főleg jó, hogy még működik is. Örök darab. Remélem sokakban ébreszt kellemes emlékeket.
above: MedRes! Four view DS 19 by: Pinterest - www.the-blueprints.com
above: NoHigher! Citroën DS 19 with fog headlamp source: kitfoster.com
above: NoHigher! Hu. made flywheel car - Lendkerekes autó
above: NoHigher! CELESTE RADIO CUSTOMIZADO PAYA-Tamiyaclub below: Medres! Citroën DS-19 1/18 -yaronet.com
above: MedRes! Citroen DS 19 bottom below: NoHigher! Floor panel
above: NoHigher! 'Solido' die-cast model Citroen DS 19 1963 1/18 scale in silver tichtai.com
Solido is a French manufacturer of die-cast model cars and trucks based in Oulins, Anet, France, about 40 miles west of Paris. Vehicles are usually made of zamac alloy in varying scales, but mostly 1:43. Traditionally, Solido's main competition in France was Norev, but internationally, Polistil, Corgi Toys, Dinky Toys, Mercury, and Tekno produced similar toys. ... en.wikipedia.org/Solido
18+above: NEW! HiRes! (Crop!) Téléguidée (RC - Remote Control - Távirányítós) position by; Edita Vilkeviciute naked source: pincelebs.net
En. text: Edita Vilkevičiūtė (born 1 January 1989. -age 31- Kaunas, Lithuania) is a Lithuanian model.
According to a recent interview for the telegraph, she attended a model casting organised by D-Max models management while she was on vacation with her parents on the Lithuanian seaside. After her discovery, Vilkevičiūtė signed to Women Management in Milan at the age of 16 years, and later, VIVA in Paris in 2006. Her runway debut was at Just Cavalli for the spring/summer 2006 shows in Milan. The following month, she featured in her first Vogue Paris editorial, shot by Katja Rahlwes, followed by another in February 2007 by Mark Segal. ... https://en.wikipedia.org/wiki/Edita_Vilkevi%C4%8Di%C5%ABt%C4%97
Lt. text: Edita Vilkevičiūtė (g. 1989 m. sausio 1 d. Kaune) – Lietuvos modelis. Dabartinis „Karl Lagerfeld“, „Gap“ Japonijoje, „Christian Dior“, „Armani“ ir „Calvin Klein“ reklamos veidas. ...
above: NoHigher! Távirányítós - RC toy: Citroen DS 19 Téléguidée 'GéGé' source: pinterest
above: MedRes! RUMBLE 12S source: Wallstreet-Journal below: NEW! NoHigher! source: pinterest
above: NoHigher! Autosprint pedal car source: facebook.com

above: Left: NoHigher! Vintage Citroen pedal cars Right: MedRes! by: Sunday Brocantes
18+above: NEW! HiRes! Sorry! "During His Mother" Playmate of vintage Playboy magazine from 1960's source: Google / Playboy.com
In Memoriam: Founder & Owner of '#Playboy' Men's Magazine, #Hugh #Hefner (91.) 27.09.2017. R.I.P.
http://index.hu/index2/#bloghu/playboypista/2016/04/09/10_dolog_amit_tudni_kell_hugh_hefnerrol
above: MedRes! Davis Divan 3-wheeler street-car / scooter - törpeautó trikerekes
Hugh Marston Hefner (April 9, 1926 – September 27, 2017) was an American magazine publisher, editor, businessman, and playboy. He was best known as the editor-in-chief and publisher of Playboy magazine, which he founded in 1953. He was also the founder and chief creative officer of Playboy Enterprises, the publishing group that operates the magazine. Hefner was also a political activist and philanthropist in several causes and public issues. ...
above: MedRes! Citroen DS 19 1965' scale: 1/24 Leo models source: automodelcentrum.cz
above: MedRes! DS 19 source: bbc.com below: MedRes! Moldel with cm., inches ruler
above: HiRes! Government Citroen-DS-19 betm source: lamarquezone.fr
above: NoHigher! Fantasy-Hybrid-Öszvér: Porsche-911 & Citroën DS 19: Citroën-Porsche 911DS source: classicdriver.com
Hu. text: A Citroën jelvénye - Logo: A márka logója a nyílfogazású fogaskereket szimbolizálja. Sokan André Citroën találmányának tartják a szerkezetet, ami tévhit. A későbbi autógyáros egy lengyelországi útja során, Lódz városában találkozott a V fogaskerékkel, melynek megvásárolta szabadalmi jogát. Hazájában gyártani kezdte az egyenes és ferde fogazásúak előnyeit ötvöző nyílfogazású fogaskeret, és a termék sikere is hozzájárult ahhoz, hogy 1919-ben gépkocsik gyártásába kezdhetett. ... www.origo.hu/auto/20090206-ds-uj-korszak-citroen
above: NEW! HiRes! Citroen logo casual clothes: world famous australian Hollywood actress Margot Robbie at the 'Golden Globe Awards' in Los Angeles - January 2023. source: pincelebs.net
En. text: Margot Elise Robbie (/ˈmɑːrɡoʊ ˈrɒbi/ MAR-goh ROB-ee; born 2 July 1990. -age 33-
Dalby, Queensland, Australia) is an Australian actress and producer. Her work includes both blockbuster and independent films, and her accolades include nominations for three Academy Awards, six BAFTA Awards and four Golden Globe Awards. Time named her one of the 100 most influential people in the world in 2017, and Forbes named her the world's highest-paid actress in 2023. ... https://en.wikipedia.org/wiki/Margot_Robbie
above: NEW! MedRes! ECHO Park Watch Out! Earring - Fülbevaló
above: NEW! NoHigher! Citroen Details du dessin Citroën DS23 'Pallas' source: pinterest
above: NEW! NoHigher! Citroen logos tractor tyre on Russian agriculture-machine exhibition - kiállításon source: facebook / www.agraragazat.hu
above: NoHigher! Graphic artwork about Citroën DS 21 "Pallas" by: pplbliss / wiki
above: NoHigher! 'Citropor' Complexité source: Pinterest.com
above: NEW! NoHigher! DS-21 street van - furgon source: pinterest below: lamps
above: MedRes! Citroën ID 19 from 1969. US-spec source: wikipedia
above: NoHigher! Citroën DS-21 by: adsguy.guru below: NoHigher! "Fantomas" by: gasoline.net
above Two: NoHigher! Upper: "Fantomas" Lower: Transformers Citroëns DSs source: Pinterest
above: HiRes! four view DS 19 1956. by: the-blueprints.com source: Google.com
above: NoHigher! DS 19 timing sequential profiles drawings source: pinterest
The Citroën DS (French pronunciation: [si.tʁɔ.ˈɛn de ɛs]) is a front-engine, front-wheel-drive executive car manufactured and marketed by the French company Citroën from 1955 to 1975 in sedan, wagon/estate and convertible body configurations. Italian sculptor and industrial designer Flaminio Bertoni and the French aeronautical engineer André Lefèbvre styled and engineered the car. Paul Magès developed the hydropneumatic self-levelling suspension.
Noted for its aerodynamic, futuristic body design and innovative technology, the DS set new standards in ride quality, handling, and braking—and was the first production car equipped with disc brakes. Citroën sold 1,455,746 examples, including 1,330,755 built at the manufacturer's Paris Quai André-Citroën production plant.
The DS placed third in the 1999 Car of the Century poll recognizing the world's most influential auto designs and was named the most beautiful car of all time by Classic & Sports Car magazine.
| Overview | |
|---|---|
| Manufacturer | Citroën |
| Also called | Citroën DS 19 / DS 21 / DS 23 Citroën D Special Citroën D Super Citroën ID 19 / ID 21 |
| Production | 1955–1975 1,455,746 (worldwide) 1,330,755 (France) |
| Assembly | Paris, France Heidelberg, Victoria, Australia Mangualde, Portugal Slough, England, United Kingdom Johannesburg, South Africa Koper, Slovenia, Yugoslavia |
| Designer | Flaminio Bertoni |
| Body and chassis | |
| Class | Mid-size luxury / Executive car (E) |
| Body style | 4-door sedan 5-door Safari station wagon 2-door convertible |
| Layout | MF layout |
| Related | Citroën SM |
| Powertrain | |
| Engine |
|
| Transmission | 3-speed automatic 4-speed manual 5-speed manual 4-speed semi-automatic |
| Dimensions | |
| Wheelbase | 3,124 mm (123.0 in) |
| Length | 4,826 mm (190.0 in) (saloon) 4,991 mm (196.5 in) (estate) |
| Width | 1,791 mm (70.5 in) |
| Height | 1,464 mm (57.6 in) (saloon) 1,537 mm (60.5 in) (estate) |
| Curb weight | 1,270 kg (2,800 lb)(saloon) 1,384 kg (3,051 lb)(estate) |
| Chronology | |
| Predecessor | Citroën Traction Avant |
| Successor | Citroën CX |
above: MedRes! Citroen DS 19 Bornholm Rundt:2012.07.08 by Klugschnacker modified wiki
above: NoHigher! Comparison - Összehasonlítás: DS 19 & DS 21
above: NoHigher! Juci'bacsi's collect:Book: Hu. text: Liener György: "Autótípusok" 1971. -Műszaki Könyvkiadó -Budapest- - Car Types Tecnics Publisher: DS 21
Fr. text: La DS, et sa déclinaison simplifiée la Citroën ID, est commercialisée par Citroën entre 1955 et 1975, tout d'abord en berline puis en break et cabriolet. Le « D » vient probablement de l'usage du moteur le plus récent alors de Citroën, le « moteur série D », qui équipait la Traction 11 D jusqu'en juillet 1957. L'ID et la DS reprennent le même principe de la traction par l'avant, qui a fait la renommée de Citroën.
Dessinée par le sculpteur et designer italien Flaminio Bertoni en collaboration avec André Lefebvre, ingénieur issu de l'aéronautique, et l'ingénieur hydraulicien Paul Magès, cette automobile est révolutionnaire par bien des aspects. À l'origine, son long capot est prévu pour accueillir un moteur 6-cylindres, mais tant le 6-cylindres en ligne de la 15, que celui à plat, ne purent être adoptés, pour cause de mise au point non aboutie. Son nom de code est « VGD » (Véhicule de grande diffusion), la conception du projet étant lancée par le PDG de Citroën Pierre-Jules Boulanger puis son successeur Pierre Bercot3. Elle est l'« attraction » du salon de l'automobile en 1955. Elle est dotée d'une ligne extrêmement audacieuse, qualifiée même de révolutionnaire, et d'un confort intérieur remarquable grâce à sa suspension hydropneumatique spécifique à la marque. La DS comporte également de nombreuses innovations techniques qui la démarquent du monde de l'automobile de son époque en Europe : direction assistée, boîte de vitesses à commande hydraulique, freins à disque à l'avant, pivot de direction dans l'axe et, à partir des années 1968-1969, phares pivotants et introduction de l'électronique (moteur à injection). Innovation de sécurité importante : le volant de direction monobranche, conçu pour éviter de briser la cage thoracique du conducteur en cas de choc frontal violent. Sur le tachymètre des modèles dotés du dernier tableau de bord seront également rappelées les distances de freinage associées aux principales vitesses sur route.
La DS est vite adoptée par les cadres supérieurs et les notables puis par les stars et les élus de la République, jusqu'au général de Gaulle qui en fait la voiture officielle de la présidence.
En 1999, la DS fut récompensée en arrivant en troisième position du concours international Car of the Century derrière la Ford Model T et la Mini. Cette même année, elle fut nommée la plus belle voiture de tous les temps par le magazine Classic & Sports Car. ...
| Marque | |
|---|---|
| Années de production | 1955 - 1975 |
| Production | 1 455 746 dont pour la France : 1 330 755 exemplaires |
| Classe | Grande routière |
| Usine(s) d’assemblage | Paris Javel, Aulnay sous Bois, Forest (Belgique), Slought (Royaume Uni) |
| Moteur et transmission | |
| Énergie | Essence |
| Moteur(s) | 4 cylindres en ligne |
| Cylindrée | 1 911, 1 985, 2 175 ou 2 347 cm3 |
| Puissance maximale | 66 (ID19) à 130 ch |
| Transmission | traction |
| Boîte de vitesses | Manuelle, à commande hydraulique ou automatique |
| Poids et performances | |
| Poids à vide | 1 170 kg |
| Vitesse maximale | 135 (ID19) à 188 km/h |
| Accélération | 0 à 100 km/h en 17 s ( ID19 ) à 11.6 s |
| Châssis - Carrosserie | |
| Carrosserie(s) | Berline Break Cabriolet |
| Coefficient de traînée | 0.38 |
| Dimensions | |
| Longueur | 4 800 mm |
| Largeur | 1 790 mm |
| Hauteur | 1 470 mm |
| Chronologie des modèles | ||||||||
|---|---|---|---|---|---|---|---|---|
| ||||||||
above: NEW! MedRes! Citroen Cx profile photo source: Juci'bácsi's collection scan, Liener György Autótipusok 1977 Műszaki Könyvkiadó, Budapest 1977
above: NEW! MedRes! Hu. owner: CX-ből összesen 1 042 460 darabot gyártottak, a limuzin 1989-ben, a Break csak 1991-ben búcsúzott. source: totalcar.hu/citroen-cx-25-gti
Hu. text: DS 1955-1975: 1955-ben a Párizsi Autószalonon mutatták be. Az első napon 12 ezer megrendelés futott be a DS modellre, összesen csaknem 1,5 millió példány készült belőle.
Futurisztikus kinézete, áramvonalassága, és a korban egyedülálló hidropneumatikus (folyadékközvetítéses) felfüggesztése tette ismertté.
Különleges megoldásai közé tartozott az első teljesen műanyagból készült műszerfal, üvegszálas műanyag kabintető, alumínium motorháztető, hidraulikus vezérlésű sebességváltó, az autó süllyedését kompenzáló, és a későbbiekben kanyarkövető fényszórók. Fékpedál helyett egy gumigomba szolgált fékezésre, melyhez hidraulikus, a fékerőt a tengelyekre mért terhelés mértékében elosztó fékrendszer kapcsolódott. Az első kerekeket a korban ritkaságnak számító tárcsafékek fékezték. A felfüggesztés egy hidraulikus körre volt kötve a kormányszervóval, fékekkel és sebességváltóval. Húsz éves pályafutása vége felé az egyik első szériaautó lett, melyben a karburátort elektronikus befecskendezésre cserélték (BOSCH D-Jetronic).
A DS típuselnevezés a francia Déesse szóból ered, amely Istennőt jelent. Charles de Gaulle személyes használatra, majd protokoll célokra is rendelt belőle. (Az autó megmentette az életét a Petit-Clamart merényletnél, mert a sofőrje kimenekült vele a terrorista támadásból.) Számos filmben szerepet kapott a jármű pl. a Fantomasban, A Sakál napjában és a Piedone, a zsaruban.
Az autó egyszerűbb változata ID (Idée = ötlet, idea) néven került forgalomba. ..
https://hu.wikipedia.org/wiki/Citro%C3%ABn
above: NEW! NoHigher! Juci'bacsi's collect from early 1880's Hu. am Autó Motor magazin
above & below: NoHigher! Juci'bacsi's collect: Cropped from Article: Hu. Newspaper of Soicialist Party: MSzP lapja: "NÉPSZABADSÁG" - "People Freedom", 'Kerékvilág' - 'Wheelworld' 1999. május 5. Szerda melléklet 20. oldal. - The cars of Century & Aerodynamics of DS 19
above: NEW! NoHigher! Juci'bacsi's collect from early 1880's Hu. am Autó Motor magazin
above & below: NoHigher! Juci'bacsi's collect: Cropped from Article: Hu. Newspaper of Soicialist Party: MSzP lapja: "NÉPSZABADSÁG" - "People Freedom", 'Kerékvilág' - 'Wheelworld' 1999. május 5. Szerda melléklet 20. oldal. - The cars of Century & Aerodynamics of DS 19
above: NEW! MedRes! Cw coefficiens - Légellenállási értékek source: Juci'bácsi's Archive: Liener György: Autótipusok 1977 Budapest Műszaki Könyvkiadó - Autotypes Technical Book Publisher
above: NEW! HiRes! 1974. Hungary, Budapest I., Buda Castle Holy Trinity Square, in the background the main gate of the Matthias Church, on the right the pedestal of the Holy Trinity statue. DONOR: Chuckyeager tumblr PHOTO NUMBER: 176295
- 1974. Magyarország, Budapest I., budai Vár Szentháromság tér, háttérben balra a Mátyás-templom főkapuja, jobbra a Szenthátomság szobor talapzata. ADOMÁNYOZÓ: Chuckyeager tumblr KÉPSZÁM: 176295 source: FORTEPAN.hu
211.) 1.st district, Buda Castle -Budapest- I. kerület Budai Várnegyed & Hu.MoD. Museum of Military History - HM. HIM. - Hadtörténeti Intézet és Múzeum by: My px. photos. Будапеште, by some Juci'bacsi's pixel photos & Internet pics and Maps - Horthy Miklós - PzKpfw. Tiger-II Ausf. B 'Königstiger', Pz.V.'Panther': https://szextant.blogspot.com/2018/04/211-1st-district-buda-castle-budapest-i.html
above: MedRes! Line drawing - vonalrajz DS 21 source a&b:: Pinterest.com Reisewagen
above: NEW! HiRes! Californian dream - álom: Citroen DS-21 & VW "Bug" PhotoÍ: Ian L. Sitren https://www.facebook.com/ian.sitren/media_set?set=a.1326384872134.48710.1006269278&type=3 source: Hu. Collector: Google G+ Mr. Bányiczki Zoltán Pin-Up expert
above: MedRes! Blasted drawing of Citroen-DS 21 Headlight glass source: aussiefrogs
above: MedRes! DS Head-Self levellig device source: aussiefrogs
below: MedRes! Headlamp/Geadlight of DS 21 source: Pinterst.com
NoHigher! above: Citroën DS 21 1973. by: VWVortex.com below: NEW! source: pinterest
above: NoHigher! Jeremy Irons on DS 21 Iodine light - Jód-lámpán
Jeremy John Irons (born 19 September 1948) is an English actor. After receiving classical training at the Bristol Old Vic Theatre School, Irons began his acting career on stage in 1969 and has since appeared in many West End theatre productions, including The Winter's Tale, Macbeth, Much Ado About Nothing, The Taming of the Shrew, Godspell, Richard II, and Embers. In 1984, he made his Broadway debut in Tom Stoppard's The Real Thing and received a Tony Award for Best Actor. ... https://en.wikipedia.org/wiki/Jeremy_Irons
above: NEW! NoHigher! Citroeen DS 21 US-1972 spec by Auto Clasico on Flickr source: pinterest
above: NoHigher! Vintage photo: inner pair Iodine quartz driving light, Headlamp Control System
above: NoHigher! wikipedia below: MedRes! A belső elforduló vezetöi jódlámpák.
above: MedRes! Citroen DS 21 directional headlights - irányított fényszóró 1972 wikipedia
above: NoHigher! Citroen 1969. Revisited Helmut Newton's Citroen DS Images for Citroen 1969 photo by Stefan Brauchli Italia instagram source: pinterest below: NEW! HiRes! Stoppergirl style 1st source: facebook
above: NEW! BigRes! Stoppergirl style 2nd: Mary Elizabeth Winstead sexy for 'Complex'-magazine by Micaela Rosato in june-july 2012. source: celebsdump.com
Mary Elizabeth Winstead (born November 28, 1984. -age 37- Rocky Mount, North Carolina, U.S.) is an American actress and singer. Her first significant role came as Jessica Bennett on the NBC soap opera Passions (1999–2000) and she went on to appear in series such as Tru Calling (2004) and films including the superhero film Sky High (2005). She came to wider attention for her roles in the horror series Wolf Lake (2001–2002), the giant monster film Monster Island (2004), the supernatural horror film Final Destination 3 (2006), the slasher film Black Christmas (2006), and the exploitation horror film Death Proof (2007). ... https://en.wikipedia.org/wiki/Mary_Elizabeth_Winstead
above & below: NoHigher! DS 21 Detail rear by Ikonoto
above: MedRes! DS "Break" on street source: pinterest.com
above: NoHigher! Citroën DS-19 "Break" by: Pinterest
above: MedRes! Citroën DS 19 "Break" Confort by: aussiefrogs below: MedRes! DS 21 "Estate"
above: NEW! MedRes! Citroen DS-19 Combi: Hu. text: Hungarian Retro; autójavító ktsz. a fotó az 1970-es években készült Monoron, készítője ismeretlen. magántulajdonban lévő 6x6 cm-es negatívról. source: regifotok.hu Alapítvány a Kultúra Vizuális Kutatásáért/ https://www.facebook.com/regifotokblog/photos/a
above: NEW! NoHigher! French Citroen DS 21 in a Service photo & source: tumblr.com
above: NEW! HiRes! "Nowadays: Citroen owner in waiting room of a car repair service" source: mellbimbo.eu
above: MedRes! Citroen ID "Break" source: Pinterest
above: MedRes! Citroen "Waggon" source: mvagusta.net
above: MedRes! L'ambulance utilisée dans le tour du monde de Manuel Boileau, à Rio de Janeiro.
above: NEW! NoHigher! Costume Medicinska source: pinterest
above: NoHigher! DS ambulance source: citcity.citroen.info
above: 18+ NEW! MedRes! Charlotte Mckinney as topless nurse.
En. text: Charlotte Ann McKinney (born August 6, 1993 -age 30- Orlando, Florida, U.S.) is an American model and actress who first gained attention as an Instagram personality, eventually achieving wider recognition for her appearance in a Carl's Jr. commercial which aired regionally during Super Bowl XLIX in 2015. ... https://en.wikipedia.org/wiki/Charlotte_McKinney
above: HiRes! Citroen DS ambulance source: carblueprints.info
above: HiRes! Bodywork dimensions: Citroen ID-DS 19 Berline by: smcars.net below: MedRes!
above: HiRes! 1959. Citroën DS 19 - ID 19
MedRes! above: Cross section artwork: diagram of a Citroën DS-19 print by: Sebastien Sauvadet below: NoHigher! Cabrio source: www.Pinterest.com
above: NEW! NoHigher! Juci'bacsi's scanned & edited collection from 1975. Budapest, VII. ker. Liszt Ferenc-tér-square abandopned Műszaki könyvesbolt (Kiadóé volt) american NASA, Air Force, NAVY, NASA's: Woodson & Conover: Hu. text: Ember - Gép - Üzem - Munkahelytervezés" Ergonómiai szakkönyv - Ergonomical profession book by Hu. Műszaki Könyvkiadó, Budapest, 1973. Courtesy FREE!
above: NEW! HiRes! Hungarian author: Surányi Endre types of autos - Autótipusok
above: MedRes! Szextant Juci'bacsi's collect: eng. okl. mk. Liener György: autómérnök 'Autótipusok' 1964. Műszaki Könyvkiadó Budapest. Car casshis types - Hu. text. autó Karosszéria jellegek below: NoHigher! 1971. L. Gy. Autótipusok


above: NoHigher! French text Aerodynamics axis of Citroën GS: source: http://www.citroenet.org.uk/miscellaneous/aero/aero01.html

above: MedRes! profiles Russian drawing below: MedRes! Citroën-DS-19 nose chassis diagram

above: MedRes! (My) DS 19 03.2004. source: citroen-ds-id.com
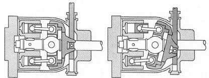
above: HiRes! project: Steering mechanism - Kormánymű below: NoHigher! source: pinterest
above: HiRes! Boite below: NoHigher! source: overblog
above: NEW! HiRes! Cutaway model shows engine set far back from front wheels ("MF layout"), and partially reveals configuration of the oleopneumatic suspension. source: Wikipedia
above: NEW! MedRes! "Owner impatiently waiting before door of the service - A szervízajtó előtt türelmetlenül várakozó tulajdonos" source: facebook/Andrey Bogdanov

above & below: MedRes! The engine Right: Right side source: zoom-citroen.md
above: NEW! MedRes! Light alloy cilinder as bracelet: Talia Ryder 2023 Cannes film festival portrait session may17. 2023. source: celebsdump.com
En. text: Talia Ryder (born August 16, 2002. -age 21- Buffalo, New York, U.S. is an American stage and film actress. ... https://en.wikipedia.org/wiki/Talia_Ryder
above: NoHigher! Juci'bácsi's Book: Hu. text: L. Gy. 'Autótípusok' - Car types 1971.
above: NEW! NoHigher! Citroen DS -21 schnittmodell source: amicale-citroen.de
above: NEW! MedRes! Hungarian Retro Advert from late 1980's: Hu. supermodel Miss. Csák Csilla with Auto mobil CRC Cooler stuffing Spray - CRC Hűtőtömítő Adalék Szpré photo by: Martin Gábor fotó source: facebook/Manökenek a 60-as-70-es-80-as évekből pics from: Mr. Kis Sándor https://www.facebook.com/groups/18060
above: NoHigher! Moteur source: citroenet.org.uk
above: MedRes! Nose cross section INJECTION and impact zone by: dssmpassion.fr
above: NoHigher! source: pinterest below: NoHigher! DS 19 rumble source: wallstreetjournal
above & below L.: NEW! NoHigher! Olesja prepares the DS suspension - Fashion Illustrater
above: NEW! HiRes! DS avec le capot moteur ouvert source: Wikipedia
above & below: NoHigher! Kunstgewerbemuseum - Zürich, Switzerland source: pinterest
above & below: NoHigher! Comparison by: Pinterest
above: HiRes! & below: NoHigher! Prospekte evaluation by: Pinterest/Hemmings.com
NoHigher! above: ds-parts-car-barnfinds.com below: NEW! In India, Hyderabad
above: NoHigher! In Memoriam Dawid Bowie source: pinterest
Fr. text: David Bowie, nom de scène de David Robert Jones, né le 8 janvier 1947 à Londres dans le quartier de Brixton et mort le 10 janvier 2016 à New York dans le quartier de Manhattan2, est un musicien, chanteur, auteur-compositeur-interprète, producteur de disques, peintre et acteur anglais. ... https://fr.wikipedia.org/wiki/David_Bowie
Tina Turner - Tonight (With David Bowie)
NEW! above: NoHigher! 1964. Citroen DS swap-alice-cooper source: autoblog.com below: MedRes! Citroen DS-19 1964. Hotrod source: pinterest.com

above: MedRes! Metalblue Lady
NEW! above: NoHigher! 1964. Citroen DS swap-alice-cooper source: autoblog.com below: MedRes! Citroen DS-19 1964. Hotrod source: pinterest.com

above: MedRes! Metalblue Lady
above: HiRes! Metal blue DS 21 below: NoHigher! Export variant DS 21 to USA
above: NoHigher! Prospektus
above: NoHigher! below: HiRes! Dimensions of Citroën DS 21 "Pallas"
above: NoHigher! 1966. Citroen DS 21 "Pallas"
above: NoHigher! DS 19 prototype source: youngtimerek.blog.hu
above & below: NoHigher! Advertisement - Reklám source: jalopnik.com / citroenet.org.uk
above: MedRes! Citroën DS 19 nemeri telaio - Segni di identificazione nei modelli DS e ID
above Two: MedRes! Parts of karosserie source: Hemmings / Pinterest top: NoHigher!
above: MedRes! Real demo cutaway of DS 19 source: citroenet.org.uk.
above & below: MedRes! Chassis below: Citroen DS galvanized source: thecarhobby.blogspot
above: MedRes! Citroen SM exploded view drawing of karosserie - robbantott rajz
above: NEW! NoHigher! French star actres Eva Gaëlle Green in valve-rood simmering earrings - ~ szelepszárszimmering fülbevalóval on 73Rd annual 'Golden Globe' Award - Díjátadón 2015.
En. text: Eva Gaëlle Green (French: [ɡʁin]; Swedish: [ˈɡɾeːn]; born 6 July 1980) is a French actress and model. She started her career in theatre before making her film debut in 2003 in Bernardo Bertolucci's film The Dreamers. She achieved international recognition when she appeared as Sibylla, Queen of Jerusalem in Ridley Scott's historical epic Kingdom of Heaven (2005), and portrayed Bond girlVesper Lynd in the James Bond film Casino Royale (2006). In 2006, Green was awarded the BAFTA Rising Star Award.
Since 2006, Green has starred in independent films Cracks (2009), Womb (2010), and Perfect Sense (2011). She has also appeared in the television series Camelot (2011), and played Angelique Bouchard in Tim Burton's big-screen adaptation of Dark Shadows (2012). In 2014, she played Artemisia in the 300 sequel, 300: Rise of an Empire, and Ava Lord in Frank Miller's and Robert Rodriguez's Sin City sequel, Sin City: A Dame to Kill For. She also starred as Vanessa Ives in Showtime's horror drama Penny Dreadful. Her performance in the series earned her a nomination for Best Actress in a Television Series – Drama at the 73rd Golden Globe Awards. In 2016, she played the titular character in Tim Burton's fantasy film Miss Peregrine's Home for Peculiar Children. ...
above: NEW! HiRes! Piston rings bracelet on "Pallas Athene's righthand wrist photo by: "Slinky": Aleksandr Lishchinskiy: https://vk.com/1slinky / https://www.facebook.com/Slinky.Aleksandr
18+above: NEW! NoHigher! Agricultural Citroën DS 21 source: pinterest.com
above: NoHigher! DS 21 "Pallas" engine, 2175cc, 109hp 1965. source: cartype
above: MedRes! Citroen DS 19 1954. Original vintage sheet about, Role Des Différents organes. Schéma De La Suspension Hydropneumatique. (Étable PIPART.) source: mad4wheels.com
above: NoHigher! Citroën schema över det hydrauliska servo-bromssystemet - Brake - Bremse system - Fékrendszer. source: Pinterest
above: MedRes! Citroen DS rontgen source:www.franciautoklub.hu
above: MedRes! Citroen-ds röntgen hydropneumatic suspension explained autoevolution
above: MedRes! Citroen DS 19 Courtesy L'Automobile source: tumblr
above: MedRes! Juci'bacsi's collection: Hu. text: Liener György okl. autómérnök: Autótipusok 1964. Műszaki Könyvkiadó Budapest.
above: NEW! HiRes! 1980. Corner of Hungary, Bács-Kiskun county, Kiskunhalas Széchenyi street 53rd main road - Vasút street. DONOR: Ms. Krisztina Slachta PHOTO NUMBER: 118547 - 1980. Magyarország, Bács-Kiskun megye, Kiskunhalas Széchenyi út 53-as főút - Vasút utca sarok. ADOMÁNYOZÓ: Slachta Krisztina KÉPSZÁM: 118547 source: FORTEPAN.huabove: NoHigher! Gina Lollobrigida italian star actress Her bahhahe from DS source: pinterest
It. text: Gina Lollobrigida, nome d'arte di Luigia Lollobrigida (Subiaco, 4 luglio 1927), è un'attrice, cantante e scultrice italiana. Fu una delle attrici europee, oltre che sex symbol, più importanti a livello internazionale degli anni cinquanta e sessanta.
Durante la sua lunga e variegata carriera ha ottenuto numerosi riconoscimenti, tra cui un Golden Globe per il film Torna a settembre, sette David di Donatello e due Nastri d'argento. ...
217.) Zsanai gázkitörés 40 éve Kiskunhalas mellett - Field-gas eruption 1979. jan. 25. Juci-photos & Halasinfo.hu - MN/MH. 36."Gábor Áron" Ö. pct. tü.e. Dr. Benkő Tibor vezds.- HM. - 2Sz3 'Akacia' 152 mm SPH - öj.tar.á.: https://szextant.blogspot.com/2019/01/217-zsanai-gazkitores-40-eve.html

above & below: Juci'bacsi's coll.: MedRes! above: NoHigher! My book foreword (Zanza) My best favourite museal book at my Son, Andrew - Andor


above: NoHigher! Hydraulique DS 19 cover citroen.club

above: HiRes! Real demo cutaway of DS 21 - Reális röntgen metszet source: wikimedia
Cutaway model shows engine set far back from front wheels ("MF layout"), and partially reveals configuration of the oleopneumatic suspension.


above: MedRes! DS 21 Liener György: 'Autótípusok' 1971. Műszaki könyvkiadó Budapest
above: NEW+! HiRes! Juci'bacsi's scan collection from Hu. am Autó-Motor magazin early 1980's: A + Automatika - Automat drive
above & below: MedRes! DS 21: Schéma Électrique - Electrical Wiring Diagram - Schemaele - Citroën DS 21 Elektromos hálózaat Kapcsolási rajz. source: photobucket_bk23.frewe.fr
above: NoHigher! Cutaway of DS 19 - Röntgenrajz

above: Juci'bácsi's collect: Left: MedRes! Citroën SM Right: MedRes! Autótípusok könyv - book Car types
above: Juci'bácsi's collect NoHigher! L. Gy. Autótípusok 1971. Citroën SM
above: NEW! NoHigher! Piston rings bracelet - Dugattyúgyűrű karkötő: Laura Vandervoort sexy for-qp magazine, on december 2019. source: celebsdump.com
Laura Dianne Vandervoort (born September 22, 1984. -age 35- Toronto, Ontario, Canada)Vandervoort was born and raised in Toronto, Ontario. She is the daughter of a Canadian mother and a Dutch father, is a Canadian actress. She is best known for her roles as Sadie Harrison in the CTV teen drama series Instant Star, Arla "The Bolt-Gun Killer" Cogan in the Syfy supernatural drama series Haven, Kara Zor-El (Supergirl) in The CW serial drama series Smallville, and as Lisa in the ABC science fiction series V (2009). In 2014, she starred in the Space drama series Bitten, a television adaptation of Kelley Armstrong's book series Women of the Otherworld as Elena Michaels. ... https://en.wikipedia.org/wiki/Laura_Vandervoort
above: HiRes! Advert for special suspension source: Pinterest.com
above: MedRes! Citroen hydropneumatic suspension explained source: brandpowder

above: Left: MedRes! 3D Basketball - Kosárlabda Right: MedRes! Volley-ball - Strand Röplabda below: NoHigher! Kunstlicher foto source: pinterest
above: NoHigher! DS 19 cutaway artwork source: pinterest
Citroën first introduced this system in 1954 on the rear suspension of the Traction Avant. The first four-wheel implementation was in the advanced DS in 1955. Major milestones of the hydropneumatics design were:
During World War II, Paul Magès, an employee of Citroën, with no formal training in engineering, secretly develops the concept of an oil and air suspension to combine a new level of softness with vehicle control and self-levelling.
1954 Traction Avant 15H: Rear suspension, using LHS hydraulic fluid.
1955 Citroën DS: Suspension, power steering, brakes and gearbox/clutch assembly powered by high pressure hydraulic assistance. A belt driven 7-piston pump, similar in size to a power steering pump, generates this pressure when the engine is running.

Hydropneumatic suspension is a type of motor vehicle suspension system, designed by Paul Magès, invented by Citroën, and fitted to Citroën cars, as well as being used under licence by other car manufacturers, notably Rolls-Royce (Silver Shadow), Maserati (Quattroporte II) and Peugeot. It was also used on Berliet trucks and has more recently been used on Mercedes-Benz cars. Similar systems are also used on some military vehicles. The suspension was referred to as oléopneumatique in early literature, pointing to oil and air as its main components.
The purpose of this system is to provide a sensitive, dynamic and high-capacity suspension that offers superior ride quality on a variety of surfaces.
A hydropneumatic system combines the advantages of two technological principles:
Hydraulic systems use torque multiplication in an easy way, independent of the distance between the input and output, without the need for mechanical gears or levers
Pneumatic systems are based on the fact that gas is compressible, so equipment is less subject to shock damage.
Gas absorbs excessive force, whereas fluid in hydraulics directly transfers force
The suspension system usually features both self-leveling and driver-variable ride height, to provide extra clearance in rough terrain.
The principles illustrated by the successful use of hydropneumatic suspension are now used in a broad range of applications, such as aircraft oleo struts and gas filled automobile shock absorbers, first patented in the U.S. in 1934 by Cleveland Pneumatic Tool Co. This type of suspension for automobiles was inspired by the pneumatic suspension used for aircraft landing gear, which was also partly filled with oil for lubrication and to prevent gas leakage, as patented in 1933 by the same company. Other modifications followed, with design changes such as the 1960 "Double stage oleo-pneumatic shock absorber" patented by Peter Fullam John and Stephan Gyurik.
Hydropneumatic suspension has a number of natural advantages over steel springs, generally recognized in the auto industry.
Suspension and springing technology is not generally well understood by consumers, leading to a public perception that hydropneumatics are merely "good for comfort". They also have advantages related to handling and control efficiency, solving a number of problems inherent in steel springs that suspension designers have previously struggled to eliminate.
Although auto manufacturers understood the inherent advantages over steel springs, there were two problems. First, it was patented by the inventor, and second it had a perceived element of complexity, so automakers like Mercedes-Benz, British Leyland (Hydrolastic, Hydragas), and Lincoln sought to create simpler variants using a compressed air suspension.
Citroën's application of the system had the disadvantage that only garages equipped with special tools and knowledge were qualified to work on the cars, making them radically different from ordinary cars with common mechanicals.
The nitrogen gas (air) as spring medium is approximately six times more flexible than conventional steel, so self-leveling is incorporated to allow the vehicle to cope with the extraordinary suppleness provided. France was noted for poor road quality in after World War II, but the hydropneumatic suspension as fitted to the Citroën ID/DS and later cars reportedly ensured a smooth and stable ride there.
Hydropneumatic suspension offers no natural roll stiffness. There have been many improvements to the system over the years, including steel anti-roll bars, variable ride firmness (Hydractive), and active control of body roll (Citroën Activa). ... en.wikipedia.org/Hydropneumatic_suspension
above: NEW+! HiRes! Juci'bacsi's Scan of original Citroën ID-19 prospekte from early 1960's by Hu. R.I.P. Mr. Miller József"s -79 y.o. In Memoriam (VBKM works' electric engineer) legacy - hagyatékából -Budapest II. ker. Pesthidegkút- (to be Contiuning!)

above Three: NoHigher! Schematics below: MedRes! Frontal suspension
above: MedRes! En. text: DS 19 Parts of front suspension Avant. source: citroencardclub.co.uk
above: NoHigher! DS-19 pivot below: MedRes! Centrepoint steering source: driftforum.pl
above: NEW! Huiman modelling of Independent Suspension - A Független kerékfelfüggesztés emberi modellezése. source: mellbimbo.eu
above: NEW! NoHigher! Tire preparator master source: Pinterest
above: NEW! HiRes! Proposed street surface for Citroen's suspension - Javasolt utcafelület a Citroen felfüggesztéshez. artisty XIAOMI smartphone Photo 2019. aug.25. Croatian Adriatic shore, Stary Grad city by: Hu. Ms. Bártfai Mária from Veszprém city
above: NEW! MedRes! Ideal full of dunes road for hydropneumatic suspension mellbimbo.eu
above: NEW! MedRes! Hungarian Old Timer OT 51-58 Citroën DS-21 on a Hu. "good" surface road Photo by: Hu. Mr. Nagy Attila grinding - köszörűs specialist source: facebook.com
above: NoHigher! Trace DS
above & below: NoHigher! Suspension Hydropneumatique source: citroencarclub.co.uk

above: MedRes! Juci'bácsi's coll.: Citroën GS Hu. "Delta Magazin" 1973. also Courtesy FREE!
above: NoHigher! Citroen GS same as systemabove: NEW! NoHigher! GS' Very soft suspension system source: Pinterest
above: NoHigher! Juci'bá"s coll.: Hu. text: Liener Györy: Autótípusok - Car types 1971. book

above: MedRes! below: NoHigher! The hydropneumatics system De., Fr., Fr. texts.:
Basic mechanical layout: This system uses a belt or camshaft driven pump from the engine to pressurise a special hydraulic fluid, which then powers the brakes, suspension and power steering. It can also power any number of features such as the clutch, turning headlamps and even power windows. - Nitrogen is used as the trapped gas to be compressed, since it is unlikely to cause corrosion. A nitrogen reservoir with variable volume yields a spring with non-linear force-deflection characteristics. In this way the resulting system does not possess any eigenfrequencies and associated dynamic instabilities, which need to be suppressed through extensive damping in conventional suspension systems. The actuation of the nitrogen spring reservoir is performed through an incompressible hydraulic fluid inside a suspension cylinder. By adjusting the filled fluid volume within the cylinder, a leveling functionality is implemented. The nitrogen gas within the suspension sphere is separated from the hydraulic oil through a rubber membrane. ...
Functioning: At the heart of the system, acting as pressure sink as well as suspension elements, are the so-called spheres, five or six in all; one per wheel and one main accumulator as well as a dedicated brake accumulator on some models. On later cars fitted with Hydractive or Activa suspension, there may be as many as ten spheres. Spheres consist of a hollow metal ball, open to the bottom, with a flexible desmopan rubber membrane, fixed at the 'equator' inside, separating top and bottom. The top is filled with nitrogen at high pressure, up to 75 bar, the bottom connects to the car's hydraulic fluid circuit. The high pressure pump, powered by the engine, pressurizes the hydraulic fluid (LHM) and an accumulator sphere maintains a reserve of hydraulic power. This part of the circuit is at between 150 and 180 bars. It powers the front brakes first, prioritised via a security valve, and depending on type of vehicle, can power the steering, clutch, gear selector, etc.
Pressure flows from the hydraulic circuit to the suspension cylinders, pressurizing the bottom part of the spheres and suspension cylinders. Suspension works by means of a piston forcing LHM into the sphere, compacting the nitrogen in the upper part of the sphere; damping is provided by a two-way 'leaf valve' in the opening of the sphere. LHM has to squeeze back and forth through this valve which causes resistance and controls the suspension movements. It is the simplest damper and one of the most efficient. Ride height correction (self levelling) is achieved by height corrector valves connected to the anti-roll bar, front and rear. When the car is too low, the height corrector valve opens to allow more fluid into the suspension cylinder (e.g., the car is loaded). When the car is too high (e.g. after unloading) fluid is returned to the system reservoir via low-pressure return lines. Height correctors act with some delay in order not to correct regular suspension movements. The rear brakes are powered from the rear suspension circuit. Because the pressure there is proportional to the load, so is the braking power. ... https://en.wikipedia.org/wiki/Hydropneumatic_suspension
above: NEW! MedRes! Citroen-Cx rear Hydropneumatic gear - hátsóhíd - source: Juci'bácsi's archive: Liener Gy.: Autótipusok 1977. Budapest MK - Műszaki Könyvkiadó
above: MedRes! Juci'bá's coll.: L. Gy. AT. 1971. Citroen GS
above: NEW! MedRes! Citroen Cx cross section drawing photo source: Juci'bácsi's collection scan, Liener György Autótipusok 1977 Műszaki Könyvkiadó, Budapest 1977
above: HiRes! Citroen CX longitudinal cross section drawing blueprint source: citroenvie
above: HiRes! Citroën SM longitudinal cross section drawing blueprint - cutaway

above: NoHigher! source: citroends.blog
Hu. text: Hidropneumatikus felfüggesztés:
A Citroën először 1954-ben, a Traction Avant 15H modell hátsó felfüggesztésénél alkalmazta ezt a rendszert, majd az 1955-ben bemutatott DS modellben vezette be teljes körűen. Az ötlet Paul Mages Citroën-mérnök nevéhez fűződik. Eleinte a rendszer teljesen mechanikusan működött, későbbiekben elektronikus felügyeletet kapott. A Rolls-Royce és a Mercedes-Benz is megvette a találmányt egyes típusaikhoz.
A felfüggesztés működéséből fakadóan kényelmessé, ugyanakkor stabillá teszi az autót. A hidropneumatikus felfüggesztéssel szerelt modellekben a klasszikus rugók és lengéscsillapítók hiányoznak, helyettük úgynevezett „gömbök" veszik át a rugózás és csillapítás szerepét. A minden egyes keréknél megtalálható gömb felső fele nagynyomású nitrogéngázzal töltött, alsó fele pedig olajjal, a kettőt gumimembrán választja el egymástól. A kerekekről érkező ütéseket az olaj továbbítja a membránra és a fölötte lévő gáz „légpárnaként" működik, így nyelve el az útegyenetlenség hatásait. A rendszert olajjal egy szivattyú látja el, ami gondoskodik a rendszer állandó nyomásának fenntartásáról. Az alkatrészek közötti réseken elfolyó folyadékot a szivattyú visszajuttatja a rendszerbe, így egy keringés jellegű folyamatot tart fent.
Ezzel a módszerrel sokkal finomabb és lágyabb rugózás érhető el a hagyományos acélrugós megoldáshoz képest. A lágy rugózásnál megjelenő fokozottabb süllyedést a rendszer kompenzálja az olajoszlop növelésével. A nitrogéngáz rugózási mutatója ugyanakkor progresszív, azaz minél nagyobb az azt érő nyomás, annál keményebbé válik. Ebből következően a hidropneumatikus rugózás terheléstől függetlenül azonos hasmagasságot és azonos rugózási karakterisztikát biztosít, miközben a rugózást igény szerint lágyra hagyhatjuk.
A hidropneumatikus rugózás nem teszi ringatózóvá az autó mozgását, mivel az összenyomódás után a gáz rövidebb idő alatt visszanyeri eredeti alakját, mint az acélrugó. A felfüggesztés sajátossága, hogy változtatható az autó hasmagassága is, terepviszonyoktól függően. ...
above: NoHigher! Hu. text. Tasks of Suspension - A felfüggesztés feladatai, rugószabályozás. source: mogi.bme.hu
above & below Two: NoHigher! System Diagrams
above: NoHigher! The basic hydropneumatics system.

above: NoHigher! HydroPneumatik source: kfz.tech.de.
above: NoHigher! De. text: The dampfer. below: NoHigher! Insert
above: NEW! NoHigher! Shematics cross-section diagram

above: Left: MedRes! source: tonyfoale.com Right: MedRes! Suspension Unit
NoHigher! above: source: mogi.bme.hu below: source: podolsk.ru
above: NoHigher! Cylinder source: belsoseg.blog.hu Cilinderek below: Left: MedRes! Right: MedRes! source: mogi.bme.hu

103.) STRV-103 "Stridsvagn" MBT - "S" harckocsi - "Chock" - "Ék - Féktuskó" - "Wedge"_ 'Panzer Carrera' - PVB-302, Ikv-91, Lamborghini 'Countach'. https://szextant.blogspot.com/2014/06/103-strv-103-stridsvagn-mbt-s-harckocsi.html
above: MedRes! DS 19 moteur and hidraulics balls below: NoHigher! DS from 1973.
above: NoHigher! MICHELIN or KLEBER tyre pattern on sunbathing girl
18+above: NEW! MedRes! After cleaning: #Brigitte Bardot on the sand of beach source: Pinterest
Fr. text: Brigitte Bardot (également connue sous les initiales de « BB »), née le 28 septembre 1934 à Paris, est une actrice de cinéma, mannequin, chanteuse et militante de la cause animale française.
Figure féminine des années 1950 et 1960, elle est une star mondiale, l'égérie et la muse de grands artistes de l'époque. Emblème de l'émancipation des femmes et de la liberté sexuelle de cette époque, elle incarne des rôles de femme-enfant et de femme fatale.
Elle tourne avec plusieurs grands réalisateurs, interprétant des personnages à l'élégante légèreté et à la sensualité photogénique. Elle devient rapidement un sex-symbol et acquiert une renommée internationale. Avec à son actif 45 films et plus de 70 chansons en près de 21 ans de carrière, Brigitte Bardot est une des artistes françaises les plus célèbres au monde.
En 1973, elle met un terme à sa carrière d'actrice pour se consacrer à la défense des droits des animaux, notamment avec la création de la fondation Brigitte-Bardot. À partir des années 1990, elle suscite le débat en raison de prises de position hostiles à la montée de l'islam en France et aux égorgements rituels d'animaux sans étourdissement préalable. ... https://fr.wikipedia.org/wiki/Brigitte_Bardot
above: NEW! NoHigher! Citroen DS 21 in a Parisian street source: pinterest.com
above: MedRes! Low & Height position source: wikipedia.org

above: Left: MedRes! Links Right: HiRes! Citroën DS Schnitt Vorderrad Wikimedia-Commons
above: HiRes! The real hydropneumatic suspension with most variable links
above: MedRes! MD Solid Works' 3D graphics HPVControl device argo hytos Hydro-pneumatic suspension systems Control-device below: HiRes! source: linde-hydraulics.com
above: NoHigher! Citroën-DS-19 Block Diagram source: citroen-ds-id.com
above: NoHigher! Height Correctors below: NoHigher! Manual height control
above: NoHigher! "Nike-Pneumatic"
En. text: An axial piston pump is a positive displacement pump that has a number of pistons in a circular array within a cylinder block. It can be used as a stand-alone pump, a hydraulic motor or an automotive air conditioning compressor.
An axial piston pump has a number of pistons (usually an odd number) arranged in a circular array within a housing which is commonly referred to as a cylinder block, rotor or barrel. This cylinder block is driven to rotate about its axis of symmetry by an integral shaft that is, more or less, aligned with the pumping pistons (usually parallel but not necessarily). ... wikipedia.Axial_piston_pump
18+above: NoHigher! Ringing
NoHigher! Fuite Pompe - Axial Piston Hydraulic Pump - Búvárdugattyús Szivattyú

Hu. text: Dugattyús szivattyú: A térfogatváltozást hengerben mozgó dugattyú valósítja meg, az áramlás irányát pedig (általában önműködő) szelepek vezérlik. A dugattyús szivattyúk néha több hengerrel készülnek, vannak differenciáldugattyús megoldások is. Működési elv szempontjából a membránszivattyúk is ide tartoznak. Ezeknél a dugattyú és a henger tömör elzárására szolgáló rugalmas membrán kizárja a közegnek a dugattyúrúd melletti kiszivárgását. Ma a legnagyobb nyomások eléréséhez dugattyús szivattyúkat használnak. A dugattyús szivattyúk folyadékszállítása működési elvükből adódóan nem egyenletes, ez gondot okozhat egyes esetekben, ilyenkor különböző eszközökkel (például több henger alkalmazása, légüst beépítése) csökkentik az egyenetlenségeket. ...
above: NEW! NoHigher! The Axial piston pump source: Pinterest.com

above: Left: MedRes! Right: MedRes! below: NoHigher! Axial Piston Pump
Izotov TV2-113A NR-40 Axial Piston Pump - Búvárdugattyús Vezérlőszivattyú Mi-8 'Hip':
above: 18+NEW! HiRes! Traverse disc Hungarian World Topmodel Ms. Palvin Barbara's headtop by American 'Sports Illustrated' magazine source: pinterest
Barbara Palvin (pronounced [ˈbɒrbɒrɒ ˈpɒlvin]; born 8 October 1993. -age 26- Budapest, Hungary) is a Hungarian model. She first appeared in the Sports Illustrated Swimsuit Issue in 2016. In 2019, she became a Victoria's Secret Angel. ... https://en.wikipedia.org/wiki/Barbara_Palvin
above: NEW+! HiRes! Juci'bacsi's Scan of original Citroën ID-19 prospekte from early 1960's by Hu. R.I.P. Mr. Miller József"s -79 y.o. In Memoriam (VBKM works' electric engineer) legacy - hagyatékából -Budapest II. ker. Pesthidegkút-
above: NoHigher! Fr. text: Légende des Circuits sur Réservoir below: MedRes! Brake system
above: NoHigher! DS 19's Brake Control source: technik_frein-dsidclubdefrance.net
above: MedRes! 1966. Citroen DS 21 chapron decapotable clutch & brake & throttle jalopnik
above: NEW! HiRes! Citroen style shoes for pedals pushing source: Pinterest.com
above: NEW! NoHigher! Juci'bacsi's scanned & edited collection from 1975. Budapest, VII. ker. Liszt Ferenc-tér-square abandopned Műszaki könyvesbolt (Kiadóé volt) american NASA, Air Force, NAVY, NASA's: Woodson & Conover: Hu. text: Ember - Gép - Üzem - Munkahelytervezés" Ergonómiai szakkönyv - Ergonomical profession book by Hu. Műszaki Könyvkiadó, Budapest, 1973. Courtesy FREE!
above: NoHigher! Juci'bácsi's Hu. Book L. Gy. Autótípusok. Citroen DS brake
above & below Two: MedRes! DS 'Solidworks' 3D graphics technology about DS 19 1959.French made Avion Marcel Dassault - Dassault System's ' Solidworks' 3D graphics software
Dassault Systèmes (English /dəˈsoʊ/; French pronunciation: [daˈso]; abbreviated 3DS), "The 3DEXPERIENCE Company", is a European multinational software company that develops 3D design, 3D digital mock-up, and product lifecycle management (PLM) software. ...
above: NoHigher! French made hydropneumatic suspensioned AMX-10RC Recon panzer
above: NoHigher! 'Solido' diecast model - Felderítőpáncélos below: NoHigher! ARV
The AMX-10RC is a light reconnaissance vehicle built by GIAT. Over 300 are in service in the French Army. In addition, 108 vehicles were sold to Morocco and 12 to Qatar. RC stands for Roues-Canon, or wheeled gun. The AMX-10RC should not be confused with the AMX-10P; they share automotive components but otherwise have completely different battlefield roles. The AMX-10RC is usually used for reconnaissance missions in dangerous environments or for fire support.
L'AMX-10 RC est un engin blindé de reconnaissance-feu (reconnaître et riposter en cas d'attaque) construit par Giat Industries aujourd'hui Nexter Systems (Ateliers de construction d'Issy-les-Moulineaux - AMX), de classe 20 tonnes, à roues et canon (RC signifie « Roues-Canon » et non « Reconnaissance » comme on peut le lire parfois, il s'agit bien de l'appellation qui a toujours été utilisée par le constructeur). Le projet débuta en 1970 et la production en série commença en 1976.
above: MedRes! AMX-10RC on train
above: NEW! NoHigher! An ideal foot suzspensiuon source: facebook/Andrei Bogdanov
NoHigher! above: BMD-1 on parad early 1970's below: Prototype and back PT-76PT-76, BTR-50: http://szextant.blogspot.hu/2015/06/159-pt-76-amphibious-light-swimming.html
The BMD-1 is a Soviet airborne amphibious tracked infantry fighting vehicle, which was introduced in 1969 and first seen by the West in 1970. BMD stands for Boyevaya Mashina Desanta (Боевая Машина Десанта, literally "Combat Vehicle of the Airborne"). It can be dropped by parachute and although it resembles the BMP-1 it is in fact much smaller. The BMD-1 was used as an IFV by the Soviet Army's airborne divisions. An improved variant of the BMD-1 was developed, the BMD-2. The BMD-1 also provided a basis for the BTR-D airborne multi-purpose tracked APC. ... https://en.wikipedia.org/wiki/BMD-1
above & below: NoHigher! Prepare for drop - Four view drawing
above: Left: MedRes! BMD-1 original cutaway cross section Right: MedRes! Color cutaway
above & below: NoHigher! The hydropneumatics system of BMD-1
Maneuverability: The vehicle is powered by a 5D-20 6-cylinder 4-stroke V-shaped liquid cooled 15.9 liter diesel engine, which develops 270 hp (201 kW) at 2,600 revolutions per minute. The engine drives a manual gearbox with five forward and one reverse gear.
The BMD-1 has a maximum road speed of 80 kilometers per hour, reducing to around 45 kilometers per hour off-road and 10 kilometers per hour while swimming.
The BMD-1 can climb 0.8 meter high vertical obstacles, cross 1.6 meter wide trenches and 30% side slopes. It can climb 60% gradients. The BMD-1 has a ground pressure of 0.57 kg/cm².
The 230 mm wide track is driven at the rear and passes over five small evenly spaced road wheels suspended on independent torsion bars. On each side there is an idler wheel at the front, a rear drive sprocket and four track-return rollers. The independent suspension combines a hydraulic system for altering the ground clearance and maintaining the track tension with pneumatic springs, which enables the ground clearance to be altered from 100 mm to 450 mm. Alterable ground clearance allows easier transportation in an airplane. ... BMD-1Maneuverability
above: NoHigher! BMD-1 suspension below: MedRes! BMD's hydropneumatics actuator
above: MedRes! BMD-1 loading to IL-76 106th guards Airborne Division below: MedRes! BMD-2 from 106th GABD

NoHigher! above: IFOR BMD-2 in Kosovo below: Dessantnhikyi Girl at BMD-1
БМД-1 (боевая машина десантная — 1) — советская боевая гусеничная плавающая машина, предназначена для использования в воздушно-десантных войсках и десантирования парашютным или посадочным способом с военно-транспортного самолёта типа Ан-12 и Ил-76. Принята на вооружение в 1969 году. ... ru.wikipedia.org/wiki/BMD-1
above: NoHigher! Scan from SU Armed Forces public book 1972 (I have got it somewhere?)
above: NoHigher! Bronya - Armor: Krilatoy Pehoti - Winged Infantry - Páncélban: Szárnyas Gyalogság
above: MedRes! MBT 70 model of the final design below: NoHigher! Encyclopedia of safety
De. text: Der Kampfpanzer 70 (KPz 70; englisch Main Battle Tank 70, MBT-70) war Mitte der 1960er-Jahre ein Gemeinschaftsprojekt zwischen den USA und Deutschland. Die Entwicklung endete 1971 mit der Einstellung des Vorhabens. Auf den Ergebnissen der Entwicklungsarbeit bauen die Kampfpanzer Leopard 2 und M1 Abrams auf. ... wiki/Kampfpanzer_70
above: NoHigher! MBT-70 source: encyclopedia of safety
above & below: NoHigher! The suspension

above: HiRes! Heart of the MBT's hydropneumatics suspension source: armor.kiev.ua
above: HiRes! Indian made 'Arjun' MBT's HP suspension Track Wheels & HSU source: trishulo
above: MedRes! main parts of the MBT
above: MedRes! Layout Cross section drawing of the MBT source: fprado.com
The MBT-70 (German: KPz 70) was a 1960s German-U.S. joint project to develop a new main battle tank, which was to be equipped with a number of advanced features. It utilized a newly developed hydropneumatic "kneeling" suspension and housed the entire crew in the large turret. The MBT-70 was armed with a 152mm XM150 gun/launcher, which could use conventional ammunition and the Shillelagh missile for long range combat.
By 1969 the project was well over budget and Germany withdrew from the effort. They developed a new main battle tank on their own, the Leopard 2. In the US, MBT-70 development continued for a short time, until 1971 when Congress cancelled the program. They began development of a less expensive design, which became the M1 Abrams. Although the MBT-70 failed to enter service, the Leopard 2 and M1 are the current main battle tanks of both countries. ... wiki/MBT-70
above: MedRes! Interior arrangement of the MBT-70 Kpz.
above: NoHigher! MBT- Main Battle Tank Kpz.70 - Kamfpanzer 70 scale 1:35 'Dragon' model
above: NEW! HiRes! Juci'bacsi's OLYMPUS 'Camedia' photo on Hungary LHPA - Pápa Hu.DF. MH. PBRT's - Pápa Bázisrepülőtér NATO-NAMA's C-17s HAW open day in august of 2010.: No Hydropneumatics suspension! 'Push-Back' aircraft towing Tractor.

above: MedRes! Citroen DS "Break" Military Ambulance 1960 Verde Green source: abc.brianza
above: NEW+! HiRes! Coming the French-style Hydropneumatic Expert to "Chally" near Palm Springs CO photo: Ian L. Sitren U.S.A. 'Second Focus': https://www.facebook.com/SecondFocus/ source: Hungarian Google G+ Collector: Mr. Bányiczki Zoltán Pin-Up Expert
above: MedRes! British Army's MBT "Challenger-II" with Hydropneumatic suspension
above: NEW! NoHigher! World famous South African actress Charlize Theron in khaki camouflagfe curtain clothes. source: pinterest.com
En. text: Charlize Theron (/ʃɑːrˈliːz ˈθɛrən/; Afrikaans: [ʃarˈlis ˈtrɔn]; born 7 August 1975. -age 48- Benoni, Transvaal, South Africa) is a South African and American actress and producer. One of the world's highest-paid actresses, she is the recipient of various accolades, including an Academy Award and a Golden Globe Award. In 2016, Time named her one of the 100 most influential people in the world. ... https://en.wikipedia.org/wiki/Charlize_Theron
above: NoHigher! below: HiRes! DS 19 In military color source: first4auto.com/superunleaded.com
above: HiRes! STRV-103 in pitch to forward - előre bólintásban source: Revinge

above: MedRes! Juci'bácsi's collect: Hu. text: 'Haditechnika Fiataloknak' Zrínyi Katonai Kiadó 1970 - STRV-103 "Swedish Chock" Hydropneumatic suspension.
STRV-103 "Stridsvagn": http://szextant.blogspot.hu/2014/06/103-strv-103-stridsvagn-mbt-s-harckocsi.html
above: NEW! NoHigher! Juci'bácsi's collect: Hu. text: Autó Motor am magazin early 1970's: Miért húz el a kocsi? - Why the car traverses? also Courtesy FREE!
above: NoHigher! DS 19 steering gear - Raccord Orientable source: salvadsie.fr
above: MedRes! Developing preparation in motorpool - Fejlesztő javítás az autószerelő mű-ben
above: NoHigher! Marcello Geppetti 1933-1998 Carlo Ponti, Sophia Loren, e Vittorio De Sica in Roma in 1961. source: Pinterest
It. text: Sophia Loren, nome d'arte di Sofia Villani Scicolone (Roma, 20 settembre 1934), è un'attrice italiana. Tra le più celebri attrici della storia del cinema, la Loren entra nel mondo della settima arte giovanissima e si impone ben presto, agli inizi degli anni cinquanta, come sex symbol grazie al corpo da maggiorata. Da Vittorio De Sica sarà diretta in film come La ciociara, che le valse l'Oscar alla migliore attrice, il primo dato ad un'attrice in un film non in lingua inglese e l'unica attrice insieme a Marion Cotillard a detenere questo record. Nel 1965, per il film Matrimonio all'italiana, riceverà una seconda candidatura all 'Oscar, mentre nel 1991 le verrà assegnato un Oscar alla carriera.
Durante la sua lunga carriera, ha vinto 2 Oscar, 5 Golden Globe, un Leone d'oro, la Coppa Volpi a Venezia, un Prix d'interprétation féminine a Cannes, un Orso d'oro alla carriera a Berlino, un BAFTA, 9 David di Donatello (di cui quattro riconoscimenti speciali) e 3 Nastri d'argento. Nel 1999, l'American Film Institute (31 premi) ha inserito la Loren al ventunesimo posto tra le più grandi star della storia del cinema, fra le 25 attrici della classifica la Loren è l'unica attrice ancora in vita. ... https://it.wikipedia.org/wiki/Sophia_Loren
above & below: NoHigher! DS 21 IE "Pallas" Jean Gabin & Fernandel in movie "Jacob Rabbi" pint
Fr. text: Jean Gabin, d'état civil Jean Alexis Moncorgé, est un acteur français, né le 17 mai 1904 à Paris (9e arr.) et mort le 15 novembre 1976 à Neuilly-sur-Seine.
Il commence sa carrière comme chanteur de revue et d'opérette, puis s'impose à l'écran, devenant une figure incontournable du cinéma français. « Gueule d'amour » tournant avec les réalisateurs importants de l'entre-deux-guerres comme Julien Duvivier ou Jean Renoir, il devient, après la guerre (où il s'est engagé comme marin, puis chef de char au sein du régiment blindé des fusiliers-marins des Forces françaises libres), un « pacha » au physique imposant et au regard sombre incarnant la plupart du temps des rôles de truands ou de policiers, toujours avec la même droiture, dans des films bien souvent dialogués par Michel Audiard. ... https://fr.wikipedia.org/wiki/Jean_Gabin


Fernand Joseph Désiré Contandin (8 May 1903 – 26 February 1971) (aged 67), better known as Fernandel, was a French actor and singer. Born in Marseille, France, to Désirée Bedouin and Denis Contandin, originating in Perosa Argentina, an Occitan town located in the province of Turin. He was a comedy star who first gained popularity in French vaudeville, operettas, and music-hall revues. His stage name originated from his marriage to Henriette Manse, the sister of his best friend and frequent cinematic collaborator Jean Manse. So attentive was he to his wife that his mother-in-law amusingly referred to him as Fernand d'elle ("her Fernand"). ... en.wikipedia.org/Fernandel
above: NoHigher! #French-actor, #Jean Paul#Belmondo in DS 19 source: dsidclubdefrance.fr
IN#Memoriam J. P. #Belmondo age 88. 2021. september 06.
Jean-Paul Belmondo (French: [ʒɑ̃pɔl bɛlmɔ̃do]; born 9 April 1933) is a French actor initially associated with the New Wave of the 1960s and one of the biggest French film stars of the 1960s, 1970s and 1980s. His best known credits include Breathless (1960) and That Man from Rio (1964). ... https://en.wikipedia.org/wiki/Jean-Paul_Belmondo
Fr. text: Jean-Paul Belmondo, né le 9 avril 1933 à Neuilly-sur-Seine, -86 ans- Neuilly-sur-Seine, Seine (France) est un acteur français. Il a été également producteur de cinéma et directeur de théâtre.
Alternant dans les premières années de sa carrière des films populaires et d'Art et Essai avant de pencher nettement pour la première catégorie, sa gouaille de titi parisien et ses cascades sans doublure contribuent à en faire rapidement l'une des plus grandes vedettes du cinéma français. Champion incontesté du box-office au même titre que Louis de Funès et Alain Delon à la même époque, Jean-Paul Belmondo a attiré dans les salles, en cinquante ans de carrière, près de 130 millions de spectateurs ; entre 1969 et 1982, il a joué à quatre reprises dans les films les plus vus de l'année en France : Le Cerveau (1969), Peur sur la ville (1975), L'Animal (1977), L'As des as (1982), égalant le record de Fernandel et n'étant dépassé sur ce point que par Louis de Funès ... https://fr.wikipedia.org/wiki/Jean-Paul_Belmondo
above: NoHiger! Juci'bácsi's scan: Liener György: Autótípusok 1964. könyv - book
Mercedes: http://szextant.blogspot.hu/2014/02/mercedes-benz-slk-car-salon-at-veszprem.html
HiRes! above: Vintage photo: DS-19 dashboard - műszerfal below: DS-19 from 1967

above: DS 19: Left: MedRes! Pinterest Right: MedRes! British side source: aussiefrogs.com
above: NEW! NoHigher! Hu. text: 10 formabontó kormánykerék szériaautókban Citroën DS 1955 source: totalcar.hu

above: MedRes! DS 19: Famous French actor, #Alain#Delon in 'Samurai' source: Pinterest/Flickr
Hu. text: Alain Delon (születési neve Alain Fabien Maurice Marcel Delon, Sceaux, 1935. november 8. –) francia színész, filmrendező, producer. Az 1950-es évek végétől filmez. Az 1960-as években készült filmjeivel vált ismertté, és népszerűségét sikerült tartósan megőriznie. Az 1980-as években rendezőként is bemutatkozott. Mítoszához számtalan nőügye, illetve testőreinek rejtélyes halálában játszott, teljes egészében sosem tisztázott szerepe is hozzájárult. ... hu.wikipedia.org/Alain_Delon
In Memoriam for two great French Actors
above: NEW! NoHigher! Hu. text: A két hatalmas színész: 2017. Alain Delon, 81 éves, Jean-Paul #Belmondo IM hamarosan, április 9-én tölti be 84. életévét. source: facebook - Örexem,hu
above & below: NEW! NoHigher! Le Cerveau: Belmondo & Bourvil in ID-19 source: canalblog.com
above: MedRes! DS 21 dashboard - műszerfal
above: NoHigher! DS 21 chapron 1966. decapotable dash source: Automobile-Magazine
above: HiRes! DS 21 source: dreamaticl.com
above: NoHigher! Italian - French actor Lino#Ventura IM in DS 21 as copo
Born as Angiolino Giuseppe Pasquale Ventura in Parma, Italy to Giovanni Ventura and Luisa Borrini, who moved to France soon thereafter, "Lino" dropped out of school at the age of eight and later took on a variety of jobs. At one point Ventura was pursuing a prizefighting and professional wrestling career but had to end it because of an injury.
In 1953, by chance, one of his friends mentioned him to Jacques Becker who was looking for an Italian actor to play opposite Jean Gabin in a gangster movie called Touchez pas au grisbi. Becker offered him on the spot the role of Angelo, which Ventura refused at first but then accepted. He had such a presence in the movie that the whole profession took notice.
Ventura started to build up an acting career in similar hard-boiled gangster movies, often playing beside his friend Jean Gabin. Some of his most famous roles include the portrait of corrupt police chief Tiger Brown in 1963's The Threepenny Opera and mob boss Vito Genovese in The Valachi Papers. ... https://en.wikipedia.org/wiki/Lino_Ventura
In 1953, by chance, one of his friends mentioned him to Jacques Becker who was looking for an Italian actor to play opposite Jean Gabin in a gangster movie called Touchez pas au grisbi. Becker offered him on the spot the role of Angelo, which Ventura refused at first but then accepted. He had such a presence in the movie that the whole profession took notice.
Ventura started to build up an acting career in similar hard-boiled gangster movies, often playing beside his friend Jean Gabin. Some of his most famous roles include the portrait of corrupt police chief Tiger Brown in 1963's The Threepenny Opera and mob boss Vito Genovese in The Valachi Papers. ... https://en.wikipedia.org/wiki/Lino_Ventura

above: MedRes! #Jacqueline#Bisset sites in not Citroen! for #VOGUE Magazine Paris, November 1973. Photo by Jean Jacques Bugat
Winifred Jacqueline Fraser Bisset ("biss-it" /'bɪsɪt/; born 13 September 1944) is an English actress. In 2010, she received France's highest honours, the Légion d'honneur.
Bisset began her film career in 1965 and first came to prominence in 1968 with roles in The Detective, Bullitt, and The Sweet Ride, for which she received a most promising newcomer Golden Globe nomination. In the 1970s, she starred in Airport (1970), Day for Night (1973) which won the Academy Award for Best Foreign Language Film, Murder on the Orient Express (1974), The Deep (1977), and Who Is Killing the Great Chefs of Europe? (1978), which earned her a Golden Globe nomination as Best Actress in a Comedy.
Other film and TV credits include Rich and Famous (1981), Class (1983), her Golden Globe nominated role in Under the Volcano (1984), her Cesar nominated role in La Cérémonie (1995), her Emmy nominated role in the miniseries Joan of Arc (1999) and the BBC miniseries Dancing on the Edge (2013), for which she won a Golden Globe Award for Best Supporting Actress (television). ... https://en.wikipedia.org/wiki/Jacqueline_Bisset
above: HiRes! Citroen DS 19 cabriolet pre-serie par chapron source: en.wheelsage.org
above: NoHigher! Citroen DS Marcello#Mastorianni IM & Elsa Martinelli source: pinterest
above: NoHigher! It. actor #Marcello Mastroianni drives DS 19 source: dsidclubdefrance.net
It. text: Marcello Mastroianni, all'anagrafe Marcello Vincenzo Domenico Mastrojanni (Fontana Liri, 28 settembre 1924 – Parigi, 19 dicembre 1996), è stato un attore cinematografico italiano.
È stato tra gli interpreti italiani più conosciuti ed apprezzati all'estero negli anni sessanta e settanta, soprattutto per le pellicole recitate in coppia con Sophia Loren e per i ruoli da protagonista nei film di Federico Fellini.
Capace di destreggiarsi perfettamente sia nei ruoli drammatici che in quelli comici, è considerato con Vittorio Gassman, Nino Manfredi, Alberto Sordi e Ugo Tognazzi uno dei grandi interpreti o "mostri" della commedia all'italiana o comunque si affianca ad essi. ... it.wikipedia.org/Marcello_Mastroianni
Citroen DS 19 1954. above: MedRes! below: Left: MedRes! Right: MedRes! source: Pinterest
above: MedRes! DS 19 gauge
above: HiRes! Developed "half-digital" DS 21 gauge block
above: NoHigher! DS 19 19 cabriole la croisette - round instruments/gauges carsenglobe.com

above: DS 21: Left: MedRes! automuseumonline.com Right: MedRes! Autoradio
above: NoHigher! DS 23 British right side variant below: MedRes!
above: HiRes! That during preparation. Verey interesting the Brake distance index in spedometer.
above: MedRes! 'Smiths' gauges: Temp & Volts
above: NoHigher! Electronic dasgboard clock: 'Jaeger' below: MedRes!
above: NEW! NoHigher! Citroën DS-interior source: pinterest
above: MedRes! DS 21 tableau jubile and seats source: aussiefrogs.
Luxury interiors & dashboards: above: MedRes! source: first4auto below: NoHigher! Other
above: NoHigher! Mad-Max Citro below: MedRes! DS 19 source: citroends
Fr. text: Louis de Funès de Galarza, dit Louis de Funès, est un acteurfrançais né le 31 juillet 1914 à Courbevoie et mort le 27 janvier 1983 à Nantesn 1.
Ayant joué dans plus de cent quarante films, il est l'un des acteurs comiques les plus célèbres du cinéma français de la seconde moitié du xxe siècle et réalise les meilleurs résultats du cinéma français, des années 1960 jusqu'au début des années 1980 : les films dans lesquels il apparaît attirent plus de 270 millions de personnes dans les salles1. Il réalise également les meilleures audiences télévisées, cumulant plus de 400 millions de téléspectateurs en France, avec la rediffusion de ses 90 films les plus célèbres. ... fr.wikipedia.org/wiki/Louis_de_Funes
Hu. text: Louis de Funès (fonetikusan: /lwi də fyˈnɛs/) (teljes nevén Louis Germain David de Funès de Galarza) (Courbevoie, 1914. július 31. – Nantes, 1983. január 27.) francia komikus, színész.
Franciaországban letelepedett spanyol nemesi családban látta meg a napvilágot 1914. július 31-én. Apja Carlos Louis de Funes de Galarza (1871–1934), sevillai származású ügyvéd, utóbb gyémántműves, anyja Léonor Soto Reguera (1879–1957), háztartásbeli volt, spanyol-gallego (spanyolországi portugál) családból való, rokona volt egy prominens galíciai politikusnak, Teolindo Soto Barrónak. Első házasságát 1936. április 27-én kötötte Saint-Étienne-ben. Az ara Germaine Louise Elodie Carroyer (1915. március 7. – 2011. november 28.) volt, akitől egy fia született 1937. július 12-én (Daniel Charles Louis). 1942. november 13-án elváltak, s Louis másodszorra is megnősült 1943. ápril 12-én. Ezúttal Jeanne Augustine Barthélémy-vel (1914. február 1. – 2015. március 7.), Guy de Maupassant unokahúgával kötötte össze az életét. Ebből a házasságból két fia született: Patrick Charles (1944. január 27. –), radiológus és Olivier Pierre (1949. augusztus 11. –), pilóta az Air France-nál. Pályája igencsak nehezen indult, egyre-másra bocsátották el állásából, míg végül bárzongorista lett. Kiváló zenei hallását később számos filmben kamatoztatta (például Az ügyefogyott, Főnök inkognitóban, Lányok pórázon). .. hu.wikipedia.org/Louis_de_Funes
Franciaországban letelepedett spanyol nemesi családban látta meg a napvilágot 1914. július 31-én. Apja Carlos Louis de Funes de Galarza (1871–1934), sevillai származású ügyvéd, utóbb gyémántműves, anyja Léonor Soto Reguera (1879–1957), háztartásbeli volt, spanyol-gallego (spanyolországi portugál) családból való, rokona volt egy prominens galíciai politikusnak, Teolindo Soto Barrónak. Első házasságát 1936. április 27-én kötötte Saint-Étienne-ben. Az ara Germaine Louise Elodie Carroyer (1915. március 7. – 2011. november 28.) volt, akitől egy fia született 1937. július 12-én (Daniel Charles Louis). 1942. november 13-án elváltak, s Louis másodszorra is megnősült 1943. ápril 12-én. Ezúttal Jeanne Augustine Barthélémy-vel (1914. február 1. – 2015. március 7.), Guy de Maupassant unokahúgával kötötte össze az életét. Ebből a házasságból két fia született: Patrick Charles (1944. január 27. –), radiológus és Olivier Pierre (1949. augusztus 11. –), pilóta az Air France-nál. Pályája igencsak nehezen indult, egyre-másra bocsátották el állásából, míg végül bárzongorista lett. Kiváló zenei hallását később számos filmben kamatoztatta (például Az ügyefogyott, Főnök inkognitóban, Lányok pórázon). .. hu.wikipedia.org/Louis_de_Funes
FINA French Oil Firma
above: MedRes! DS doors-open source: mazarinef.wordpress.com
above: NoHigher! Citroen DS Probably the
most famous car brochure ever. And for sure an outstanding specimen. It
was done just for the Italian market in 1969 with pictures of world
famous photograph Helmut Newton, printed. source: themarquisblogger.wordpress.comabove: MedRes! beige tholonet int or clair below: MedRes!
18+above: NEW! HiRes! French #sexual-ikon #Laetitia Casta Lying naked in a similar pose as if it were on a #Citroen seats. <Instead of a "rabid dog running around" the back window is also very good - "Bólogató kutya" helyett a hátsó ablakba is nagyon jó> photo by: Boucles D'Oreilles Personnelles source: PinCelebs.net
En. text: Laetitia Marie Laure Casta (French: [lɛtisja kasta]; born 11 May 1978. -age 41- Pont-Audemer, Normandy, France) is a French actress and model.
Casta became a "GUESS? Girl" in 1993 and gained further recognition as a Victoria's Secret Angel from 1998 to 2000 and as a spokesperson for cosmetics company L'Oréal. She has appeared on over 100 covers of such popular magazines as Cosmopolitan, Vogue, Rolling Stone, Elle and Glamour, and has modeled for designers such as Yves Saint Laurent, Jean-Paul Gaultier, Chanel, Ralph Lauren, Tommy Hilfiger, J. Crew, Louis Vuitton, Givenchy, Roberto Cavalli, Lolita Lempicka, and Vivienne Westwood.
Casta became an established actress, appearing in the films Gainsbourg: A Heroic Life (2010), in which she portrayed sex symbol Brigitte Bardot, Face (2009) and The Blue Bicycle (2000), as well as the play Ondine at the theatre Antoine. ... https://en.wikipedia.org/wiki/Laetitia_Casta
Fr. text: Laetitia Casta, née le 11 mai 1978 à Pont-Audemer (Eure), est une actrice, mannequin et réalisatrice française.
Elle devient mannequin dès l'âge de 15 ans et, rapidement, est remarquée par photographes et stylistes. Jean Paul Gaultier est le premier à la faire défiler.
Elle entame une carrière d'actrice en 1999 au cinéma, avec le film Astérix et Obélix contre César, puis en 2004 au théâtre avec le rôle-titre d’Ondine.
Elle est, en 2000, le modèle de l'un des bustes de Marianne. Elle est faite chevalier de l'ordre des Arts et des Lettres en 2012.
En 2016, elle réalise son premier court métrage, En moi, qu'elle présente à la Semaine de la critique du Festival de Cannes. ...
above: NoHigher! italian/French actor, Lino Ventura in movie. source: youtube
Fr. text: Lino Ventura, est un acteur né en Italie qui a réalisé la plus grande partie de sa carrière cinématographique en France, né le 14 juillet 1919 à Parme (Italie) et mort le 22 octobre 1987 à Saint-Cloud (France).
Fils d'immigrés italiens, Lino Ventura fut d'abord lutteur professionnel (il fut champion d'Europe poids moyens en 1950) avant de devenir par hasard acteur aux côtés de Jean Gabin dans Touchez pas au grisbi qui rencontre le succès à sa sortie en salle en 1954. D'abord habitué à des seconds rôles d'hommes de main ou de brutes, il devient une vedette dès la fin des années 1950 grâce à des films comme Le Gorille vous salue bien et Le fauve est lâché. Alternant les comédies à succès, parfois dialoguées par Michel Audiard, telles Les Tontons flingueurs, Les Barbouzes, Ne nous fâchons pas, L'aventure c'est l'aventure ou La Gifle, et des drames et polars comme Les Grandes Gueules, Le Deuxième Souffle, Le Clan des Siciliens, L'Armée des ombres ou Garde à vue, il est pendant deux décennies l'un des acteurs les plus populaires du cinéma français, et rentable au box-office avec 130 millions d’entrées.
Père de quatre enfants dont une fille handicapée, il fut le fondateur avec sa femme Odette en 1966 de l'association Perce-Neige, destinée à venir en aide aux personnes handicapées mentales.
https://fr.wikipedia.org/wiki/Lino_Ventura
above: HiRes! DS POLICE source: Pinterest
above: NoHigher! Gendarmerie - Csendőrség-i DS source: Pinterest.com
above: HiRes! DS POLICE source: Pinterest
above: NoHigher! Gendarmerie - Csendőrség-i DS source: Pinterest.com
above: NEW! NoHigher! The Victim of a Citroën DS 21 source: pinterest.com
NoHigher! above: DS 19 Seat-belts points below: Chassis floor deck
above: NEW! NoHigher! Renault 'Caravelle' versus DS-19 accident source: Pinterest.com
210s: Me-210/410 'Hornisse', SE-210 'Caravelle', Renault 'Caravelle' & 'Floride', Caravella:
above: MedRes! This legend was a car designer almost by accident. source: petrolicious.com
above: NEW! NoHigher! Citroen cabrio
above: MedRes! Bettina Lauer Paris 1963. Citroen DS Cabrio source: drive-my.com
above: NEW! HiRes! Hungary, Budapest 1960. Danube Hotel: Peugeot 403, Citroen DS-19, Renault 'Dauphine' - Photo and DONOR: Mr. Sandor Bauer PHOTO NUMBER: 112880 - 1960. Duna-szálló: Peugeot 403, Citroen DS-19, Renault 'Dauphine' - Fotó és ADOMÁNYOZÓ: Bauer Sándor KÉPSZÁM: 112880 source: FORTEPAN.hu
above: MedRes! DS 19 cabrio below: NEW! NoHigher! Cabrio nowadays
Sir Thomas Sean Connery (/ˈʃɔːn ˈkɒnəri/; born 25 August 1930) is a retired Scottish actor and producer who has won an Academy Award, two BAFTA Awards (one of them being a BAFTA Academy Fellowship Award) and three Golden Globes (including the Cecil B. DeMille Award and a Henrietta Award). He was knighted by Elizabeth II in July 2000 after receiving Kennedy Center Honors in the US in 1999.
Connery was the first actor to portray the character James Bond on screen, starring in seven Bond films between 1962 and 1983. In 1988, Connery won the Academy Award for Best Supporting Actor for his role in The Untouchables. His film career also includes such films as Marnie, The Name of the Rose, The League of Extraordinary Gentlemen, Indiana Jones and the Last Crusade, The Hunt for Red October, Finding Forrester, Highlander, Murder on the Orient Express, Dragonheart, and The Rock.
Connery has been polled as "The Greatest Living Scot" and "Scotland's Greatest Living National Treasure". In 1989, he was proclaimed "Sexiest Man Alive" by People magazine, and in 1999, at age 69, he was voted "Sexiest Man of the Century". ... en.wikipedia.org/wiki/Sean_Connery
Jane Mallory Birkin, OBE (born 14 December 1946) is an English actress, singer, and songwriter based in France. She is also known for her relationship and musical partnership with Serge Gainsbourg in the 1970s and being the namesake of the popular Hermès Birkin bag. In recent years she has written her own album, directed a film and become an outspoken proponent of democracy in Myanmar. ... https://en.wikipedia.org/wiki/Jane_Birkin
above: MedRes! Citroën DS 19 Cabriolet d'Usine Factory Convertible-1964. Paris Retromobile 2013. source: wikipedia.org
above: 18+ NEW! MedRes! Violett Beane see through to tits photoshoot by Nick Rasmussen march 2023. source: celebsdump.com
En. text: Violett Beane (born May 18, 1996. -age 28- St. Petersburg, Florida, U.S.) is an American actress. She played Jesse Wells/Jesse Quick in The CW's The Flash, as well as Markie Cameron in the 2018 horror film Truth or Dare. From 2018 to 2020, she starred as Cara Bloom in the CBS television series God Friended Me. In 2024, she starred as Imogene Scott in the Hulu mystery series Death and Other Details. .. https://en.wikipedia.org/wiki/Violett_Beane
above: NoHigher! DS 21 cabrio below: MedRes! source: hirhatar.com

above: Left: MedRes! Right: HiRes! UK spec edition: DS 19 coupe - kupé interior - belső 1962. Pinterest/Lifestyle.blog
18+NEW! Eliza Cummings topless & nude in Citroen DS. above: BigRes! below: Left: MedRes! Right: NoHigher! source: pincelebs.net & The fappening.pm-Celebrity-Drunken Stepphoto leaks & Purple Magazine
Eliza Cummings (born 25 January 1991. -age 31- Portsmouth, England) is an English model. Cummings has appeared on covers of Dazed & Confused, i-D, Sunday Times Style Magazine and Vogue Italia and has appeared in editorials for Dazed & Confused, i-D, Interview, Sunday Times Style Magazine, V magazine, Vogue, Vogue Italia, Vogue Japan, Vogue UK and W Magazine. She has appeared in campaigns for many brands including Balenciaga, Calvin Klein, Coach, Costume National, Juicy Couture, Paul Smith, River Island, Top Shop, Vivienne Westwood and Uniqlo. Cummings starred in a TV commercial for Yves Saint Laurent's men's fragrance YSL L'Homme de Nuit with Vincent Cassel. She has walked in fashion shows for Anna Sui, Custo Barcelona, DKNY, Lanvin for H & M, Katie Grand Loves Hogan, Jeremy Scott, Loewe, Louis Vuitton, Marc Jacobs, Mark Fast, Oscar de la Renta, Rag & bone, Rodarte and Vivienne Westwood. ...
above: NoHigher! The red carpet
above: NEW! HiRes! "One of the cylinder from engine block - Egy darab henger a motorblokkból." - French actress #Eva Gaëlle Green red gown campari 2015. - similar than in movie '#James Bond 007 agent' "Casino Royale" -2006.- with Daniel Craig, part of sequence of Ian Flemming. #CAMPARI's advert campaign. Site: HOTEL #CORINTHIA: Hungary, Budapest H-1073 Erzsébet körút 43-49 https://www.corinthia.com/en/hotels/budapest/destination/location source: Pinterest.com
Fr. text: Eva Green [ˈgʁeːn] Écoutern 1 est une actrice française, née le 6 juillet 1980 à Paris.
Elle fait ses débuts au théâtre au début des années 2000 et décroche une nomination aux Molières. Elle se fait remarquer en 2003 dans le film de Bernardo Bertolucci, Innocents: The Dreamers.
Lauréate d'un Rising Star Award en 2006, elle alterne par la suite superproductions, telles que Casino Royale — où elle interprète la James Bond girl Vesper Lynd — Kingdom of Heaven ou 300 : La Naissance d'un empire, et films indépendants comme Cracks, Womb, Dark World, White Bird ou encore Perfect Sense avec comme partenaire à l'écran Ewan McGregor.
Elle a également joué dans la série Penny Dreadful de 2014 jusqu'à la fin de celle-ci en 2016, qui lui vaut l'acclamation des critiques et une vague de récompenses et nominations.
Nouvelle muse du réalisateur Tim Burton, elle a tourné à trois reprises sous sa direction : Dark Shadows, Miss Peregrine et les Enfants particuliers et elle est attendue dans l'adaptation live du classique Disney, Dumbo. ...
Hu. text: Eva Gaëlle Green (Franciaország, Párizs, 1980. július 5. –) francia színésznő és modell.
Eva Green Párizsban született 1980-ban. Édesanyja Marlène Jobert francia színésznő, édesapja Walter Green francia-svéd fogorvos. Apai ágon a híres francia zeneszerző, Paul Le Flem dédunokája. Egy kétpetéjű ikertestvére van, Joy (Johanne). Tanulmányait Párizsban, angol nyelvű iskolákban végezte (American School of Paris, American University of Paris). Kezdetben az egyiptológia vonzotta, majd 14 évesen úgy határozott, színésznő lesz. Bár anyja kezdetben féltette a színészi pályától, mert túl érzékenynek tartotta hozzá, később minden támogatást megadott neki. ... https://hu.wikipedia.org/wiki/Eva_Green
above: MedRes! Citroën SM, GS, DS 19 coupé Chapron source: pinterest
above: NEW! HiRes! Evi Koc during autostop by: Swiss, Ricchy photography
above: NEW! NoHigher! From Hungarian Toy-collector Thomas Zvada Tamás facebook
above: NEW! MedRes! Hu. text: Magyarország, Tolna megyeszékhely, Szekszárd Hotel Gemenc a Mészáros Lázár utca felől 1972. photo: Kiss Géza source: Fortepan.hu
above: NEW! NoHigher! Hungarian manequin Bodó Sztenya HUNGAROTEX - Budapest in Citroen logo pattern suit source: facebook: Manökenek a (80-as évekből) Szedres Mariann
above: NEW! HiRes! 1974. Hungary, Baranya County, Pécs: Széchenyi square, opposite the Jamie. MR - Hungarian Police Magazine - 1974. Magyarország, Baranya-megye, Pécs: Széchenyi tér, szemben a Dzsámi. MR - Magyar Rendőr magazin source: FORTEPAN.hu
above: Juci'bacsi's collect: Hu. book: L. Gy. Autótípusok 1971. Citroen GS & Pininfarina
above: NEW! MedRes! Amphibian Car in Amsterdam canal and DS on shore
Amphy cars, LuAZ-967, Schwimmwagen, DUKW: http://szextant.blogspot.hu/2015/09/167-967-luaz-967m-water-zaporozsec.html
above: NEW! NoHigher! The Italian made 'Riva' "Aquarama" #fast #luxury motorboat as a >Water Citroen< with #BB - #Brigitte Bardot & Sami Frey in Saint-Tropez 1963. source: Pinterest
above: NEW! NoHigher! Citroen cabrio source: pinterest
above: NEW! NoHigher! Citroen logo style pattern retro swimsuit bikini source: Pinterest
above: MedRes! Citroën DS "Palm Beach" Décapotable by Henri Chapron 1965. source: pinterest
above: HiRes! (Crop!) Citroen DS convertible-l source: joihnywheels.com & below: NoHigher! Citroën DS 23 Décapotable by Henri Chapron source: pinterest.com
above: MedRes! #Retro #fashion: from #Paule Ka fashion designer https://www.facebook.com/paulekaparis/
PAULE KA is a French ready-to-wear brand, created in 1987 by Serge Cajfinger.
Born in Lille in 1955, Serge Cajfinger spent his childhood in Brazil; he returned to France in 1968. In 1974, he opened a multi-brand store in Lille known as PAULE KA. Serge Cajfinger later left Lille for Paris to set up a designer label under the same name, opening the first ever PAULE KA store in 1987 in the heart of Paris’ Marais district. Inspired by the grace and elegance of 50’s and 60’s style icons including Jackie Onassis Kennedy, Audrey Hepburn and Princess Grace Kelly, he sought to bring a modern twist to their timeless elegance. The brand's style is geometric and sober, sophisticated yet urban, with some lasting characteristics such as black dresses, must-have bags and the use of bows. ... https://en.wikipedia.org/wiki/Paule_Ka
Fr. text: Paule Ka: Au fil des saisons, Paule Ka a su séduire grâce à des collections modernes et sans fioritures. Simplicité, coupes épurées, les vêtements de la marque jouent la carte de l'élégance. Serge Cajfinger, le créateur de la griffe, lance une ligne de sac qui en reprend les codes… ... https://www.tendances-de-mode.com/2007/05/06/168-paule-ka-laffaire-est-dans-le-sac
above: NEW! NoHigher! (Cropped!) Exhibition in the Hu. new 'Museum of the Traffic' in Budapest: DS 21 and back the Hu. design 'Árpád' rail-bus - sínautóbusz photo: Papajcsik Péter source: index.hu
NEW! Hu. text article: Nagyapáink futurisztikus, de ma már élhetetlen Budapestet álmodtak nekünk:
Betonlábakon álló, háromsávos autópályák szabdalta Budapest és szinte kifogástalan kötöttpályás vasúti koncepciók; ezek megvalósításával adtak volna sajátos arculatot fővárosunknak. Ha az akkori elképzelések megépültek volna, talán rá sem ismernénk saját fővárosunkra. Hogy az elmúlt 100 év grandiózus terveiből mi nem valósult meg és miért, arról a Közlekedési Múzeum új, időszaki kiállítása ad átfogó képet.
Nem túl gyakran rendeznek kiállítást olyan dolgoknak, illetve eseményeknek a bemutatására, amik sohasem történtek meg, olyan terveknek, melyek soha nem váltak valósággá. Most a Közlekedési Múzeum azonban épp erre vállalkozott, felvillantva olyan – papíron maradt – víziókat is, melyek magvalósításának elmaradásáért nem lehet elég hálás az utókor.
A legextrémebb ezek közül az a 30-as, 40-es években az Egyesült Államokból importált elképzelés, mely a fővárost a rajta keresztül vezetett autópályákkal szabdalta volna darabokra. A koncepció járulékos veszteségként számolt azzal, hogy elődjeink simán lebontották volna Budapest történelmi belvárosát, csak hogy 2x3 sávos autópályát építsenek a mai Király utca helyére. Ez a rémálom a Klauzál térnél csatlakozott volna a belváros szövetébe, és valahol a Deák tér környékén ért volna véget.
Amint arra Vitézy Dávid, a múzeum (leköszönését bejelentő) igazgatója rámutatott, ennek nyomai ma is láthatók, hiszen az íves ház kialakítása jelzi a Madách téren a beérkezési pontot, és a Gozsdu udvar mögött is volt egy lyuk a városszerkezetben, ami ennek a urbanisztikai téveszmének a megvalósulását szolgálta. (Azóta már néhány oda épült irodaház töltötte ki a mesterséges űrt.) ... https://index.hu/belfold/2022/06/21/nagyapaink-futurisztikus-de-ma-mar-elhetetlen-budapestet-almodtak-nekunk/
above: NoHigher! A Film by Andrew Niccol: GATTACA; Cast: Ethan Hawke, Gore Vidal, Uma Thurman, Jude Law.
DS 21 Cabrio: above: NoHigher! below: MedRes! source: hirhatar.com
above: MedRes! DS 19 cabrio 1963. below: NoHigher! DS 19 cabrio
above: NoHigher! Cary Grant famous Hollywood actor in DS cabrio. source: Pinterest
Cary Grant (born Archibald Alexander Leach; January 18, 1904 – November 29, 1986) was a British-American actor, known as one of classic Hollywood's definitive leading men. He began a career in Hollywood in the early 1930s, and became known for his transatlantic accent, debonair demeanor, and light-hearted approach to acting and sense of comic timing. He became an American citizen in 1942. ... https://en.wikipedia.org/wiki/Cary_Grant
above: MedRes! Hollywood star actress, Julia Roberts similar seat than Citroen's
Julia Fiona Roberts (born October 28, 1967) is an American actress and producer. She became a Hollywood star after headlining the romantic comedyPretty Woman (1990), which grossed US $464 million worldwide. She has won three Golden Globe Awards (out of eight nominations), and has been nominated for four Academy Awards for her film acting, winning the Academy Award for Best Actress for her performance in Erin Brockovich (2000). ... wikipedia.Julia_R
above: MedRes! DS 19 coupe 1960.
above: HiRes! Chapron Dandy below: NoHigher! DS 19 source: pinterest
above: NEW! MedRes! Citroën DS 21 Vanity Fair fashion photo - divatfotó source: Pinterest
above: NEW+! NoHigher! Candice Swanepoel sits on suitcases before trip in the Hotels room.
Candice Susan Swanepoel (/ˈswɒnəpuːl/; Afrikaans: [svanɛˈpul]; born 20 October 1988. -age 31.- Mooi River, Kwa-Zulu Natal, South Africa) is a South African model and philanthropist. She is known for her work with Victoria's Secret. In 2016, she was listed 8th on the Forbes top-earning models list. ... https://en.wikipedia.org/wiki/Candice_Swanepoel
above: MedRes! DS 19 from 1955. source: caradvice.com.au
above: MedRes! DS 21 source: dsinasia.com
18+above: NEW! HiRes! Briana Holly model lying naked on Citroen seat source: pincelebs.net
Signed model of Wilhelmina Models Los Angeles/Miami, One.1 New York and No Ties Management San Diego who has earned over 1.5 million followers on Instagram. ... https://www.famousbirthdays.com/people/bryana-holly.html
above: NoHigher! DS 19
above: NoHigher! Citroën DS 19 le my the de la deesse source: autodeclics.com
above: MedRes! Citroen DS source: citprint-danandreiblog.com
above: NEW! NoHigher! Citroën in U.S.A. source: pinterest
above: MedRes! DS' rear mirror: model Claudia Schiffer VOGUE Italia 2008 source: Pinterest
Claudia Schiffer (* 25. August 1970 in Rheinberg) ist ein deutsches Model und Schauspielerin. Schiffer wuchs mit drei jüngeren Geschwistern als Tochter des Rechtsanwalts Heinz Schiffer und seiner Frau Gudrun in Rheinberg am Niederrhein auf. Sie besuchte hier zunächst die katholische Grundschule St. Peter, später das Amplonius-Gymnasium. Als Kind war es ihr Wunsch, später Anwältin in der Kanzlei ihres Vaters zu werden. 1987 verwarf sie ihre Pläne, Jura zu studieren, als sie in Düsseldorf in der Diskothek Checker’s von Michel Levaton, dem Geschäftsführer der Modelagentur Metropolitan, entdeckt wurde. ... de.wikipedia.org/Claudia_Schiffer
above & below: NoHigher! DS 19 Rear view source: pinterest.com
above: NEW! NoHigher! Brunette in classic car DS 1969 by Stefan Brauchli
above: DS 19: Left: MedRes! pinterest Right: MedRes! vespamore-uk.blogspot.com
above: 18+ NEW! NoHigher! sunbathing car hitchhiker girl - napozó autóstoppos lány source: facebook/Andrei Bogdanov
above: NoHigher! DS 19 TAXI below: MedRes! Champs-Élysées, on back Arc de Triomphe
above: NEW! BigRes! In memoriam french actor Alain Delon 1935 - 2024. 08. 17. source: index.hu/instagram X
above: NEW! HiRes! 1964. France, Paris: Triumphal Arch viewed from the Champs Élysées. DONOR: MZSL / Mr. Károly Ofner PICTURE: 41980 - 1964. Franciaország, Párizs: Diadalív a Champs Élysées-ről nézve. ADOMÁNYOZÓ: MZSL/Ofner Károly KÉPSZÁM: 41980 source: FORTEPAN.hu
above: MedRes! Arc de Triomphe - a Diadalív
above: NoHigher! Ro. text: Municipiul București: Arcul de Triumf este un monument situat în partea de nord a Bucureștiului, în sectorul 1, la intersecția șoselei Kiseleff cu bulevardele Constantin Prezan, Alexandru Averescu și Alexandru Constantinescu. Monumentul, proiectat de Petre Antonescu, a fost construit în perioada 1921-1922, renovat în perioada 1935-1936, și din nou renovat începând din 2014.El comemorează victoria României în Primul Război Mondial.
Ro. text: București este capitala României și, în același timp, cel mai populat oraș și cel mai important centru industrial și comercial al țării. Populația de 1.883.425 de locuitori (2011) face ca Bucureștiul să fie al zecelea oraș ca populație din Uniunea Europeană. Conform unor estimări ale unor specialiști, Bucureștiul adună zilnic peste trei milioane de oameni, iar în următorii cinci ani, acest număr va depăși patru milioane. La acestea se adaugă faptul că localitățile din preajma orașului, care vor face parte din viitoarea Zonă Metropolitană, însumează o populație de aproximativ 430.000 de locuitori. ... https://ro.wikipedia.org/wiki/Bucure%C8%99ti
above: NEW! MedRes! Arc de Triomphe by night source: facebook.com
61.) Morane Saulnier MS-760 'Paris' (Párizs) Jet l'ancètre des bizjet, le ''véhicule de liaison'' des généraux - et amiraux - français des 60's ! l'Aéronautique navale -Párizs - Paris he Movie mattei case - Gian Marian Volonté - Cinema: https://szextant.blogspot.com/2014/04/61-morane-saulnier-ms-760-paris-parizs.html
above: NEW! NoHigher! Czechoslovakien Mladá Bolesláv made 'Skoda'-1000MB on Champ Élysée alley
Cz. text: ŠKODA AUTO a.s. je největší český výrobce automobilů. Sídlo společnosti je v Mladé Boleslavi, v rámci ČR má dva další výrobní závody v Kvasinách a ve Vrchlabí a jako odštěpný závod vlastní Střední odborné učiliště strojírenské. Jediným vlastníkem je od roku 2007 společnost Volkswagen Finance Luxemburg S.A. se sídlem v Lucemburku.
Škoda Auto je dlouhodobě největší českou firmou podle tržeb, největším českým exportérem a jedním z největších českých zaměstnavatelů. Společnost byla celkem čtrnáctkrát vyhlášena českou firmou roku v soutěži Českých 100 nejlepších.
Firma historicky navazuje na společnost Laurin & Klement, která se v roce 1925 se stala součástí strojírenského koncernu Akciová společnost, dříve Škodovy závody v Plzni, od roku 1930 nesla název Akciová společnost pro automobilový průmysl (ASAP) a spolu s mateřskou firmou se v období II. světové války stala součástí nacistického gigantu Reichswerke AG für Erzbergbau und Eisenhütten „Hermann Göring“. Po válce se v rámci totální reorganizace a zestátnění průmyslu osamostatnila pod novým názvem Automobilové závody, národní podnik (AZNP) a značku Škoda používala pouze pro výrobky. Po pádu centrálně řízeného hospodářství se podnik vrátil k historickému názvu, od roku 1990 jako Automobilový koncern ŠKODA a.s. a od roku 1991, po privatizaci koncernemVolkswagen Group, jako ŠKODA, automobilová a.s.. Současný název užívá od roku 1997. ... https://en.wikipedia.org/wiki/Skoda_Auto
above: HiRes! Juci'bacsi's collect: Paris detail tourist map - Párizs részletes túristatérkép
Paris (prononcé [pa.ʁi]) est la capitale de la France. Elle se situe au cœur d'un vaste bassin sédimentaire aux sols fertiles et au climat tempéré, le bassin parisien, sur une boucle de la Seine, entre les confluents de celle-ci avec la Marne et l'Oise. Ses habitants s’appellent les Parisiens. Paris est également le chef-lieu de la région Île-de-France et l'unique commune française qui est en même temps un département. Commune centrale de la Métropole du Grand Paris, créée en 2016, elle est divisée en arrondissements, comme les villes de Lyon et de Marseille, au nombre de vingt. L’État y dispose de prérogatives particulières exercées par le préfet de police de Paris. ... wikipedia.
above: NEW! MedRes! Aerial photo - Légifénykép source: PPS
18+above: NEW! MedRes! "Parisian sniper-director over streets." Berlini, Fotografiai múzeum source: index.hu
above: NEW! MedRes! Arc de Triomphe: Bird eye viuew - Madártávlati látvány source: PPS
above: NEW! MedRes! Le défilé militaire du 14 Juillet: GIAT/Nexter MBT AMX-56 'Leclerc' tanks on Champ-elisée occasion of the (victory parade) "Bastille Day" military parade, also known as the 14 July military parade. source: https://en.wikipedia.org/wiki/Bastille_Day_military_parade
181.) F-1 Formula Racing Car’s moderne digital Steering Yoke-Wheels and similar to acf & tank's yoke. Nürburgring, Monaco MonteCarlo ring, Colin Chapman, Bernie Ecclestone, Enzo Ferrari: https://szextant.blogspot.com/2016/05/181-f-1-formula-racing-cars-moderne.html
above: NEW! MedRes! Champ Elysée alley: FIAT-850, DS-19, Peugeot, Renault R-4 PPS

above: NEW! MedRes! Hungarian Home Denfender Tradition keepers: in middle highest My old friend, former arty Kadet res.ret.1st.Lt. Mordényi Endre t.nyá. fhdgy. volt nagyváradi Tüzér Hadapród Honvéd hagyományőrző öreg barátom (középen a legmagasabb) Székesfehérvárról- saluting at the Eternal Flame - Tisztelegnek az Ismeretlen katona sírjánál az örökmécsesnél. in early 1990's
above: MedRes! Arc de Triomphe in Washington Square Park in NEW YORK CITY - Christmas tree - An establishing shot of in Manhattan. source: mellbimbo.eu
above: NEW! NoHigher! Brigitte Bardot draped in the flag of France, 1967.
Hu. text: Brigitte Bardot (Párizs, 1934. szeptember 28. –) francia színésznő, énekesnő, állatvédő. Az igazi, tiszta szexepilt ábrázolta egy meglehetősen prűd korszakban. Ruhái, frizurái megszabták az 1960-as évek divatirányzatát. Merész szerepei miatt sokan a bűn megtestesítőjének tekintették akkoriban. ... https://hu.wikipedia.org/wiki/Brigitte_Bardot
above Two: NEW! NoHigher! retrospective: Citroën DS 19 Décapotable – The first Chapron at filling station source: pinterest.com
NEW! MedRes! above: British BP Benzine filling Station - Tankstelle - Üzemanyag töltőállomás below: CALTEX at Riviera source: PPS
above: NEW! NoHigher! Lake Balaton Hotel "Helikon" Keszthely's shore Hu. Riviera 1960's. It before from left:? Barkas furgon/microbus, Citroën DS 19, Opel "'Kadett"' Fortepan.hu
Balaton WC: http://szextant.blogspot.hu/2014/07/107-balatoni-szennyezes-viztisztasag.html
above: MedRes! 1972. Hungary, Budapest XIV. Fifty-Six Square (Parade-square) .DONOR: Mr. Gyula Nagy PHOTO NUMBER: 50137 - 1972. Magyarország, Budapest XIV. Ötvenhatosok tere (Felvonulási tér).ADOMÁNYOZÓ: Nagy Gyula KÉPSZÁM: 50137 - source: FORTEPAN.hu
Hungary Budapest Dózsa György-út-alley at Building HQ of Trade Union ironworkers - Vasas szakszervezet székházánál behind Városliget mögött - City-park mid 1970's and there the Citroen source: PPS-Fortepan.hu
above: MedRes! Budapest map - karta - térkép - Citroen parking source: Topográf
Budapest (prononcé [by.da.ˈpɛst] , hongrois : Budapest [ˈbu.dɒ.pɛʃt]; allemand : Budapest ou anciennement Ofen-Pesth) est la plus grande ville et la capitale de la Hongrie. Elle se situe en aval du coude du Danube entre le massif de Transdanubie et l'Alföld. Ses habitants sont les Budapestois (en hongrois, budapesti, -ek). ... https://fr.wikipedia.org/wiki/Budapest
above: NoHigher! Citroen DS opposit Budapest, Parlament building by designer Steindl Imre source: Pinterest https://hu.wikipedia.org/wiki/Orsz%C3%A1gh%C3%A1z
above: MedRes! Bruxelles - Brussels "Atomium" with DS source: Pinterest
The Atomium ( /əˈtoʊmiːəm/ ə-toh-mee-əm) is a building in Brussels originally constructed for Expo 58, the 1958 Brussels World's Fair. Designed by the engineer André Waterkeyn and architects André and Jean Polak, it stands 102 m (335 ft) tall. Its nine 18 m (60 ft) diameter stainless steel clad spheres are connected so that the whole forms the shape of a unit cell of an iron crystal magnified 165 billion times. It is now a museum.
Tubes of 3 m (10 ft) diameter connect the spheres along the 12 edges of the cube and all eight vertices to the centre. They enclose stairs, escalators and a lift (in the central, vertical tube) to allow access to the five habitable spheres which contain exhibit halls and other public spaces. The top sphere includes a restaurant which has a panoramic view of Brussels. CNN named it Europe's most bizarre building. ... https://en.wikipedia.org/wiki/Atomium

above: NEW! NoHigher! Juci'bacsi's photo: PRAKTICA MTL-2; 'Atomium' Bruxelles summer of 1999. occasion of F-16 rent from BAF & NAF

above: NEW! NoHigher! Juci'bacsi's photo: PRAKTICA MTL-2; 'Atomium' Bruxelles summer of 1999. occasion of F-16 rent from BAF & NAF
above: NEW! NoHigher! Citroen's generations

above: NoHigher! Citroen: TA-DS-CX-XM-C6 source: Haut-de_piccklick.ch
above: HiRes! DS 21 with SA-BAC 'Concorde' supersonic airliner below: NoHigher! Pinterest
above: NoHigher! Yuri Gagarin star
Yuri Alekseyevich Gagarin (Russian: Ю́рий Алексе́евич Гага́рин; IPA: [ˈjʉrʲɪj ɐlʲɪˈksʲejɪvʲɪtɕ ɡɐˈɡarʲɪn]; 9 March 1934 – 27 March 1968) was a Russian Soviet pilot and cosmonaut. He was the first human to journey into outer space, when his Vostok spacecraft completed an orbit of the Earth on 12 April 1961.
Gagarin became an international celebrity, and was awarded many medals and titles, including Hero of the Soviet Union, the nation's highest honour. Vostok 1 marked his only spaceflight, but he served as backup crew to the Soyuz 1 mission (which ended in a fatal crash). Gagarin later became deputy training director of the Cosmonaut Training Centre outside Moscow, which was later named after him. Gagarin died in 1968 when the MiG-15 training jet he was piloting crashed. The Yuri Gagarin Medal is awarded in his honor. ... https://en.wikipedia.org/wiki/Yuri_Gagarin
above: MedRes! Snow chain preparing source: Pinterest
Ю́рий Алексе́евич Гага́рин (9 марта 1934, Клушино, Гжатский (ныне Гагаринский) район, Западная область, СССР — 27 марта 1968, возле села Новосёлово, Киржачский район, Владимирская область, СССР) — советский лётчик-космонавт, Герой Советского Союза, кавалер высших знаков отличия ряда государств, почётный гражданин многих российских и зарубежных городов.
12 апреля 1961 года Юрий Гагарин стал первым человеком в мировой истории, совершившим полёт в космическое пространство. Ракета-носитель «Восток» с кораблём «Восток-1», на борту которого находился Гагарин, была запущена с космодрома Байконур. После 108 минут полёта Гагарин успешно приземлился в Саратовской области, неподалёку от города Энгельса. Начиная с 12 апреля 1962 года, день полёта Гагарина в космос был объявлен праздником — Днём космонавтики. ... https://ru.wikipedia.org/wiki/Jurij Gagarin
Iouri ou Youri Alexeïevitch Gagarine (en russe : Ю́рий Алексе́евич Гага́рин, prononcé [ˈjʉrʲɪj ɐlʲɪˈksʲejɪvʲɪt͡ɕ ɡɐˈɡarʲɪn]), né le 9 mars 1934 et mort le 27 mars 1968, est le premier homme à avoir effectué un vol dans l'espace (la première femme sera Valentina Terechkova) au cours de la mission Vostok 1 le 12 avril 1961, dans le cadre du programme spatial soviétique. Youri Gagarine acquiert une notoriété internationale et est décoré de nombreuses distinctions dont celle de Héros de l'Union soviétique et de la médaille de l'ordre de Lénine, les plus hautes distinctions soviétiques. La mission Vostok 1 est son seul voyage spatial, mais il fut aussi doublure de secours pour la mission Soyouz 1. Il meurt à 34 ans lors du crash de son Mig 15. Son nom a été donné à un cratère lunaire et à un astéroïde. ... https://fr.wikipedia.org/wiki/Youri_Gagarine
Jurij Alekszejevics Gagarin (oroszul: Юрий Алексеевич Гагарин; Klusino, 1934. március 9. – 1968. március 27.) szovjet űrhajós, az első ember a világűrben – a Vosztok–1 űrhajóval indult 1961. április 12-én, Bajkonurból. Ezzel az emberes űrrepülések terén is megelőzték a szovjetek az amerikaiakat. Gagarin később már nem hajtott végre több űrrepülést. 1968-ban halt meg egy repülőgép-balesetben. ... https://hu.wikipedia.org/wiki/Jurij_Alekszejevics_Gagarin
Jurij Alekszejevics Gagarin (oroszul: Юрий Алексеевич Гагарин; Klusino, 1934. március 9. – 1968. március 27.) szovjet űrhajós, az első ember a világűrben – a Vosztok–1 űrhajóval indult 1961. április 12-én, Bajkonurból. Ezzel az emberes űrrepülések terén is megelőzték a szovjetek az amerikaiakat. Gagarin később már nem hajtott végre több űrrepülést. 1968-ban halt meg egy repülőgép-balesetben. ... https://hu.wikipedia.org/wiki/Jurij_Alekszejevics_Gagarin

above: NoHigher! #CHANEL No 5 Purse Perfume - Spray Cologne. Chanel presented Perfume No. 5 to the market in 1922; Ernest Beaux created it in 1921.
En. text: Chanel S.A. (/ʃəˈnɛl/, French pronunciation: [ʃanɛl]) is a French privately held company owned by Alain Wertheimer and Gérard Wertheimer, grandsons of Pierre Wertheimer, who was an early business partner of the couturière Coco Chanel. Chanel is a luxury company that focuses on high fashion and ready-made clothes, luxury products, and accessories. In her youth, Gabrielle Chanel gained the nickname Coco from her time as a chanteuse. As a fashion designer, Coco Chanel catered to women's taste for elegance in dress, with blouses and suits, trousers and dresses, and jewellery (gemstone and bijouterie) of simple design, that replaced the opulent, over-designed, and constrictive clothes and accessories of 19th-century fashion. The Chanel product brands have been personified by male and female fashion models, idols and actresses, including Inès de La Fressange, Catherine Deneuve, Carole Bouquet, Vanessa Paradis, Nicole Kidman, Anna Mouglalis, Audrey Tautou, Keira Knightley, Kristen Stewart, Pharrell Williams, Cara Delevingne, Jennie Kim, and Marilyn Monroe. ... https://en.wikipedia.org/wiki/Chanel
Fr. text: Chanel SA, connue comme Chanel, est une entreprise française productrice de haute couture, ainsi que de prêt-à-porter, accessoires, parfums et divers produits de luxe. Elle trouve son origine dans la maison de couture qu'avait créée Coco Chanel en 1910 mais résulte du rachat de Chanel (couture) par l'entreprise Les Parfums Chanel en 1954. Elle appartient à Alain Wertheimer et Gérard Wertheimer, les petits-fils de l'associé de Coco Chanel, Pierre Wertheimer et contrôlée par un holding implanté aux Pays-Bas. ...
above: MedRes! actress Jane Birkin get in DS 21 source: Pinterest
Hu. text: Jane Mallory Birkin (London, 1946. december 14. –) brit származású, az 1960-as évek vége óta Franciaországban élő színésznő, énekesnő. ... hu.wikipedia.org/Jane_Birkin
above: NoHigher! French singer Juliette Gréco with DS 21 source: star
Fr. text: Juliette Gréco, née le 7 février 1927 à Montpellier, est une chanteuse et actrice française. Juliette Gréco est née d'un père d'origine corse, Gérard Gréco, commissaire de la police des jeux, et d'une mère bordelaise, Juliette Lafeychine. Ses parents étant séparés, ses grands-parents maternels l'élèvent à Bordeaux avec sa sœur aînée Charlotte. Leur mère les rejoint en 1933 et les emmène toutes les deux à Paris. Passionnée de danse, Juliette, en 1939, est petit rat à l'Opéra Garnier. La guerre ayant éclaté, la famille retourne dans le sud-ouest de la France (en Dordogne). C'est là que sa mère s'engage dans la Résistance, elle est arrêtée en 1943. Les deux sœurs rejoignent Paris mais sont capturées et emprisonnées à maison d'arrêt de Fresnes, après que Charlotte devait remettre des documents à la Résistance1. Juliette ne sera pas déportée à cause de son jeune âge, contrairement à sa mère et sa sœur aînée Charlotte qui seront envoyées à Ravensbrück. Elles ne reviendront de déportation qu'en 1945, après la libération du camp par l'Armée rouge. Juliette est libérée de Fresnes et, après avoir récupéré ses affaires au siège de la Gestapo française dans le 16e arrondissement de Paris, elle se retrouve seule et sans ressources « sur l'avenue la plus belle du monde, l'avenue Foch » avec un ticket de métro en poche. Elle se rend alors chez la seule personne de sa connaissance résidant dans la capitale, Hélène Duc, qui avait été son professeur de français à Bergerac et une amie de sa mère. Elle sait qu'Hélène habite au 20 rue Servandoni, près de l'église Saint-Sulpice ; celle-ci la loge et la prend en charge. ... https://fr.wikipedia.org/wiki/Juliette_Gr%C3%A9co
above: NoHigher! Film director Roger Vadim source: star
Roger Vadim (French: [ʁɔ.ʒe va.dim]; 26 January 1928 – 11 February 2000) was a French screenwriter, film director and producer, as well as an author, artist and occasional actor. His best-known works are visually lavish films with erotic qualities, such as And God Created Woman, Barbarella, and Pretty Maids All in a Row. ... https://en.wikipedia.org/wiki/Roger_Vadim

above: BB Left: Delcampe.net! Right: MedRes! Brigitte Bardot source: Pinterest.com/Delcampe.net
Ru. text: Брижи́т Анн-Мари́ Бардо́ (фр. Brigitte Anne-Marie Bardot, МФА: [bʁiʒit baʁˈdo], сокращённо B.B. (Бебе́); род. 28 сентября 1934, Париж, Франция) — французская киноактриса, певица, фотомодель и писательница. Являлась одним из секс-символов 1950—1960-х годов. С начала 1970-х — активистка движения за права животных, основательница и глава фонда защиты животных «Фонд Брижит Бардо» ... https://ru.wikipedia.org/wiki/Ru.-Brigitte-Bardot ... https://fr.wikipedia.org/wiki/Brigitte_Bardot
NEW! above: MedRes! Brigitte Bardot DS rexfeatures below: NoHigher! source: classicdriver.com
above: NEW! MedRes! French President Jacques Chirac's handkiss to Brigitte Bardot
Fr. text: Jacques Chirac, né le 29 novembre 1932 à Paris (Ve), est un homme d'État français. Il est président de la République française du 17 mai 1995 au 16 mai 2007.
À l'origine de la fondation de deux partis politiques classés à droite de l'échiquier politique, le Rassemblement pour la République (RPR) en 1976 puis l'Union pour un mouvement populaire(UMP) en 2002, il occupe à plusieurs reprises la fonction de député de la Corrèze et est le maire de Paris entre 1977 et 1995. Il est Premier ministre sous la présidence de Valéry Giscard d'Estaing de 1974 à 1976, puis sous la présidence du socialiste François Mitterrand, de 1986 à 1988, étant ainsi le premier chef du gouvernement d'une cohabitation sous la VeRépublique et, par la même occasion, la seule personnalité politique sous ce même régime ayant assumé par deux fois la charge de Premier ministre. Il se présente sans succès aux élections présidentielles de 1981 et 1988. ... https://fr.wikipedia.org/wiki/Jacques_Chirac
above: NoHigher! Citroën DS, Gérard Depardieu et Patrick Dewaere-Les Valseuses pinterest
Gérard Depardieu, né le 27 décembre 1948 à Châteauroux, est un acteur français. Il est également citoyen russe depuis 20133. Révélé en 1974 par le film Les Valseuses, il est depuis l'un des comédiens les plus actifs et l'une des principales vedettes du cinéma français. Outre son métier d'acteur, il est producteur de cinéma et de théâtre, homme d'affaires et viticulteur. Il a par ailleurs réalisé ou co-réalisé trois films : Le Tartuffe en 1984, Un pont entre deux rives (avec Frédéric Auburtin) en 1999 et le segment Quartier Latin dans Paris je t'aime en 2006.
Gérard Depardieu a tourné avec des cinéastes français prestigieux, parmi lesquels François Truffaut ou Alain Resnais, et a alterné films d'auteur et divertissements populaires, tout en apparaissant également dans des films hollywoodiens (Green Card, 1492 : Christophe Colomb, L'Homme au masque de fer). Il fut en outre l'acteur fétiche des réalisateurs Maurice Pialat, Francis Veber, Alain Corneau et Bertrand Blier. Figurant dans plus de 150 films, il est le deuxième acteur français ayant cumulé le plus d'entrées en France, derrière Louis de Funès. En 1981, son interprétation dans Le Dernier métro lui permet d'obtenir son premier César du meilleur acteur. Il obtient l'un de ses plus grands succès en 1990 avec Cyrano de Bergerac, qui lui vaut son deuxième César du meilleur acteur et une nomination à l'Oscar du meilleur acteur. Il est le père des acteurs Guillaume et Julie Depardieu.
https://fr.wikipedia.org/wiki/G%C3%A9rard_Depardieu
above: NoHigher! Citroen DS i-Les Valseuses with Gérard Depardieu et Patrick Dewaere pinterest
above: MedRes! Jean Gabin: Citroën-DS-19 tueur 1972.
Jean Gabin (French: [ʒɑ̃ gabɛ̃]; 17 May 1904 – 15 November 1976) was a French actor and sometime singer. Considered a key figure in French cinema, he starred in several classic films including Pépé le Moko (1937), La grande illusion (1937), Le Quai des brumes (1938), La bête humaine (1938), Le jour se lève (1939), and Le plaisir (1952). Gabin was made a member of the Légion d'honneur in recognition of the important role he played in French cinema. ... Jean_Gabin
Movie 'Mattei case' - ügy MS-760 'Paris' TAXI-Jet: http://szextant.blogspot.hu/2014/04/morane-saulnier-ms-760-paris-jet.html
above: NoHigher! The president car DS 21 source: pinterest
above: NoHigher! Adrien Cayla-Legrand as G-CDG
above & below 3: NEW! MedRes! Élysée palace source: movie: 'The day of Jackal' VIDEO schnitt

above & below 3: NEW! MedRes! Élysée palace source: movie: 'The day of Jackal' VIDEO schnitt

above: MedRes! Charles de Gaulle a opté pour la DS dès sa sortie. Sur la photo, la DS
19 qui fut adaptée pour les besoins du président qui voulait être en
mesure de saluer la foule debout dans sa voiture. Un toit en toile
pliant a donc était installé.
above: MedRes! The president car in the movie: "The day of the Jackal" source: youtube
Hu. text: A DS típuselnevezés a francia Déesse szóból ered, amely Istennőt jelent.
above: NoHigher! De Gaulle la voiture qui a sauve le general source: linternaute.com

above: Left: MedRes! Right: MedRes! De Gaulle Citroen wochenthema staatskarossen auto-news.de
above: NEW! NoHigher! De Gaulle in president DS 19 source: WheelsAge.org
above: MedRes! General visitor Charles de Gaulle's motorcade passes through Isles-sur-Suippe (Marne), the president salutes the crowd from his famous Citroën DS 1963. wikipedia
En. text: Charles André Joseph Marie de Gaulle (French: [ʃaʁl də ɡol] ); 22 November 1890 – 9 November 1970) was a French general and statesman. He was the leader of Free France (1940–44) and the head of the Provisional Government of the French Republic (1944–46). In 1958, he founded the Fifth Republic and was elected as the 18th President of France, a position he held until his resignation in 1969. He was the dominant figure of France during the Cold War era and his memory continues to influence French politics. ... https://en.wikipedia.org/wiki/Charles_de_Gaulle
Fr. text: Charles de Gaulle, communément appelé le général de Gaulle, né le 22 novembre 1890 à Lille et mort le 9 novembre 1970 à Colombey-les-Deux-Églises, est un militaire, résistant, homme d'État et écrivain français.
Chef de la France libre puis dirigeant du Comité français de Libération nationale pendant la Seconde Guerre mondiale, président du Gouvernement provisoire de la République française de 1944 à 1946, président du Conseil des ministres français de 1958 à 1959, instigateur de la Ve République fondée en 1958, il est président de la République française du 8 janvier 1959 au 28 avril 1969. Il est le premier à occuper la magistrature suprême sous la Cinquième République. fr.wikipedia.org/Charles_de_Gaulle
Hu. text: Charles André Joseph Marie de Gaulle (Lille, 1890. november 22. – Colombey-les-Deux-Églises, 1970. november 9.) francia tábornok, államférfi, a Francia Köztársaság 18. elnöke. A második világháborúban, a francia nemzeti-függetlenségi ellenállás feltétlen híveként szervezte és irányította a francia ellenállási mozgalmat. Személyisége a szabad Franciaországot szimbolizálta. A háború után alkotmányos reformot, a nemzeti érzelmeket hangsúlyozó erős államot teremtett Franciaországban.
A francia V. Köztársaság (Cinquième République) megalapítója, s első közvetlenül választott elnöke volt 1962-től. Kormányzati ciklusa alatt függetlenedett Algéria és számos egyéb francia gyarmat Franciaországtól. Erre az időszakra estek az országszerte kialakuló diáklázadások és a tömegsztrájkok. Nagy hatású szónok volt, s kitűnő memoárokat írt a francia ellenállási mozgalomról. Az 1969. április 27-i népszavazás eredményeként másnap lemondott elnöki tisztségéről és visszavonult vidéki házába. Franciaországban „Le Général” (A Tábornok) becenéven volt közismert. ... https://hu.wikipedia.org/wiki/Charles_de_Gaulle
above: NEW! MedRes! Simca "Ariane"
The Simca Ariane was a large saloon car launched in April 1957 by the French automaker Simca. It was manufactured in the company's factory at Poissy until 1963. ... wiki/Simca_Ariane
above: NEW! NoHigher! Charles de Gaulle get out from his presidental Citroën in Élysée palace source: pinterest
above: NEW! MedRes! 1968.: The French president Charles de Gaulle returns from West Germany after fleeing Paris by Aérospatiale SA-316B 'Alouette'-III -'Pacsirta'- helicopter during the may 1968. protests - 1968. május. Az egyre fenyegető tüntetések során az NSZK-ba menekült francia elnök Charles de Gaulle tér vissza Franciaországba hivatali helikopterén.
source: https://ritkanlathatotortenelem.blog.hu/2019/01/20/napi_erdekes_909

source: https://ritkanlathatotortenelem.blog.hu/2019/01/20/napi_erdekes_909
229.) Helicopters doors & Girls & Types & Cutaway drw.s - Helikopterajtók és jó Csajok és Típusok és Röntgenrajzok: https://szextant.blogspot.com/2020/12/229-helicopters-doors-girls-types.html

Sud-Aviation SE.210 'Caravelle' & Jackal: http://szextant.blogspot.hu/2018/03/210-210s-kettotizesek-messerschmitt-me.html

Hu. text article: Öt konspirációs thriller a '70-es évekből, amit látnod kell: (Blogger megj.: Utálom az ilyen címeket!! "Venned kell!")
A Sakál napja (1973):
Frederick Forsyth régi szakmája, egy tényfeltáró újságíró alaposságával írta meg könyvét, amit az Oscar-díjas Fred Zinnemann ugyanezzel a realizmussal vitt filmre. A Sakál napjában összemosódik fikció és valóság. A történet a Charles de Gaulle ellen ténylegesen megkísérelt merénylettel nyit, melyből kibontakozik a képzelet szülte cselekmény miszerint a kudarcot vallott OAS kétségbeesésében felbérel egy angol bérgyilkost, hogy ölje meg a francia köztársasági elnököt. A film párhuzamosan mutatja be a Sakál fedőnevű merénylő felkészülését az akcióra illetve a lépéshátrányban lévő hatóságok erőfeszítéseit annak megakadályozására. Ahogy szorul a hurok, úgy válik a lassan, de sallangmentesen csordogáló történet is egyre regényesebbé, hogy egy rendkívül feszült végjátékkal hálálja meg a türelmünket. A producerek egy filmsztárt szerettek volna a címszerepben látni, de Zinnemann inkább az akkor még ismeretlen Edward Foxra bízta a Sakál eljátszását, aki elsőrangú választásnak bizonyult. A filmbéli Sakál amennyire rideg és számító ugyanannyira vonzó is tud lenni. Profizmusa, eltökéltsége folytán még valahol drukkolni is lehet neki, ám a készítők a történet előrehaladtával azért igyekeznek ellene hangolni. Fox mellett rengeteg jobbnál jobb francia és angol karakterszínész került a filmbe. A Sakál napja az ekkor már egyre ritkábban dolgozó Zinnemann talán leginkább időtálló rendezése. Épp olyan precíz, mint gyilkosa! A valóságosság és a részletek szerelmesei kevés jobb filmet találhatnak a témában. source: https://cimlap.blog.hu/#bloghu/filmekapolcrol/2020/05/04/ot_konspiracios_thriller_a_70-es_evekbol_amit_latnod_kell / https://index.hu/
above: NEW! NoHigher! "Jackal" Edward Fox, takes over the modular sniper rifle at the Belgian Gunsmith. - "Sakál" a Belga Fegyverművesnél átveszi a modulrendszerű mesterlövész puskát.
source: cimlap.blog.hu
The 'Jackal' My second Best Favourite Movie film close after 1st 'Catch 22'
above: MedRes! Hu. text: "A Sakál napja" - "The day of the Jackal" DVD source: datalinkek.com
Movie Video: The Real DAY OF THE JACKAL: Arrival Part I of II.: Here, having crossed the border into France successfully, Jackal calls in to obtain the update gained from the spy they have on Minister's cabinet. The spy is the oppositions slain leader's widow, a sexy young girl who has been asked to start an affair with an older cabinet member). The information gained is relayed to Jackal, who must make a move. Part II ends with some masterful fim work, and part I serves to lead in to that. A fine film, this beiong only one of many enjoyable moments. ALFA ROMEO Sports 2Seater GE 1741:
above: NEW! MedRes! French actor Adrien Cayla-Legrand sitting on the back seat of a car source: gettyimages/Google

above: NoHigher! In the De Gaulle cast: Adrien Cayla-Legrand Right: mix CDG & house of film
Hu. text: A Sakál napja (eredeti cím: The Day of the Jackal / Chacal) 1973-ban bemutatott színes, angol–francia politikai thriller. Fred Zinnemann filmje Frederick Forsyth 1971-ben megjelent azonos című bestsellerje alapján készült, melyet magyar nyelven is többször kiadtak.
A francia katonatisztek által létrehozott titkos szervezet, az OAS 1963-ban sikertelen merényletet kísérel meg Charles de Gaulle elnök ellen. Az összeesküvőket letartóztatják, vezetőjüket, Bastien-Thiry ezredest kivégzik. Az OAS három főre apadt vezérkara külföldre menekül, ahol újabb tervet eszelnek ki a francia elnök meggyilkolására. Elképzelésük, hogy a merénylettel egy külföldi bérgyilkost bíznak meg, aki ismeretlen a francia hatóságok számára. Kiszemeltjük vállalja a munkát, ám szigorú feltételeket szab. Fedőnévként a Sakált választja. Hamarosan a francia hatóságok gyanút fognak az országban elszaporodó bankrablások miatt. Még nem tudják, hogy az OAS ezzel a módszerrel kívánja előteremteni a Sakál által meghatározott munkadíjat, félmillió dollárt. A titkosszolgálat csellel elrabolja, OlaszországbólFranciaországba hurcolja és kínvallatás alá veti az OAS vezetőinek bizalmi emberét, Wolenskit. A megkínzott férfi halála előtt kiejti a száján a „Sakál” szót. Ezen az apró nyomon indulnak el a biztonsági szervek emberei.
Mivel De Gaulle nem hajlandó a tervezett merénylet miatt változtatni hivatalos programján, különbizottság jön létre az elnök védelmére és a Sakál felkutatására. A feladattal a rendőrfőnök a legjobb emberét, Lebel főfelügyelőt bízza meg. Közben a Sakál sem tétlenkedik. Hamis anyakönyvi kivonat segítségével igazolványokat szerez, útleveleket lop, elkészítteti a merénylethez szükséges speciális fegyvert, majd Franciaországba utazik a bűntény kivitelezésére. Az OAS ügynököt telepít az elnök egyik bizalmi emberének környezetébe. Rajta keresztül a Sakál idejében értesül, hogy a francia hatóságok már tudomást szereztek személyéről, ennek ellenére mégsem mond le a merénylet végrehajtásáról. Az idő vészesen fogy az elnök következő nyilvános szerepléséig, ami ráadásul a nagyszabású augusztus 25-i ünnepségek alkalmával (Párizs felszabadulása) lesz. Lebel minden ravaszsága és a hatóságok minden igyekezete ellenére a Sakál rendre kisiklik a számára állított csapdákból, többször személyiséget cserél, és úgy tűnik, senki nem képes megakadályozni a gyilkosságot.
Az ünnepségen De Gaulle élete csak a szerencsén múlik. Lebel főfelügyelő a helyszínen van, és egy apró információ alapján felfedezi a merénylő jól álcázott rejtekhelyét. Egy posztoló rendőrrel együtt lerohanja a Sakált, aki lelövi a rendőrt, majd Lebel a rendőr fegyverével végez vele. ...
Fr. text: Chacal (The Day of the Jackal) est un film franco-britannique réalisé par Fred Zinnemann, sorti en 1973 (sortie le 30 juillet 1973 aux États-Unis), basé sur le roman de Frederick Forsyth.
En 1963, après l'échec de l'attentat du Petit-Clamart, trois dirigeants de l'OAS engagent un tueur professionnel pour assassiner le présidentCharles de Gaulle. Sans identité, sans visage, son nom de code est Chacal et ses services valent un demi-million de dollars. Pour collecter les fonds, l'OAS commet une série de braquages qui éveille l'attention de la police française. Tandis que le Chacal organise avec méthode et dans le moindre détail son projet de meurtre, la police tente de le prendre de vitesse. ... https://fr.wikipedia.org/wiki/Chacal_(film)
En. text: The Day of the Jackal is a 1973 Anglo-French political thriller film directed by Fred Zinnemann and starring Edward Fox and Michel Lonsdale. Based on the 1971 novel The Day of the Jackal by Frederick Forsyth, the film is about a professional assassin known only as the "Jackal" who is hired to assassinate French president Charles de Gaulle in the summer of 1963.
The Day of the Jackal received positive reviews and went on to win the BAFTA Award for Best Film Editing (Ralph Kemplen), five additional BAFTA Award nominations, two Golden Globe Award nominations, and one Academy Award nomination. The film grossed $16,056,255 at the box office, and earned an additional $8,525,000 in North American rentals.
above & below: MedRes! The opening scene: from the book by Frederick Forsyth. source: youtube https://en.wikipedia.org/wiki/The_Day_of_the_Jackal_(film)
18+above: NEW! HiRes! blonde Alexandra Turcan shows her nude ass at Emily in Paris-2020 source: CelebDumps.com
Ro. text: Alexandrina Țurcan a fost descoperită de către agenția ″Mandarina Models″ din România, iar la vârsta de 15 ani a mers pentru prima dată la Milano unde a fost recrutată de agenția Modele Beatrice. Ulterior a semnat un contract cu firma Major Model Management din New York. source: https://ro.wikipedia.org/wiki/Alexandrina_%C8%9Aurcan
above: MedRes! Mix of the Movie source: jacktummers.nl below: NEW! MedRes! Taxi

above: MedRes! Citroen of president and US Beechcraft Model-18 VIP source: youtube
above: NoHigher! "A Sakál napja" Mozifilm 1970's Movie source: est.hu
Adrien Cayla-Legrand (G-CDG) összesen 4 filmben játszotta De Gaulle szerepét: először 1966-ban, utoljára 1978-ban. A Sakál napja volt az első filmje, amelyben nevét a stáblistán is feltüntették, és ebben harmadszorra játszotta az egykori francia elnök szerepét. ... wiki
NoHigher! above: online.film.hu below: vasarnapi.hirek.hu below: Love scene youtube
above: MedRes! #Edward Fox as Jackal and #Delphine Seyrig as Madame Colette de Montpellier
Delphine Claire Beltiane Seyrig (French: [sɛʁiɡ]; 10 April 1932 – 15 October 1990) was a Lebanese-born French stage and film actress, a film director and a feminist. ...
Delphine Seyrig est une actrice française, née le 10 avril 1932 à Beyrouth (Liban) et morte le 15 octobre 1990 à Paris, héroïne entre autres d'Alain Resnais, Marguerite Duras et François Truffaut au cinéma. ...
Clip From The Classic Day Of The Jackal 1973: Whole movie is a true gem! And this clip... Just how the gunsmith wipes out and straighten the cloth in the case. Or the rope knot around tree - it looks like he's really done it 1000x in his life/career. Great acting, atmosphere and attention to details.
above: The starring: englis actor, Edward Fox as "Jackal" sniper
Edward Charles Morice Fox, OBE (born 13 April 1937) is an English stage, film and television actor. He played the title character in the film The Day of the Jackal (1973). He also portrayed King Edward VIII in the serial Edward & Mrs. Simpson (1978). ... wikipedia/Edward_Fox
above: NoHigher: The director Fred Zinnemann and Edward Fox during producing
Alfred "Fred" Zinnemann (April 29, 1907 – March 14, 1997) was an Austrian-born American film director. He won four Academy Awards for directing films in various genres, including thrillers, westerns, film noir and play adaptations. He made 25 feature films during his 50-year career. He was among the first directors to insist on using authentic locations and for mixing stars with civilians to give his films more realism. Within the film industry, he was considered a maverick for taking risks and thereby creating unique films, with many of his stories being dramas about lone and principled individuals tested by tragic events. According to one historian, Zinnemann's style demonstrated his sense of "psychological realism and his apparent determination to make worthwhile pictures that are nevertheless highly entertaining."
Some of his most notable films were The Men (1950), High Noon (1952), From Here to Eternity (1953), Oklahoma! (1955), The Nun's Story (1959), A Man For All Seasons (1966), The Day of the Jackal (1973), and Julia (1977). His films have received 65 Oscar nominations, winning 24.
Zinnemann directed and introduced a number of stars in their U.S. film debuts, including Marlon Brando, Rod Steiger, Pier Angeli, Julie Harris, Brandon deWilde, Montgomery Clift, Shirley Jones and Meryl Streep. He directed 19 actors to Oscar nominations, including Frank Sinatra, Montgomery Clift, Audrey Hepburn, Glynis Johns, Paul Scofield, Robert Shaw, Wendy Hiller, Jason Robards, Vanessa Redgrave, Jane Fonda, Gary Cooper and Maximilian Schell. ... wikipedia.Zinnemann
above: NEW! NoHigher! Movie: President's car before attempt of the killer action
The Day of the Jackal (1973) - The Ambush
above: NoHigher! Scene of the movie source: themarquis
above & below: MedRes! The OAS' attacker members in ambush in DS 19
Hu. text: Charles de Gaulle személyes használatra, majd protokoll célokra is rendelt belőle. (Az autó megmentette az életét a Petit-Clamart merényletnél, mert a sofőrje kimenekült vele a terrorista támadásból.) Számos filmben szerepet kapott a jármű pl. a Fantomasban, A Sakál napjában és a Piedone, a zsaruban. Az autó egyszerűbb változata ID (Idée = ötlet, idea) néven került forgalomba. .. source: youtube
En. text: Charles de Gaulle ordered it for personal use and then for protocol purposes. (The car saved his life in the Petit-Clamart assassination because his driver escaped with the terrorist attack.) in Fantomas, The Day of the Jackal, and Piedone, the cop. A simpler version of the car has been marketed under the name ID (Idea = idea).

above: NEW! MedRes! She is the Airstream & Sound laboratorie's model innovator: Asuka Langley soryu neon genesis in latex overall evangelion #cosplayer by Pugoffka Sama 2014. source: Pinterest
above: HiRes! DS Model
My enthusiasm for DSs spread first of all to other old Citroëns, and then to other aspects of French culture – language learning, wine, films. Even when my attention was transferred to Japanese culture as a result of changes elsewhere in my life, I still pricked up every time my eye caught the unmistakable low-lying silhouette of an old Javel-built saloon or estate. And as I discovered when a group of my students cottoned on to my habit during a field trip to Amsterdam, the DS is one of only a handful of vehicles that can hold the attention of even the most staunch car non-enthusiast. Whether it’s the car from Day of the Jackal, a sixties B-movie spaceship or something your eccentric uncle used to have, the big saloon is something that provokes a reaction from nearly everyone.
Such a famed model is of course well represented in the Citroën Conservatoire. Given my long-standing interest in a car so outstanding it once moved Roland Barthes to write an essay on it, one might have expected me to spend my time in the DS section at the Conservatoire with my head under the bonnets, spotting every engineering curiosity and mechanical anachronism in the early prototypes. In fact, I just enjoyed myself. I crashed out across the sofa-like rear seats. I pumped the giant rubber brake pedal. I watched the hydraulic suspension rise and fall. And I took sixty-three photos. That alone should tell you how much I enjoyed my time among the herd of DSs, and I shall leave the photographs below to speak for themselves.
At the close of my interview for the Guild of Motoring Writers’ Sir William Lyons Award many years ago, I was asked what my favourite car was and why. I did not even have to think about the ‘what’, but the ‘why’ was far less clear. After a slight pause, I recounted the tale of the Top Gear feature, finishing by admitting that it was the only time I have ever actually been scared just looking at a car. For a car to trigger that kind of reaction by its appearance alone, it must be something special. ... http://thezerocar.tumblr.com/page/2
above: NoHigher! Citroen DS 21 front driver side 1967. source: motortrend.com
above: NoHigher! Admiral Le roi Olaf de Norvege King
above: NoHigher! Citroen DS 19, president Pompidou 1974.
En. text: Georges Jean Raymond Pompidou (French: [ʒɔʁʒ pɔ̃pidu]; 5 July 1911 – 2 April 1974) was Prime Minister of France from 1962 to 1968—the longest tenure in the position's history—and later President of the French Republic from 1969 until his death in 1974. He had long been a top aide to president Charles de Gaulle. As president, he was a moderate conservative who repaired France's relationship with the United States, and maintained positive relations with the newly-independent former colonies in Africa. He strengthened his political party, the Union of Democrats for the Republic ("Union des Democrates pour la Ve République" or UDR), to make it a bastion of the Gaullist movement. Pompidou's presidency is generally held in high esteem by French political commentators.
Fr. text: Georges Pompidou, né le 5 juillet 1911 à Montboudif (Cantal) et mort le 2 avril 1974 dans le 4e arrondissement de Paris, est un haut fonctionnaire et homme d'État français. Il est président de la République française du 20 juin 1969 au 2 avril 1974.
Agrégé de lettres, maître des requêtes honoraire au Conseil d'État et ancien directeur général de la Banque Rothschild, il devient membre du Conseil constitutionnel de 1959 à 1962, puis occupe, durant la présidence de Charles de Gaulle, la fonction de Premier ministre du 14 avril 1962 au 10 juillet 1968. Il est élu président de la République française, lors de l'élection présidentielle de 1969, avec 58,21 % des suffrages exprimés, face à Alain Poher, le 15 juin 1969. Il exerce la fonction de président de la République du 20 juin 1969, jusqu'à sa mort, le 2 avril 1974. Il reste, à ce jour, l'unique président de la Ve République dont le mandat a été interrompu par la mort.
Hu. text: Georges Pompidou (Montboudif (Cantal), 1911. július 5. – Párizs, 1974. április 2.) Franciaországban az V. Köztársaság második közvetlenül választott köztársasági elnöke 1969. június 20-ától haláláig.
Charles de Gaulle köztársasági elnök állítólag "írástudó" embert keresett a miniszterelnöki posztra, így esett rá a választása. Pompidou irodalomtanárból lett előbb banktisztviselő, majd 1962-1968-ig miniszterelnök. A hatvanas években már őt tekintik az elnöki funkció örökösének (le dauphin du président). Az 1968 májusi franciaországi zavargások idején neki sikerült új irányba terelni az V. Köztársaság hajóját. ... https://hu.wikipedia.org/wiki/Georges_Pompidou
above: NEW! HiRes! 1971. France, Paris: Rue du Faubourg Saint-Honoré, gate of the Elysée Palace. DONOR: Mr. Tamás Urbán PHOTO NUMBER: 87442 - 1971. Franciaország, Párizs: Rue du Faubourg Saint-Honoré, az Elysée-palota kapuja. ADOMÁNYOZÓ: Urbán Tamás KÉPSZÁM: 87442 source: FORTEPAN.hu
above: NoHigher! Citroen DS 21s in Élysée palace below: MedRes! Hu. text: Az Elizé palotában
The Élysée Palace (French: Palais de l'Élysée, pronounced: [pa.lɛ d(ə) le.li.ze]) has been the official residence of the President of France since 1848. Dating to the early 18th century, it contains the office of the President and the meeting place of the Council of Ministers. It is located near the Champs-Élysées in the 8th arrondissement of Paris, the name Élysée deriving from Elysian Fields, the place of the blessed dead in Greek mythology.
Important foreign visitors are hosted at the nearby Hôtel de Marigny, a palatial residence.
https://en.wikipedia.org/wiki/%C3%89lys%C3%A9e_Palace
above: NEW! MedRes! Model of the President car by Chapron source: ck-modelcars.de
above: NEW! MedRes! Model of the President car by Chapron source: ck-modelcars.de
above: NEW! HiRes! "OAS' agent in "Élysée" palace": Noel Berry in sexy lingeries for 'Grazia' magazine in Russia-2019. source: CelebsDump.com https://wikifamouspeople.com/noel-berry/
above & below: MedRes! Scene pics at Élysée Palace from movie "The day og the Jackal" youtube
18+above: NEW! NoHigher! Histroical coach "Palace Car" with wheel positivce offset: Miss. Kara Monaco
Kara Monaco (born February 26, 1983 in Lakeland, Florida) is an American model. She was chosen as Playmate of the Month by Playboy magazine in June, 2005. She appeared on the cover of the June 2006 issue of Playboy as the 2006 Playmate of the Year. ... wikipedia.org/Kara_Monaco
above: HiRes! French Princess' palace fashion of Middle Ages source: Playboy.com
above: NEW! NoHigher! Brigitte Bardot
above: NEW! NoHigher! Catherine Deneuve " Calls for TAXI"in Le Bon Plaisir by Francis Girod source: Pinterest
above: MedRes! Citroën DS "Pallas" TAXI dans le film 'Belle de jour' de Luis Buñuel avec Catherine Deneuve 1967. source: Pinterest.com
Catherine Dorléac, dite Catherine Deneuve, est une actricefrançaise, née le 22 octobre 1943 dans le 17e arrondissement de Paris. Considérée comme l'une des plus grandes actrices françaises de sa génération et de la seconde partie du xxe siècle, elle a été l'égérie de réalisateurs reconnus comme Jacques Demy, François Truffaut ou André Téchiné. Catherine Deneuve compte également dans sa filmographie plusieurs grands noms du cinéma international : Luis Buñuel, Roman Polanski, Marco Ferreri, Dino Risi, Manoel de Oliveira, Raoul Ruiz ou encore Lars von Trier.
L'actrice est notamment lauréate de deux Césars de la meilleure actrice ; elle a également obtenu une nomination à l'Oscar de la meilleure actrice. Elle a par ailleurs obtenu plusieurs prix à l'étranger, notamment dans les trois festivals internationaux les plus prestigieux que sont Cannes, Venise et Berlin. ... https://fr.wikipedia.org/wiki/Catherine_Deneuve
above: NEW! NoHigher! Catherine Deneuve "Marianne" buste - mellszobor
above & below: NoHigher! DS 21 in TV sequence "The Mentalist" Patrick Jane by Simon Baker source: Pinterest
Patrick Jane is a fictional character and the protagonist of the CBS crime drama The Mentalist, portrayed by Simon Baker. Jane is an independent consultant for a fictionalized version of the California Bureau of Investigation, and helps by giving advice and insight from his many years as a fake psychic medium. He uses his keen powers of observation, deduction, and knowledge of social engineering coupled with his genius to help lead the investigations. ... en.wikipedia.Patrick_Jane
The Mentalist is an American police drama/mystery television series that ran from September 23, 2008 until February 18, 2015, broadcasting 151 episodes over seven seasons, on CBS. The show was created by Bruno Heller, who is also its executive producer. The show follows former "psychic" Patrick Jane (Simon Baker), who is a consultant to the California Bureau of Investigation (CBI), using the highly developed observational skills he previously employed to "read" people's minds.
On May 10, 2014, CBS renewed the series for a 13-episode seventh season which premiered on November 30, 2014 and later announced it as the final season. ... wikipedia.org/The_Mentalist
above: MedRes! Ines Sastre en el mitico Citroen DS tambien llamado tiburon sexy
Inés Sastre Moratón (born 21 November 1973) is a Spanish model and actress. / es una Modelo y Actriz de cine España. / est un mannequin et une actrice espagnole née le 21 novembre 1973 à Valladolid. ... https://es.wikipedia.org/wiki/In%C3%A9s_Sastre
above: MedRes! below: HiRes! Miss. Eniko Mihalik Enikő hungarian word famous model from 'Victoria's Secret' fashion firma, by Vincent Peters for Vogue espana september 2012 pleasurephoto
En. text: Enikő Mihalik (Hungarian pronunciation: [ˈɛnikøː ˈmihɒlik]; born 11 May 1987) is a Hungarian model who rose to prominence after placing 4th in the Elite Model Look 2002 and is known for her work with Dutch photography team Inez van Lamsweerde and Vinoodh Matadin.
Fr. text: Enikő Mihalik est un mannequin hongrois né le 11 mai 1987 à Békéscsaba
above: MedRes! Fashion photo - Divatfotó source: fireflite59.Livejournal.com
above: MedRes! The sport-power of future 1969. by Helmut Newton & Stephan Brauchli source: drive-my.com
above: NEW! Juci'bácsi's Scan by Sextant MedRes! Hu. text: retrospective humour:"Very clever man on the road of Balaton" Book: 'Hogy mik vannak?' caricaturer artist - rajzolta: I.M. Mészáros András
above: NoHigher! Elegantissima! DS Chapron Le Paris source: pinterest / forum-auto.com
above: NoHigher! Salt Flats Citroen DS
above: NoHigher! 'Fantomas' sortie DS 19 during forsage Take Off source: Pinterest.com
above: NEW! HiRes! Millie Mackintosh sexy in white swimsuit 'Women's health' June 2018. 43 source: pincelebs.net https://www.milliemackintosh.com/ https://www.instagram.com/milliemackintosh/feed/?hl=hu
above: NoHigher! 'Fantomas' sortie DS 19 during forsage Take Off source: Pinterest.com
above: NEW! HiRes! Millie Mackintosh sexy in white swimsuit 'Women's health' June 2018. 43 source: pincelebs.net https://www.milliemackintosh.com/ https://www.instagram.com/milliemackintosh/feed/?hl=hu
above & below: NoHigher! Twin jet engine with sweeping retracable wings and "T" tail source: facebook.com / forum.golem.de
above: NoHigher! Jean Marais as 'Fantomas' source: pinterest / blog.gaumont.fr
above: HiRes! Citroën DS-19 Moteur@Mondial_auto_2016. wikipedia
above: NoHigher! Fantomas Jean Marais and Fantomas coolspotters.above: NoHigher! Jean Marais as 'Fantomas' source: pinterest / blog.gaumont.fr
Jean Alfred Villain-Marais, dit Jean Marais, est un acteur français, né le 11 décembre 1913 à Cherbourg, mort le 8 novembre 1998 à Cannes ; il est également metteur en scène, écrivain, peintre, sculpteur, potier et cascadeur. Il reçut en 1993 un César d'honneur. ...
https://fr.wikipedia.org/wiki/Jean_Marais
Jean-Alfred Villain-Marais, also known as Jean Marais (French: [ʒɑ̃ maʁɛ]; 11 December 1913 – 8 November 1998), was a French actor, writer, director and sculptor. He performed in over 100 films and was the muse of acclaimed director Jean Cocteau. In 1996, he was awarded the French Legion of Honor for his contributions to French Cinema. ...
Jean-Alfred Villain-Marais (Cherbourg, 1913. december 11. – Cannes, 1998. november 8.) francia színész, rendező, író, festő, szobrász, fazekas-keramikus, kaszkadőr és újító.
above: NoHigher! DS Fantomas mit Aufsteller Provence Moulage Spy Vibe below: MedRes! Roveno - Oulase - Norev
above & below: NoHigher! Transformed DS'
above: NoHigher! Citroen Future Hotrod source: pinterest
18+above: NEW! HiRes! Juci'bacsi's scan collect: Parisian underwear (Hu edition lingerie catalogue from mid 1990's)
above: NEW! NoHigher! 'Hot-Rod' Citroen DS reimagined for the 21st century source: pinterest
above: HiRes! Paris french bubble car by Horse style - Lóstílusú törpeautó61.) Morane Saulnier MS-760 'Paris' (Párizs) Jet l'ancètre des bizjet, le ''véhicule de liaison'' des généraux - et amiraux - français des 60's ! l'Aéronautique navale -Párizs - Paris he Movie mattei case - Gian Marian Volonté - Cinema: https://szextant.blogspot.com/2014/04/61-morane-saulnier-ms-760-paris-parizs.html

above: Eiffel tower: Left: HiRes! russian Maria Sharapova tennis player star Right: MedRes! Paris-Reasons to Breatheb.
Maria Yuryevna Sharapova (Russian: Мари́я Ю́рьевна Шара́пова; IPA: [mɐˈrʲijə ˈjʉrʲjɪvnə ʂɐˈrapəvə]; born April 19, 1987) is a Russian professional tennis player. A United States resident since 1994, Sharapova has competed on the WTA tour since 2001. She has been ranked world No. 1 in singles by the WTA on five separate occasions, for a total of 21 weeks. She is one of ten women, and the only Russian, to hold the career Grand Slam. She is also an Olympic medalist, having earned silver for Russia in women's singles at the 2012 Summer Olympics in London. ...
above: NoHigher! Citroen DS Decapotable with Paris Eiffel tower.
above: NEW! HiRes! Cutaway of the Citroen SM X by: E.T.A.I. studio
above: MedRes! Juci'bacsi's safety car design from 1974. FREE! below: NoHigher! Pinterest
above: NEW! HiRes! Cutaway of the Citroen SM X by: E.T.A.I. studio
above: MedRes! Juci'bacsi's safety car design from 1974. FREE! below: NoHigher! Pinterest
below: NoHigher! 18+ and if you are perspired this large theme - és ha leizzadtál volna a nagy témától
above: NEW+! MedRes! Similar Museal things near Palm Springs CO photo: Ian L. Sitren U.S.A. 'Second Focus': https://www.facebook.com/SecondFocus/ source: Hungarian Google G+ Collector: Mr. Bányiczki Zoltán Pin-Up Expert
above: NEW! HiRes! Original Wrecked DS-21

above: NEW+! MedRes! Similar Museal things near Palm Springs CO photo: Ian L. Sitren U.S.A. 'Second Focus': https://www.facebook.com/SecondFocus/ source: Hungarian Google G+ Collector: Mr. Bányiczki Zoltán Pin-Up Expert
above: NEW! HiRes! Original Wrecked DS-21
above: NEW! NoHigher! DS21 wrecks; Greens, below: NEW! MedRes! source: facebook/ Andrey Bogdanov

18+above: NEW! HiRes! DS-21 Marie Gillain nude tits citroen source: pinceleb.com
above: NEW! MedRes! Still Life - Csendélet in Citroen Mc arpedi below:18+ by: www.delcampe.net
FIN!






















































































































































































































































































































































































































































































































































































































































































































































































