#Ми-24 - #Mi-24V & Bell P-39 "Airahind" Fantasy #Steampunk Combat #Helicopter #concept #B-25H '#Mitchell' guns, #B-17 '#Sperry' #Ball-Turret and '#Airacobra' side view profile
18+Refreshed! to-154%:-18.04.2021. Regulated:++++++++++++++++++++++++++++++++++++++++++++:+++++++:+++:+:+:+
above: HiRes! Juci'bácsi's create Steampunk style Milbella Mi-24x "Aira-Hind" Air Art Graphics "Brainstormed" -"Agyfingásos"-profile artwork squadron print. Mi-24V 'Hind' és Bell P-39 'Airacobra' repülőszerkezetek 'Steampunk'-os öszvéresítése Ми-24 below: NEW! HiRes! -Cropped Details- Courtesy of Sextant Free Printable! This is my gift.
Astrodomes & Cupolas for Celestial aerial Csillagászati navigation with sextants & octans:
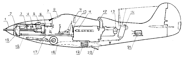
above: HiRes! Juci'bácsi's "Brainstormed" -"Agyfingásos"-profile artwork squadron print. Mi-24V: Nose section Courtesy FREE!
above: NEW! NoHigher! Cheryl Tiegs via: Pinterest source: tumblr.com Poster Girls 1970's
Cheryl Rae Tiegs (born September 25, 1947) is an American model and fashion designer. Frequently described as the first American supermodel, Tiegs is best known for her multiple appearances on the covers of the Sports Illustrated Swimsuit Issue and TIME and for her 1978 "Pink Bikini" poster, which became an iconic image of 1970s pop culture. ... https://en.wikipedia.org/wiki/Cheryl_Tiegs
above: NEW+! HiRes! New Book! - Új 'Zrínyi' könyv!: ret.avn.Maj. Brandt Gyula nyá.rep.őrgy. : Magyar felségjelű Mi-24 Harci helikopterek - Mi-24 Attack helicopters with Hungarian insignia
http://www.hmzrinyi.hu/
Emlékezés a Bakony Harcihelikopter Ezredre
Szerkesztette: Hamar Claryss
Zene: Magyar Kálmán - "Ha melegségre vágysz"
saját szerzeménye akusztikus gitár zenére.
Köszönöm szépen Kálmánnak ezt a csodálatos zenét!
EZ EGY NON-PROFIT videó! Csak szórakoztatás céllal feltöltve!
above: NEW+! NoHigher! Juci'bacsi's ORWO Dia/Slide Repro copy DDR VEB PENTACON 'Praktica' FX.2 collect from early1980's: 'Aviaciya Kosmonavtika'; at Hu. MoD Military Science Library of Institute & Museum of Military History in Budapest in Budaer castle - HM HIM Hadtörténeti Intézet és Múzeum Hadtudományi Könyvtár, (Dr. Nádor Ferenc ezds. könyvtárvezető OI.M.) I. ker. Kapisztrán-tér - square 2-4. Soviet original paint Mi-24D
above: NEW+++! HiRes! Soviet Mil Mi-24D "Hind" - "Szarvastehén" hchel. SAH - Special Attack Helicopter / Combat Helicopter (Hu. category)
http://index.hu/x.phpid=inxcl&url=http%3A%2F%2Findex.hu%2Fvideo%2F2013%2F01%2F13%2Fa_legpusztitobb_szarvastehen%2F
above: NEW+! HiRes! HuAF's LHSN Mil Mi-24V pair with NBC recon pod photo: Nagy Béla Newspaper 'Magyar Nemzet' 2005. from facebook
NEW! above: NoHigher! From LHSA Szentkirályszabadja HuHB HuAF dormation of Mi-24s over lake Balaton photo: doct. - avn Lt.Col. Dr. Toperczer "Topidoc" István orv.rep.alez. LHKE source: facebook.com / www.topidoc.hu
above: NEW! MedRes! Russian text: source: Pinterest - RIA Novosty
Mil Mi-24 "Légitehén": http://elfnet.hu/haditechnika/helikopterek/milmi24.php
above: NEW! MedRes! Mi-24P Deutsches 'Speyer' Technik Museum photo: Kizmus Szabolcs facebook
http://index.hu/x.phpid=inxcl&url=http%3A%2F%2Findex.hu%2Fvideo%2F2013%2F01%2F13%2Fa_legpusztitobb_szarvastehen%2F
above: NEW+! HiRes! Retro: Czechoslovakian Army BMP-1s IFVs - GyHJ and Mi-24Ds on coalition exercise of Warsaw Pact in 1980's source: facebook.com
above: NEW+! MedRes! HuAF Mi-24V in Para mission. source: facebook.com: Bárdi László, "Fotók a felszabadulás utáni Magyar katonai repülésről"229.) Helicopters doors & Girls & Types & Cutaway drw.s - Helikopterajtók és jó Csajok és Típusok és Röntgenrajzok: https://szextant.blogspot.com/2020/12/229-helicopters-doors-girls-types.html
above: NEW+! MedRes! In Memoriam!: He is WSO cabin ret.avn.Lt.Col. Zsolnai "Mazsola/Macczóla - ">Currant<" László-Leslie nyá.rep.alez. 65 yo. 1951 - 2016.júly 12. dead, He was 1st. Golden-Winged heli pilot & instructor Mi-8/17-24, Deputy Cmdr. of MH 87.th "Bakony" Harcihelikopter Ezred Parancsnokhelyettes - Combat Heli. Regiment LHSA-Szentkirályszabadja MN6690. Rest In Peace - Nyugodjon Békében!
above: NEW! Juci'bacsi's 'Olympus' photo as deputry editor: HiRes! The 'Aviator' Independent Magazine stand at "C+D-2006." Exhibition and Messe/Market of Central Europe Defense Industrial in Budapest at BNV exhib area "A" pavilon. On the wall the 'Air Art's graphics.
above: NEW! HiRes! Juci'bácsi's 3D profile artwork HuAF types poster II., about HuAF types, size A2/A3 for HuAF HQ Veszprém 2005. by 'Air Art Graphics': Courtesy FREE! source: AAG
above: NEW! MedRes! "The Tetris Challenge": Hu. text: Október 7-én nagyot gurított az MH 86. Szolnok Helikopter Bázis az egyik nemrég felújított Mi-24-es harci helikopterével. Külön figyelemreméltó a kétfős személyzet mellé harmadiknak kifekvő szerelő és az ő reptéri biciklije. (Fotó: Dr. Toperczer "Topi" István re. orv. alez. MH.59. LB főorvos és Légifotós, Magyar Honvédség @magyarhonvedseg / Facebook)
Hu. text article: A #tetrischallenge volt az év legjobb internetes játéka:
Szerző: Nagy Attila Károly: index.hu 2019.12.19. 19:58
Aki nem csukott szemmel internetezett idén, egész biztos hogy belefutott egy lassan négy hónapja tartó, és épp csak lecsengőben lévő kihívásos játék, a tetris challenge nevű fotós mém néhány képébe. A kihívás lényege, hogy a fotóalanyok lefekszenek a földre, és akkurátusan, elvágólag maguk köré pakolják a hivatásukra, munkájukra, hobbijukra jellemző tárgyak összességét, majd megjelölik szakmabeli társaikat, akikről hasonló képet szeretnének viszontlátni.
Ilyen fotót először 2018 novemberében posztolt egy új-zélandi rendőrjárőr, de akkor még nem kapta fel a közösségi média a dolgot. 2019. szeptember 1-jén aztán a zürichi rendőrség gyik járőrpárosa kirakott a facebookra egy fotót, amin autójuk mellett fekszenek, körbevéve munkájuk során használt tárgyak garmadájával, és onnantól nem volt megállás, hódító útjára indult a tetris-kihívás.
Hogy mikor jelent meg a #tetrischallenge tag, azt nehéz pontosan rekonstruálni a Facebookot, Instagramot, Twittert elárasztó képözönben, de az biztos, hogy szeptember 5-én a svájci Thusus város tűzoltósága már "Tetris challenge" néven emlegette a kihívást, ami rohamosan terjedni kezdett az európai rendvédelmi szervek között, hogy aztán a különféle mentéssel foglalkozó szervezetek (tűzoltók, mentők, stb) is csatlakozzanak a játékhoz világszerte.
Az ötletes, jól előkészített és megkomponált fölülnézeti képek azért rendkívül szórakoztatóak, mert segítségükkel betekinthetünk a mentősök, rendőrök, tűzoltók, katonák munkájába, kicsit turkálhatunk holmijaik között, derülhetünk a rejtett poénokon, easter eggeken. Ha jól figyeltünk, Magyarországra az Instagramon roppant aktív rendőrség tette ki az első #tetrischallenge fotót, amit aztán tucatjával követtek a hazai kihívottak, vagy a játékhoz önként csatlakozók – és nem csak katonák, tűzoltók, rendőrök, mentők, hanem civilek is, a legváltozatosabb szakmák képviselői.
A nemzetközi mezőnnyel összevetve nyugodtan kijelenthetjük: a magyar tetriszezők kiemelkedően jól teljesítették a kihívást, remek fotók születtek az elmúlt hónapokban, a Somogy megyei rendőrség fotója még a My Modern Met válogatásába is bekerült, de a Guardian is beválogatta a police_hu instáról az első ilyen fotót. A következőkben a kedvenceinket szedtük össze az internet legjátékosabb őszének hazai terméséből: ...
above: NEW! HiRes! "Here, it is an true Hungarian photomodel":Demo program before 'Fisher bastion' Celebration of the augusztus 20. St. Stephen Founder of the state, from HuAF Szolnok MH 86. "IKJ" Helicopter Base LHSN "Phoenix" combat helicopter battalion - hchel. z. - zászlóalj Mi-24P 'Hind' - "Grey cow - Szürkemarha" during acrobatic flight over the Danube-river source: AirPortal.hu
211.) 1.st district, Buda Castle -Budapest- I. kerület Budai Várnegyed & Hu.MoD. Museum of Military History - HM. HIM. - Hadtörténeti Intézet és Múzeum by: My px. photos.: https://szextant.blogspot.com/2018/04/211-1st-district-buda-castle-budapest-i.html
above: NEW! NoHigher! HuAF Mi-24V over Budapest during movie "Die hard-IV" Alami photoabove: NEW+! HiRes! HuAF's LHSN Mil Mi-24V pair with NBC recon pod photo: Nagy Béla Newspaper 'Magyar Nemzet' 2005. from facebook
NEW! above: NoHigher! From LHSA Szentkirályszabadja HuHB HuAF dormation of Mi-24s over lake Balaton photo: doct. - avn Lt.Col. Dr. Toperczer "Topidoc" István orv.rep.alez. LHKE source: facebook.com / www.topidoc.hu
above: NEW! MedRes! Russian text: source: Pinterest - RIA Novosty
Mil Mi-24 "Légitehén": http://elfnet.hu/haditechnika/helikopterek/milmi24.php
above: NEW! MedRes! Mi-24P Deutsches 'Speyer' Technik Museum photo: Kizmus Szabolcs facebook
above Two & below One: NEW! MedRes! Bulgarian Air Force (Bu. Voennaya Vosdusnaya Sila) Mil Mi-24V during live-fire exercise. source: facebook photo: Ognjan Stefanov Bu.
above: NEW! HiRes! Behind from Pin-Up Girl the place (Electrical bay) on conceptional Ballturret under rear airframe on Mi-24D source: facebook photo: Vándor Károly Hu. Berekfürdő Museum below: NEW! MedRes! Berekfürdő source: facebook
above: New! HiRes! USAAF Boeing B-17G "Flying Fortress" SPERRY "Belly" Ball-Turret examination training - Original photo from source: Lopez 'Getty image'. (LIFE? from bottom right?)

above: NEW! B-17 Left: MedRes! Right: HiRes! below: NEW! MedRes! Cutaway of B-17
above: NEW! MedRes! B-25J Ann Sheridan (mid) visits a-US Army Air Corps unit in India 1943. where servicemen have named source: Pinterest.com
Hu. text: Clara Lou Sheridan néven született a texasi Dentonban. Az University of North Texas hallgatója volt, amikor nővére neküldte fényképét a Paramount Pictures stúdiónak. Ezt követően egy szépségversenyen indult, amit meg is nyert, és a díj részeként apró filmszerepet kapott a Paramounttól. A tanulmányait félbeszakítva Hollywoodba ment sikert keresni.Első ízben 1934-ben azaz 19 éves korában jelent meg a filmvásznon, a Search for Beauty című filmben, és két évig jelentéktelen szerepeket játszott a and Paramount filmjeiben. A Paramount nem törődött Sheridan tehetségének kibontakoztatásával, így a színésznő 1936-ban átszerződött a Warner Bros. stúdióhoz. Ekkor változtatta meg nevét Ann Sheridanra. ...
above: NEW! NoHigher! North American B-25J "Mitchell"
below: HiRes! Left: North American B-25J "Mitchell" side mounted twin M2 0,5 cal (12,7 mm) Belgian licenced 'Brownings' MGs and Waist gunnery station 2 x 12,7 mm M2. Right: NEW! Consolidated B-24J "Liberator" half cutaway with "Belly" turret.
Catch 22 take Off scene: https://youtu.be/At88Fcdgv0g
Catch 22 take Off scene: https://youtu.be/At88Fcdgv0g

above: NEW! NoHigher! B-25J Women's Reservists work on a PBJ-1, the Navy Patrol designation of the bomber in Cherry Point, North Carolina, March 9. source: Pinterest.com
above: NEW! NoHigher! B-25 PGB113 Bomb Dropper Tin Metal Sign WW2 Pin-up Girl Aviation Decor source: e-Bay.com

above: NEW! MedRes! Comics: B-17 "Flying Fortress" "Belly Gunner"
above: NEW! MedRes! Juci'bacsi's Ballturret WW-Two heavy bomber airplane cross section draw. (Sheet was too short!) below: NEW! Sperry ballturret advertising prospectus
above: NEW! MedRes! Sperry displayed Ballturrer wit two M2 0,5 Cal (12,7 mm) heavy M.G. Similar to "Star Wars" TIE Fighter".
below: Luftwaffe Focke-Wulf FW190 attack from rear position to B-17

above: HiRes! Installation of the SPERRY "Ball-Turret" in fuselage.
above & below: NEW+! NoHigher! balturret grafics
above: NEW! NoHigher! Periscopic Gunsight for under-turret source: Pinterest.com
above: NEW! MedRes! half Assembled B-17 model with fitted Ballturret & waist gunner compartm. below: NEW! Left: MedRes! Right: MedRes! 1:48 MONOGRAM
above: NEW! NoHigher! Cutaway model B-17 mid section & 'Sperry' ballturret source: Pinterest
NEW! above: MedRes! B-24's ballturret installation below: MedRes!

above: NEW! MedRes! 'Allen' Museum below: NEW! MedRes! Oskosh
below: NEW! Upper: NoHigher! Bottom: Left: Medres! Right: NoHigher!


above: NEW! Left: MedRes! Right: MedRes! Inner space of Ballturret
NEW! NoHigher! above: Score points below: Haircross - Szálkereszt "Pipper" of ballturret
above: NEW! NoHigher! B-17's ballturret interior source: Pinterest & Flickr

above Three: NEW! Upper: HiRes! ceiling devices Bottom: MedRes!: Transmission & Sight
above: NEW! MedRes! 'Sperry' K4-B24K computing sight.

above: New! Ideal body firing-action position in the 'Sperry' BallTurret.
18+above: NEW! NoHigher! 'Playboy' magazine gimbal
below: NEW! Hollywood actress Goldie Hawn during training in Wermouth glass for Ballturret assignment.
En. text: Goldie Jeanne Hawn (born November 21, 1945) is an American actress, director, producer, and occasional singer. She rose to fame on the NBC sketch comedy program Rowan & Martin's Laugh-In (1968–70) before going on to receive the Academy Award for Best Supporting Actress and the Golden Globe Award for Best Supporting Actress for her performance in Cactus Flower (1969).
Hawn maintained bankable star status for more than three decades while appearing in films such as There's a Girl in My Soup (1970), Butterflies Are Free (1972), The Sugarland Express (1974), Shampoo (1975), Foul Play (1978), Seems Like Old Times (1980), and Private Benjamin (1980), for which she was nominated for the Academy Award for Best Actress for playing the title role.
Hawn's later work includes starring roles in the films Overboard (1987), Bird on a Wire (1990), Death Becomes Her (1992), Housesitter (1992), The First Wives Club (1996), and The Banger Sisters (2002). After a fifteen-year hiatus from film acting, Hawn made her comeback in Snatched (2017). She is the mother of actors Oliver Hudson, Kate Hudson, and Wyatt Russell, and has been in a relationship with actor Kurt Russell since 1983. In 2003, she founded The Hawn Foundation, which helps underprivileged children. ...
Hu. text: Goldie Jeanne Hawn (Washington, USA, 1945. november 21. –) Oscar-díjas amerikai színésznő, rendező, énekesnő és producer.
Goldie Hawn Washingtonban született. Anyja, a magyar származású zsidó Laura Steinhoff egy tánciskola és egy ékszerbolt tulajdonosa volt, aki a „Goldie” nevet leányának az Aranka név angol tükörfordításaként választotta. Apja, Edward Hawn zenészként dolgozott, presbiteriánus, és az amerikai függetlenségi nyilatkozat legfiatalabb aláírójának egyenes ági leszármazottja. Van egy nővére: Patricia.
Goldie Hawn 3 évesen, 1948-ban kezdett el balettet tanulni, és táncleckéket venni. Színészi karrierjét 11 évesen kezdte a Diótörő című balettben. Mégpedig mindjárt profiként, hisz fellépésenként 1,50 dollárt kapott. 1961-ben érte el a siker küszöbét, amikor a Rómeó és Júliában szerepelt. New Yorkban már hivatásos táncosnak számított. Később a Montgomery Blair egyetem mellett, ahol színjátszást tanult, bár tanulmányait nem fejezte be, még mindig tánctudásából élt: egy balettiskolában oktatott, miközben esténként go-go táncosként lépett fel. Nyilván éppen tánckarrierjének köszönhette annak idején legendásan vonzó alakját, és a szexszimbólum státuszt, ami „feljogosította” arra, hogy 39 évesen megmutassa magát a Playboy címlapján. Amivel egyébként a lap történetének egyik legjobb eladását produkálta. Azután a tánckarriernek mégis vége lett. Goldie a hatvanas évek közepén tűnt fel a tv-ben komédiasorozatokban, azután 1968-ban megkapta első filmszerepét, majd egy évvel később a A kaktusz virágában nyújtott teljesítményéért Oscar-díjat kapott.
2002 óta nem vállalt semmiféle szerepet, egészen a 2017-es Ó, Anyámig. Az utóbbi években inkább az írással próbálkozik. 2005-ben jelent meg A Lotus Grows in the Mud (A lótusz a sárban nő) című önéletrajzi ihletésű könyve.
A Demokrata Párt szimpatizánsa. ...

above: NEW! Left: Ball-Gunner's celebration after aerial shot-down of enemy fighter with champagne. 18+Right: The Ball-Gunner's exercise comfortable gimbal-seat. below! NEW! 1960s Retro Ball chair.
above: NEW! NoHigher! Repeat better than previous mix
above: NEW! MedRes! Original "Restricted!" MANUAL; blowed drawing about ball & trunnion ring support. - Korlátozott!" ("Szolgálati Használatra!") Kézikönyv / Kezelési Utasítás; Robbantott rajz a gömbről és a gyűrűs függeszték csap-tengelyeiről.
M2 Browning ne.gpu.: http://users.atw.hu/eroberer/FPNP/GB/M2.html
above & below: NEW! NoHigher! American 'Browning' M2 0,50 cal. 12,7 mm heavy Machine Gun
above: NEW! NoHigher! Nose & Waist gunnery version

above: NEW! Left: MedRes! Right: MedRes! below: MedRes!

above: NEW! MedRes! Browning M2 0,50 cal. Blow-Up graphics sheet - Robbantott ábra
above & below: NEW+! Nohigher! 0.50 caliber ammo - 12,7 mm lőszer - gyutacs
NEW+! NoHigher! Browning 0,50 cal. USMC Bullet/Cartridge pen as gift gadget
above: NEW+! HiRes! Juci'bacsi's made 12,7 mm Cartridge-case Ball-pen Gift 2018.dec.1.
Carpenter DIY lathes/Jack trades - Barkácsesztergák - Millings - Marók: https://szextant.blogspot.com/2017/10/203-barkacsezermester-esztergak-hobby.html
above: NEW+! NoHigher! 0.50 cal cartridge cross section - hosszmetszet
above: NEW! MedRes! Browning M2 .50 Caliber "Ma Duce" NAVY, USAF, AAC WW2
above: NEW! MedRes! "Memphis Belle"s Sperry in USAF museum source: PPS
The Ball Turret Gunners - Documentary Films
The Ball Turret Gunners - Documentary Films.Sperry and Emerson Electric each developed a ball turret, and the designs were similar in the case of the below: NEW! MedRes! In Museum


above & below Medres!: NEW! Left: HiRes!
above: NEW! NoHigher!

above: NEW! B-17's ballgunners

NEW! above: NoHigher!
above: new! Vision perspective from Waist Gunner to Ballturret Gunner Ms. #Marilyn-Monroe
above: NEW! NoHigher! #Cameron#Diaz like looks to lift hinge mechanism"
Cameron Michelle Diaz (born August 30, 1972. -age 48- San Diego, California, U.S.) is an American retired actress who is also an author, producer, and model. She frequently appeared in comedies throughout her acting career, while also earning critical recognition in dramatic films. Her accolades include four Golden Globe Award nominations, three Screen Actors Guild Award nominations, and a New York Film Critics Award. In 2013, she was named the highest-paid actress over 40 in Hollywood. As of 2018, the U.S. domestic box office grosses of Diaz's films total over US$3 billion, with worldwide grosses surpassing US$7 billion, making her the fifth highest-grossing U.S. domestic box office actress. ... https://en.wikipedia.org/wiki/Cameron_Diaz

above: Left: MedRes! Entry situation Right: MedRes!
above: NEW! HiRes! Boeing B-17 "Flying Fortress" "Belly"-Turret fitness training. source: LIFE Magazin WW-Two source: Internet-Free! Lopez Getty image?!
above: NEW! NoHigher! Model 'Monogram' B-17F (With the side streamline plexi cover!)
above: NEW! MedRes! Boeing B-17 "Flying Fortress" below: NEW! Victoria's Secret's world famous Dutch (Needrlander) runway model #Doutzen#Kroes squats in similar position before mission for preparation to narrow space.
above: NEW! NoHigher! After mission the ideal resting positure for tired Belly gunner
Sperry Corporation was a major American equipment and electronics company whose existence spanned more than seven decades of the twentieth century. Through a series of mergers it exists today as a portion of Unisys, while some other of its former divisions became part of Honeywell. ...

above: NEW! Sperry-Lawrence and Elmer-inventors of the Sperry Gyro and founding fathers of Sperry Flight Systems-now a part of Honeywell Aerospace
above: new! Sperry medal below: NEW! HiRes! veterany B-17
Norden bombsight, B-17: http://szextant.blogspot.hu/2014/02/norden-bomb-sight-usaf-secret-titok.html
above: NEW! NoHigher! B-17 Bottom up!

above: NEW! MedRes! Belly Sperry
above: NEW! HiRes! (Crop!) Tao Wickrath - At a Pool Party in Las Vegas source: Celebcafe.net
above: NEW! Warbird Pin-Up Girl in front of B-17 source: www.warbirdpinups.com

above & below: NEW! Nose fire station at navigator or bombardier above Right: WASP crew.
above: NEW! HiRes! Classical PinUp Girl as a Waistgunner in B-17
below: new! HiRes! North American B-25J "Mitchell" cutaway due waist & side mounted MGs
above: Juci'bácsi's scanned & fitted coll.: NEW! HiRes! Beautiful artwork painting; Air battle: Luftwaffe Messerschmitt Me-262 "Schwalbe" geschwader and Bf.109E attacking to USAAF escorted by North American P-51D "Mustang" fighters B-17 bombing raid formation over Schweinfurt Ball-bearing factory 1944. source: BRD Flug Revue - flugwelt international 5./1970 - Gyönyörű festmény; Légicsata: Me-262 és Bf.109 század támadja a P-51-esek által kísért B-17 bombázó köteléket a schweinfurti Golyóscsapágy Művek támadásakor. also Courtesy FREE!
above: NEW! MedRes! #STAR-WARS Resistance Bombers Ventral Ball-Turret source: Pinterest
Star-Wars 'Millenium Falcon' & TIE Fighter comparison to ... classic: https://szextant.blogspot.com/2016/01/172-star-wars-7-force-awakens-movies.html
above: NEW! MedRes! 'Sperry' "Top-Sider" Men's 10018682 Skipper Analog Display Japanese Quartz Red Watch
above: NEW! MedRes! Gift for Ballgunner's Bride the Disco Mirror-Lightball - Ajándék a vőlegény gömblövész Menyasszonyának.
above: NEW! MedRes! Hu. developed Spherical window NBC sensor; Reportage with: Hu. text: Mr. Zsitnyányi Attila: A HM HTI - Honvédelmi Minisztérium Haditechnikai Intézet (-megszűnt- a 2000-es évek elején) és a Gamma Zrt. légi sugárfelderítő konténere egy Mi–24-es harci helikopterre függesztve. photo: Honvedelem.hu
2019. április 21. 07:35, Mr. Tőrös István
Hu. text article - cikk: Forrás: Magyar Honvéd 2019. március (honvedelem.hu)
Felszállóágban: Civilek a pályán;
A honvédelmi és haderő-fejlesztési program részeként egyre több szó esik a hazai fegyvergyártás felélesztéséről. Az egykori néphadseregben szolgálók még biztos emlékeznek a FUG (felderítő úszó gépkocsi) és PSZH (páncélozott szállítóharcjármű) mozaikszavakra, nem is beszélve a FÉG (Fegyver- és Gázkészülékgyár) termékeiről. A jövőben készülhetnek-e ilyen ismert eszközök hazai gyártásban? Erre keressük a választ Zsitnyányi Attilával, a Magyar Védelmiipari Szövetség újraválasztott elnökével. ...
'Gamma' művek - works (Hu.): https://szextant.blogspot.com/2015/10/169-gamma-muvek-rt-budapest-42-hadiuzem.html
above: NEW! MedRes! Cutaway of Mi-24D & P versions below: NEW! NoHigher! Avionics bay in tail section
above: NEW! HiRes! cyrillic! cutaway of Consolidated B-24J "Liberator" heavy bomber with Ball-turret. below: NEW! HiRes! coloured cutaway. artwork by Reynold Brown
NEW! B-24 cutaways; above: NoHigher! below: HiRes!
above: NEW! NoHigher! Exploded cutaway graphics of Boeing B-17H with Belly-turret
above: NEW! HiRes! Boeing B-17 "Flying Fortress" emergency EXIT bail out of fuselage.
above: NEW! Ball-Turreting blonde bombshell Secretary lady before Emergency EXIT.
It's not every day you get to jump out of a Perfectly Good Flying Fortress! Thanks to the Collings Foundation's Wings of Freedom Tour for making this once in a lifetime jump possible.
http://www.collingsfoundation.org/
This video is being managed exclusively by Newsflare. To use this video for broadcast or in a commercial player go to: http://www.newsflare.com/video/42787/... or email: newsdesk@newsflare.com or call: +44 (0) 8432 895 191
http://www.collingsfoundation.org/
This video is being managed exclusively by Newsflare. To use this video for broadcast or in a commercial player go to: http://www.newsflare.com/video/42787/... or email: newsdesk@newsflare.com or call: +44 (0) 8432 895 191
above: NEW! MedRes! Aerial battle over Schweinfurt during the bombing raid to Ball-Bearing factory below: NEW! HiRes! paint; Consolidated B-24H 'Liberator' with Emerson nose turret.
Sweden NoHAB Di.3 diesel Electric loco with 'Emerson' nose turret: http://szextant.blogspot.hu/2014/04/71-nohab-di3-sweden-diesel-electro.html
above: NEW! NoHigher! FW190 front attack to USAAF Consolidated B-24 "Liberator" heavy bomber
above: NEW! NoHigher! FW190 armament zwilling M.G.131s
above: NEW! NoHigher! painting about B-24
above: NEW! NoHigher! "Ballturret cartridge" by #Charlize #Theron star actress from Hollywood for Dior's perfume J'adore. "for Ballturret Pin-Up girls gunners"
Star Wars VII. Imperial TIE Fighter: http://szextant.blogspot.hu/2016/01/172-star-wars-7-force-awakens-movies.html
above: NEW! NoHigher! WW-Two 1944 over Hungary bombing bombers' tech data comparison - 1944-ben magyarország bombázásában részt vett bombázó repülőgéptípusok főbb műszaki adatai.
above: NEW+! NoHigher! #Shark Yaws nose-art #Pokémon style #Bell #AH-1S "#Cobra" Attack Helicopter 20 mm '#Vulcan' #Machine #Cannon.
above: NEW+! MedRes! VVS' Couple of Mi-24Ps during in shooting - géppár tüzelés közben
above One MedRes! & below Two: NEW! NoHigher! Mil #Mi-24D,V "Hind" USzPU-24 mast of #YakB - #JakB-12,7 mm GRAU code: 9-A-624 "#Gatling" rotating system four barrel aerial heavy machine gun. - 6 csövű forgórendszerű gázelvételes repülőgépfedélzeti #nehézgéppuska.
Ми-24 УСПУ-24 #ЯкБ-12,7мм (Якушев П. Г., Борзов Б. А.) 9-А-624 и-24 было начато проектирование нового #12,7 мм #скорострельного #пулемета.
above: NEW+! MedRes! Mi-24 JakB-12,7 four rotating barrels
https://ru.wikipedia.org/wiki/%D0%AF%D0%BA%D0%91-12,7
above Three: NEW! The Mi-24's "Sperries" spherical/ball-turret - Ineffectived - Hatástalanított demo Gömbtorony below: NEW! NoHigher! Ris
YakB-JakB-12,7 mm: http://lhsn.hu/helikopter-tipusok/fegyverzet/9a624-geppuska/
above: NEW! HiRes! (Cropped due good Resolution!) "Migirl" by: DZIFF source: Hu. Google G+ Collector: Mr. Bányiczki Zoltán Pin-Up expert www.dziff.ru
The Mi-24 & YakB will be following last 1/3!
"Беркуты". Полет парой Ми 24 на воздушный бой
above: NEW! HiRes! (Crop!) The Mi-24's JakB-12,7 heavy M.G. in 'Reptár'-'Aviastore' Aviation Museum in Szolnok 26. may 2018. photo by: Canoner former 'Hip' board-technician ret.avn.W.O. Kovács "Kokó" István nyá.rep.zls. volt Mi-8/17 fed.technikus at HuAF's LHSA & LHSN HBs source: facebook/Kovács István
above: NEW! HiRes! 'Hentai' "Gatling & Bazooka-Girl"
above: NEW! NoHigher! T249 "Vigilante" US ARMY Anti-Aircraft SP Artillery prototype
above: NEW+! HiRes! Kat Creasey with Harley-Davidson and P-39 Airacobra 'Connie' Commemorative Air Force. source: Google - open gallery collector: Bányiczki Zoltán
above: NEW+! HiRes! Kat Creasey with Harley-Davidson and P-39 Airacobra 'Connie' Commemorative Air Force. source: Google - open gallery collector: Bányiczki Zoltán
above: NEW! NoHigher! original photo about Bell P-39N "Airacobra"
above: NEW! NoHigher! The Bell P-39 Airacobra was one of the principal American fighter aircraft in service when the United States entered World War II. The P-39 was used with great success by the Soviet Air Force, which scored the highest number of individual kills attributed to any U.S. fighter type. source: pinterest
above: NEW! NoHigher! P-39-400 Aircobra-Sun Setter, 35th Fighter Squadron, 8th FG., Fifth US Airforce at Milne Bay, New Guinea. September 1942.
above: NEW! P-63 (below too) was larger and heavier than the earlier P-39 Airacobra
above two & below two: New Pics! HiRes! bottom: MedRes!

above: NEW pic: main part of Bell P-39Q "Airacobra" in VVSz by Land Lease project.
above: New pic!




above: New pic!
above: NEW! NoHigher! Russian "Sturmanskie" advert of wrist watch with night adjust shooting.
above: NEW! NoHigher! U.S. "Land Lease" programme Bell P-39 'Airacobra' VSS ace, Georgy Rechkalov source: facebook/Andrey Bogdanov
Бюст Героя Советского Союза Труда Андрея Ивановича, который сбил 25 вражеских самолетов, и истребитель Р-63.
Легендарные фронтовики: выставка самолетов Великой Отечественной войны
13:02 20.02.2020В Центральном музее Военно-воздушных сил в Монино открылась выставка "Самолеты Великой Отечественной войны". Здесь собрали фронтовые машины с героической историей. Уникальные экспонаты — в фотоленте Ria.ru.
above: NEW! NoHigher! Soviet VVS Fighter Aces
above: NoHigher! ace Pavel Kutakhov/Kutahov
En. text: Pavel Stepanovich Kutakhov (Russian: Павел Степанович Кутахов; 16 August [O.S. 3 August] 1914 – 3 December 1984) was a flying ace during World War II who went on to become Commander-in-Chief of the Soviet Air Forces between 1969 and 1984. During his career he held a variety of commands and visited several countries receiving Soviet military aid. ... https://en.wikipedia.org/wiki/Pavel_Kutakhov
Ru. text: Па́вел Степа́нович Кута́хов (3 (16) августа 1914, с. Малокирсановка, ныне Матвеево-Курганского района Ростовской области — 3 декабря 1984, Москва) — советский военачальник, Главный маршал авиации (1972), дважды Герой Советского Союза (1 мая 1943, 12 августа 1984), лауреат Ленинской премии (1983), Заслуженный военный лётчик СССР (1966). Член ЦК КПСС (1971—1984). Депутат Совета Союза Верховного Совета СССР 8-11 созывов (1970—1984). ...
above: New! The Allison V12 turbocharger engine in a middle position compartment.
Corporate-VIP Jet's doors: http://szextant.blogspot.hu/2016/07/185-doors-of-vip-corporate-private-jets.html
above: NEW! NoHigher! USAAF P-39 pilot source: Pinterest.com
above Two & below: NoHigher! Original pics about Allison V-1710 source: Pinterest
above: NEW! NoHigher! P-39's gun assembly photo: Chuck Gardner in Wright Patterson AFB
above: NEW! NoHigher! Ammos for guns source: Pinterest.com
above: NEW+! NoHigher! P-63 aviatrix photo: Robert Alvarado.com source: Google Collector Bányiczki Zoltán below: NEW! MedRes! P-63 " Betty Polly "
NoHigher! above: NEW! Cockpit of P-39 below: NEW! Mil Mi-24V pilot cockpit "upper site"
above Two: NoHigher! P-39 cockpit below: Right: NEW+! MedRes! P-39Q door Pinterest

above four: NEW Pics! No Higher! P-39 cockpits
Hu. text: A P–39 Airacobra az amerikai Bell repülőgépgyár második világháborús vadászrepülőgépe volt. A szövetsé-ges légierő kötelékében egyaránt bevetették az észak-afrikai, távol-keleti és keleti frontokon is. A megépült 9.588 darabból 5.134-et a Szovjetuniónak szállítottak a kölcsönbérleti törvény alapján. A szovjet pilóták kitűnően alkalmazták a kis és közepes magasságon vívott légi harcokhoz, nagy magasságon viszont a gép gyenge teljesít-ményt nyújtott. Előnye volt viszont még, hogy a beépített 37-mm-es gépágyúval és a szárny alá felszerelhető bombával a német nehéz harckocsikat is sikerrel támadhatta.
above: NEW! NoHigher! Mi-24 in inkurrence wreckpool source: facebook
NEW! Juci'bacsi's photos: HiRes! also FREE! above: The wrecked cockpit area. Upper & Lower bullet protection shield-glass, dashboard inner parts, shield heating duct air tube - Lövedék-Golyóálló páncélüveg-szélvédő, műszerfal belső és a meleglevegős szélvédőfűtéscső.
above: NEW+! NoHigher! "I shall call the mechaniker to one's aid for this - Ehhez már szerelőt kell hívnom!"


above four: New Pics! LowMedRes!

below: new! HiRes! above: photos normal Res!

above: New Pics! Left: Large!
above MedRes! & below: NEW! Czech
above: new!! P-39 original BluePrint sheet below: new! HiRes!
above: NEW! MedRes! P-63A inboard profile drawing
above: Mounteed Le canon 20mm HS404 a
above: NEW! NoHigher! 'Popular Mechanics' issued magazin 1937.
above: Juci'bacsi scanned coll.: NEW! HiRes! samolot P-39 from Polish edition Type-book.

above: NEW! NoHigher! Similar engine site Neederlander - Dutch 'Koolhoven' FK-55 with koaxial props. source: http://aviadejavu.ru/Site/Crafts/Craft26622.htm
above: NEW+! NoHigher! MiG-S-200
NEW! above: NoHigher! an other cutaway below: HiRes! TP-39 source: motocar
above: NEW! MedRes! Cutaway drawing of P-63 "King Cobra" (Original was intent deformed!)
above: NEW! NoHigher! P-63C "Kingcobra" nowadays photo: Doug Fisher
above & below: NEW! HiRes! "Betty Polly" P-63 in Ca. state Palm-Springs aerodome photo: Ian L. Sitren source:
above: NEW+! NoHigher! French AF P-63C 'Toko' model
above: New! Armor protection of P-39 below: NEW! NoHigher! The half wing
above: NEW pic: Pin-Up Girl at work somewhere America in aircraft plant. below: New!
above: NEW! NoHigher! Lovers couple Employer mechanic on freetime by artist Andrew Loomis
above: new! HiRes! Assembly LOC plant.
above & below: NEW! Neederlander Koolhoven FK-55s
Koolhoven's designs definitely had vision, have a look at his Koolhoven FK-55 fighter design (1937): 860 hp Lorraine Petrel engine in the back connecting via a long shaft two counter rotating propellers, pretty sleek lines, nose cannon, very innovative.
Unfortunately the bird flew only once as the engine turned out to be underpowered for this radical design, which made flying it near impossible. source: http://www.sas1946.com/main/index.php?topic=16925.0
above & below: NEW! NoHigher! FK-55 source: http://members.ziggo.nl/henrikaper/koolhoven/koolhoven-vliegtuigen/
NEW! above: HiRes! 3 view & below: NoHigher! FK-55

above two: New Pics! Left: HiRes! Right: MedRes! Comparison graphics
Hu. text: A Bell P-63 Kingcobra közvetlen támogató repülőgép és közvetlen elődje, Bell P-39 Aircobra vadászrepülőgép a konstrukciós filozófiáját tekintve jelentős mértékben eltért az amerikairepülőgépipar által előállított repülőgép-konstrukcióktól. Harci alkalmazása, erős páncélzata és
erőteljes gépágyú- és rakétafegyverzete miatt a P-63 repülőgépet a páncélozott csatarepülőgép
kategórián belül tárgyaljuk, előzőleg ismertetve az alaptípusnak mondható P-39-et is. A P-63
közvetlen elődje, a P-39 Aircobra 1939-ben jelent meg, amely folyadékhűtésű motorjának
köszönhetően 610 km/h sebességre volt képes. Négy géppuska és egy összesen 30 db lőszerrel ellátott 37 mm-es gépágyú alkotta a repülőgép fegyverzetét. Ez a nagy űrméretű fegyver inkább volt alkalmas földi, páncélozott célok pusztítására, mint vadász-légiharcra. A gépágyú alacsony tűzgyorsaságahátrányt jelentett a légi harcban, ugyanakkor a fegyver szovjet és német páncélvadász-repülőgépek fedélzeti fegyvereihez mérhető páncélátütő képessége alkalmassá tette a harckocsik elleni hatásos tevékenységre 11.
A típust eredetileg az amerikai légierő vadászrepülőgép-megrendelésére fejlesztette ki a konstruktőr. Mivel az erős páncélzattal és nagy tömegű gépágyúval szerelt repülőgép manőverező képessége messze elmaradt az elvárt értékektől, az amerikai légierő a P-39 repülőgépek jelentős részét – több mint 50%-át - a szovjet légierőnek adta át. A szovjet légierő a keleti hadszíntéren sikerrel alkalmazta a közvetlen támogató feladatokra kiemelkedően alkalmas repülőgépeket, amelynek fegyverzete a német nehézpáncélosok ellen is hatékonynak bizonyult. A vadászrepülőgép kategóriában szokatlan fegyverzetű repülőgépen egyéb, a szokványostól jelentősen eltérő műszakimegoldást alkalmaztak. A motort a pilóta mögött helyezték el, így az egy tengelyen keresztül hajtotta a légcsavart. A motor és a hűtő ez által a repülőgép – légvédelmi géppuskák és gépágyúk szempontjából - védettebb részére került, növelve a gép harci túlélőképességét. (Ugyanakkor vadászlégiharcban ez az elrendezés nem adott többlet védettséget.) A futómű – korát jóval megelőzve – orrfutós kialakítású volt. A részlegesen páncélozott pilótafülkébe egy a gépkocsikéhoz hasonló, páncélvédett oldalajtón lehetett bejutni. A túlélőképességet fokozta az öntömítő üzemanyagtartály is.
A szovjet légierő a földi támogató feladatok mellett vadászrepülőgépként használta ezt a típust,
amelyet ilyen feladattal rendszerben tartott és kis számban alkalmazott az amerikai légierő is. A P-39-
et 1942-ben - a szovjet alkalmazó, illetve a szovjet alárendeltségben harcoló amerikai alkalmazó földi
támogatásra vonatkozó igényeit figyelembe véve 12 – áttervezték, továbbfejlesztették.
10 Kamanyin, Ny. P.: Repülők és űrhajósok. Zrínyi Katonai Kiadó, Budapest, 1973. 188 és 258. o. 11 A 37 mm-es M9 gépágyú 326000 Joule torkolati energiája mintegy 10-20%-kal meghaladta a hasonló űrméretű német és
szovjet fegyverek paramétereit. Tankbusters: airborne anti-tank guns in ww2.htm 3. o. 12 Nem csak a szovjet alkalmazó jelezte fejlesztési igényeit. A szovjet légierőben egy amerikai pilótákból felállított, P-39 és
P-63 gépekkel felszerelt repülő-ezred is harcolt, természetesen a szovjet szabályzatok és harceljárások alapján. Ezt az
egységet számos esetben vonták be csatarepülőgép-támogató illetve közvetlen támogató feladatokba, így alkalmazási
tapasztalataikat és igényeiket jól kommunikálhatták a gyártó felé. 77 th Flying Squadron - 7 th Air Force – American
Volunteer Group, 777 AVG Unit History.htm.
1943-tól a repülőgép P-63 jelzéssel került a csapatokhoz. Egy az eredetinél 500 LE-vel erősebb
turbófeltöltős motorral szerelték fel, így 660 km/h sebességre volt képes, és fegyverzet-terhelése is
növelhető volt. Az amerikai légierő nem rendszeresítette az egyre inkább a páncélozott csatarepülőgép kategóriába sorolható típust, amelynek alkalmazása idegen volt az angolszász légierők közvetlen támogató harceljárásától. Minden elvégzett fejlesztés a csatarepülőgépként vívott harc lehetőségeinek bővítését célozta és alapvetően az ekkorra egyedülinek mondható alkalmazó – a szovjet légierő – igényeihez és közvetlen támogató harceljárásához igazodott. A nagyobb motorteljesítmény lehetővé tette, hogy a repülőgép fegyverzetét három felfüggesztési ponton elosztott 700 kg-nyi bombával egészítsék ki, amely tovább növelte a repülőgép közvetlen támogató képességét. A gépágyú lőszerjavadalmazását 58 db-ra, az eredeti mennyiség kétszeresére növelték. A gépet rakétafegyverzet függesztésére alkalmas szárny alatti tartókkal is felszerelték, amelyeken oldalanként 3-3 darab 132 mm-es rakétát hordozott. A pilótafülke védettségéről mellső páncélüveg gondoskodott. A védőpáncélzat tömegét tovább növelték a P-39-hez képest. A P-63 az Iljusin Il-2/10
csatarepülőgépekkel közel azonos kategóriába került a keleti hadszíntéren, fegyverzeti konfigurációja
– páncélozott célok elleni nagy űrméretű gépágyú és rakétafegyverzet, emellett gyalogság elleni
kisméretű bombák - is ebben az irányban fejlődött, hasonulva a szovjet típushoz. Az egyre inkább a
közvetlen támogató szerepkör felé elmozduló konstrukció 75%-át a szovjet légierőnek adták át, ahol
főként a szárazföldi csapatok közvetlen támogatására, főként földi célpontok és páncélozott célok ellen alkalmazták13. A haditechnikai lehetőségek bővülését a szovjet csatarepülő szervezetek felépítésének változása követte. A csatarepülő hadtestek biztosításra alkalmazott vadászrepülő hadosztályai közül egyet vadászbombázó típusokkal töltöttek fel, és aktívan bevonták a földi támogató feladatok végrehajtásába. Ebben a szervezeti rendben jutott szerephez a Bell P-63 Kingcobra is, amely – fegyverzetét és páncélzatát tekintve – inkább állt közel az Iljusin csatarepülőgépekhez, mint a többfeladatú vadászbombázókhoz.
above: NEW+! MedRes! Comparison Performance Graphic V - H: between P-39, P-40, P-51
Hu. text: A nagysebességű repülőgép számos problémát vetett fel, aerodinamikailag, szilárdságilag, anyagszerkezetileg, hiszen a legkisebb saját tömegekkel kellett elérni a legnagyobb teljesítményeket. Ekkor indul egy konstrukciós „forradalom”, amelynek minden számottevő országban lesznek kiváló és ihletett tervezői. A teljesség igénye nélkül, néhányan:
Nagy-Britanniában Sydney Camm217 (Hurrican), Reginald Mitchell218 (Spitfire).
Németországban Willi Messerschmitt219 (Bf-109, Bf-110), Kurt Tank220 (Focke-Wulf 190).
Olaszországban Roberto Longhi221 (Re-2000), M. C. Macchi222 (C.200 és C.202).
A Szovjetunióban Jakovlev223 (Jak-1, -3, -7, -9), Lavocskin224 (La-1, -3, -5, -7), Mikoján,225 és Gurevics226 (MíG-1, -3).
217 Sir Sydney Camm (1893. augusztus 5. - 1966. március 12.) angol repülőmérnök, aki a Hawker cég számos repülőgép-tervezési munkáit végezte. A RAF első, igazán hatásos vadászgépe az általa tervezett Hurrican volt.
218 Reginald Joseph Mitchell (1895. május 20. - 1937. június 11.) angol repülőmérnök volt, aki a Supermarine Aviation-nél dolgozott. 1920 és 1936 között sok repülőgépet tervezett. Legjobban emlékszünk az ikonikus má-sodik világháborús vadászgépére, a Supermarine Spitfirre.
219 Wilhelm Emil "Willy" Messerschmitt (1898. június 26. - 1978. szeptember 15.) német repülőgép- tervező és gyártó. A kiváló vadászgép, a Messerschmitt Bf - 109 tervezője, megalkotója, amelyet 1934-ben, Walter Rethel együttműködésével terveztek. A Bf 109 a Luftwaffe legfontosabb vadászává vált, amint Németország a II. világ-háborúban. Sok egyéb harci gépet is tervezett és eljutott egészen a legendás sugárhajtásút vadászig!
220 Kurt Waldemar Tank (1898. február 24. - június 5.) német repülőmérnök és tesztpilóta volt, aki 1931 és 1945 között a Focke-Wulf tervezési osztályát vezette. Az ő nevéhez köthető, többek között az Fw - 190 vadászrepülő-gép, a Ta - 152-es vadászgép és a Fw - 200 Condor repülőgép. A háború után Tank két évtizedig repülőgépeket tervezett külföldön, először Argentínában, majd Indiában, mielőtt 1960-as években visszatér Németországba, hogy tanácsadói legyen a Messerschmitt-Bölkow-Blohm cégnél.
221 Olasz repülőmérnök, aki huzamos ideig az USA-ban élt és dolgozott. Olaszországba való haztérése előtt a Seversky repülőgépgyár tervezési részlegénél működött. A másik, vele együtt hazatért konstruktőr, Antonio Alessio volt. Mindketten tervezték az Re – 2000 Falco gépet!
222 Giulio Macchi (1866-1935) olasz repülőmérnök volt, az Anonima Nieuport-Macchi társaság (jelenleg Alenia Aermacchi ) alapítója. Macchi a testvéreivel együtt egy kis kocsiépítő műhelyből indult és 1913. május 1-jén alapította az Anonima Nieuport-Macchi társaságot. A vállalat a Nieuport repülőgépeket licenc alapján gyártotta, szerelte, majd 1916-tól elkezdte építeni saját tervezésű gépeit is. Köztük a sikeres Macchi M.5-es vadászokat. Az 1920-as években a vállalat teljesen önállóvá vált, 1924-ben pedig Aeronautica Macchi- nak nevezték át. Macchi ekkor kezdett együttműködni Mario Castoldi tervezővel, és közösen építették az M.39, az M.52, az M.67 és a rekorder MC72 versenygépek híres családját; utóbbi utoljára 1934-ben repült, Macchi halála előtt.
223 Jakovlev Alekszandr Szergejevics (Moszkva, 1906. április 1. – Moszkva, 1989. augusztus 22.) szovjet–orosz repülőmérnök és repülőgép tervező. A Jakovlev-tervezőiroda vezetőjeként nevéhez fűződnek a második világhá-ború legnagyobb számban gyártott szovjet légcsavaros vadászrepülőgépei. Számos gépet tervezett élete során, a könnyű változatoktól az utasszállítókig, de legfőképpen katona repülőgépeket. 1940–1946 között egyúttal a repülőgépipari népbiztos helyetteseként is tevékenykedett. 1956-tól 1984-ig a nevét viselő Jakovlev Tervezőiro-da (OKB–115) főkonstruktőre volt. 1946-tól vezérezredesi rendfokozatot viselt, 1976-tól a Szovjetunió Tudo-mányos Akadémiájának tagja volt. Számos szovjet kitüntetést kapott.
224Lavocskin Szemjon Alekszejevics (Szmolenszk, 1900. augusztus 29. – Moszkva, 1960, július 9.) szovjet repü-lőmérnök, repülőgép-tervező. Az 1930-as években kezdte el a később sikeres sorozattá vált modern vadászrepü-lőgépek tervezését. A LaGG–3, La–5 és La–7 vadászrepülőgépek fontos szerepet játszottak a II. világháború légi harcaiban. A háború után Lavocskin a sugárhajtású repüléssel kezdett el foglalkozni. Az általa tervezett prototí-pusok a Szovjetunió első sugárhajtású harci repülőgépei közé tartoztak. Többségük azonban csak prototípus maradt, egyedül a La–15-ből készült kisebb sorozat. Az 1950-es évektől rakéták és robotrepülőgépek fejleszté-sével foglalkozott az általa vezetett OKB–301 tervezőiroda, később pedig kozmikus berendezések (pl. űrszon-dák) tervezésével kezdtek el foglalkozni.
225 Mikojan Artyom szovjet repülőgéptervező. Kezdetben Polikarpovval is dolgozott, később önálló tervezőiro-dát kapott. A MíG-1, MíG-3 vadászok tervezője. Az igazi sikereket a sugárhajtású korszak gépei hozták meg számára: MíG-15, -17, -19, -21, -23, -25, -29…
Japánban Jiro Horikoshi227 (Mitsubishi A5M, A6M), Hideo Itokawa228 (Nakajima Ki-43 Hayabusa).
Az USA-ban A. Kartveli229 (Republic P-47 Tunderbolt), Edgar Schmud230 (North American P-51), H. Hibbard,231 és C. „Kelly” Johnson232 (Lockheed P-38), L. Grumman233 (F4F, F6F), D. Berlin234 (Curtiss P-40), B. Kelsey235 (Bell P-39).
A franciáknál Marcel Bloch236 (Bloch-150), vagy E. Dewoitine237 (D-520).
Ezen kívül még számtalan tervezőt és céget lehetne felsorolni.
226 Gurevics Mihail Ioszifovics (Rubanscsina, 1893. január 12. – Leningrád, 1976. november 25.) szovjet gé-pészmérnök, repülőgéptervező, a műszaki tudományok doktora. Artyom Mikojannal hozták létre a Mikojav–Gurevics tervezőirodát (OKB–155), melynek gépei a nevükből alkotott MiG típusjelzést viselik.
227 Dr. Jiro Horikoshi (1903. június 22. - 1982. január 11.) a második világháborúban számos japán repülőgép tervezője volt, köztük a Mitsubishi A6M Zero vadászé.
228 Hideo Itokawa (1912. július 20. - 1999. február 21.) a japán rakéták úttörője volt, közismert nevén "Dr. Rocket", és a japán űrfejlesztés atyja. A világháború idején a Nakijama tervezőmérnöke.
229 Alexander Kartveli (1896. szeptember 9. - 1974. június 20.) grúz származású, befolyásos repülőgépmérnök volt. A sugárhajtású korszakban is jelentős áttörést ért el a katonai repülésben. Úgy tekintik, hogy az egyik leg-fontosabb és leginnovatívabb repülőgép-tervező az amerikai repülésben.
230 Edgar O. (Ed) Schmueu (Schmüd) (1899-1985), német származású repülőgép-tervező. Leghíresebb alkotása a P-51 Mustang és később az F-86-as Sabre. Később repülőgép-tanácsadóként dolgozott más légijármű-terveken.
231 Hall Livingstone Hibbard (1903-1996) repülőmérnök (matematikus-fizikus). A Stechart Aircraft- ban, Kansasban, Wichitában kezdte el a tervezői munkáját, majd később főmérnökként folytatta. 1932-ben csatlako-zott a Lockheed tervezőcsapatához, ahol számos gép tervezésében vett részt.
232 Clarence Leonard "Kelly" Johnson (1910. - 1990.) amerikai repülőgéptervező. A Lockheed egyik legsikere-sebb mérnöke. Kiváló aerodinamikus szakértő. Hall Hibbard , aki Johnson Lockheed főnöke is volt, egyszer megjegyezte Ben Richnek : "Az a svéd valóban látja a levegőt." Számos repülőgépet tervezett.
233 Leroy Randle "Roy" Grumman (1895. - 1982.) amerikai repülőmérnök , tesztpilóta és iparos . 1929-ben alapí-totta a Grumman Aeronautical Engineering Co.-ot , később Grumman Aerospace Corporation néven, és most Northrop Grumman részévé vált.
234 Donovan Reese Berlin (1898. -1982.) amerikai katonai repülőgép-tervező és repülőgép-ipari ügyvezető volt. A Curtiss P-36 Hawk , a Curtiss P-40 Warhawk és a Fisher P-75 Eagle számos egyéb gép fűződik a nevéhez. Ő tervezett olyan repülőket, amelyek biztonságosak voltak, robusztusak és "a pilóta öröme" is volt.
235 Benjamin Scovill "Ben" Kelsey (1986. - 1981..) amerikai repülőgép-mérnök. Számos gép kialakításában működött közre.
236 Marcel Dassault (született Marcel Bloch, 1892. – 1986. egy francia repülőgépgyártó volt. 1928-ban Bloch megalapította a Société des Avions Marcel Bloch repülőgép-társaságot, amely 1930-ban gyártotta első repülő-gépét. 1971-ben Dassault megszerzi a Breguet-t, amely a Marcel Dassault-Breguet Aviation (AMD-BA) repülő-gépeket gyártotta.
237 Émile Dewoitine (1892. - 1979.) francia repülő gyáros. 1920-ban alapította saját cégét, de otthon kevés sikert aratott, Svájcba ment, ahol a Dewoitine D.27 vadászgépet átvették az aktív szolgálathoz. 1940-ben a Dewoitine D.520 Franciaország legjobb harci repülőgépének bizonyult. A háború alatt kollaborációval vádolták, ezért Svájcban élt.
238 A WM–23 Ezüst Nyíl a Weiss Manfréd-repülőgépgyár által gyártott magyar tervezésű alsószárnyas, zártkabi-nos, bevonható futóműves, együléses vadászrepülőgép. A gépet Samu Béla és tervezőcsoportja tervezte. A ter-vezés 1939 nyarán kezdődött. Motorjául az akkor a Weiss Manfréd gyárban a francia Gnome-Rhône 14Kfrs Mistral Major kétkoszorús csillagmotor licenc-változatát, a WM–K–14B-t szánták. Összesen egy prototípus épült, ez a gép 1942-ben egy tesztrepülésen bekövetkezett baleset során megsemmisült.
239 Samu Béla repülőmérnök. Számos gép tervezésében vett részt. Repülőgépelemek címen egyetemi jegyzete jelent meg 1951-ben.
250 Polikarpov Nyikolaj Nyikolajevics (Orjol, 1892. július 8. – 1944. július 30.) szovjet–orosz repülőgép-tervező. Az 1910-es évektől több jelentős orosz, majd szovjet repülőgép tervezésében részt vett. Az 1930-as években a szovjet vadászrepülőgép-fejlesztés központi alakja. Számtalan gépet tervezett, közte az U-2, nálunk Po-2 néven ismertet. Legismertebb alkotásai az I–15 és I–16 vadászrepülőgépek, a Po-2 gép, amelyből több tízezret gyártot-tak.
251 Ez a gép a maga korában szintén nagyon jó volt. Küzdött gondokkal – mint minden vadászgép – de ezeket sorra megoldották. Belőle fejlődött ki a későbbi P-43 Lancer, majd pedig a P-47 Thunderbolt is, ami igazán kiváló gép lett. A Seversky Aircraft Co. 1939-ben átalakult és így jött létre a Republic Aviation Co. A Lancer és a Thunderbolt már ezen a néven szerepel, de a tervezők azonosak! source: Rónaföldi Zoltán: Gondolataim, Nemere István: „Horthy István élete és halála” című könyvéhez

above: NEW! NoHigher! Comparison of Shadow profile

above two: NEW! Right: MedRes! Aerial fight to Focke-Wulf FW 190
NEW! NoHigher! above: ace Pavel Kutakhov below: Aces of Liberation Big War
above: NEW pic! below: New Pics! Soviet pilots suits & personal equipments source: http://www.paquet.li/bd/collection-cockpit

above: NEW! Left: NoHigher! Right: MedRes!
above: NEW! NoHigher! "American St.Sgt. pilot of WASP (Woman Air Service Pilot) They were applicated to between Producer Workpool and Front-line airfield." Pin-Up Girl in mily green suit, Brazilian supermodel Giselle Bündchen.
Gisele Caroline Bündchen (born July 20, 1980. -age 40- Horizontina, Rio Grande do Sul, Brazil) is a Brazilian model. She occasionally acts in movies. According to Forbes, she is the best paid supermodel in the world and the sixteenth richest woman in the entertainment world. She earned $33 million in 2007 and $35 million in 2008 alone. Her fortune is estimated to be about $150 million. She is also listed on Guinness Book of World Records as the world's richest supermodel. Bündchen has been the face of more than 20 brands internationally and has appeared on more magazine covers than any other model. ... https://simple.wikipedia.org/wiki/Gisele_B%C3%BCndchen
above: MedRes! Soviet Pilot Suits WW-Two

above three: New Pics! Top Right: Bill Feidler Bottom: Bevlock
above: NEW! NoHigher! Soviet razbor Poletov
New Pics!: above: Rechkalov (Heroes of SU) below: L.: Kutahov R.: Golodnhikov


above: Left: Juci'bacsi's scanned coll.: NEW! also courtesy FREE! NoHigher! Hu. 'Modellezés' Magazin from ~1968 Right! NEW! NoHigher! scan by Sextant Hu.'REPÜLÉS' 1983-apr MHSz's (Magyar Honvédelmi Szövetség - Association of Hungarian Home Defender) secretary -fotitkár on DOSzAAF congress.
Ru. text: Алекса́ндр Ива́нович Покры́шкин (6 [19] марта 1913 года, Новониколаевск, Томская губерния — 13 ноября 1985 года, Москва, СССР) — советскийвоеначальник, Маршал авиации (1972), лётчик-ас. Первый трижды Герой Советского Союза (1943,1944,1944). Кандидат в члены ЦК КПСС (1976—1985). Член Президиума Верховного Совета СССР (1979—1984). Депутат Верховного Совета СССР (1946—1984).А. И. Покрышкин был второй по результативности (после Ивана Кожедуба) пилот-истребитель среди лётчиков стран антигитлеровской коалиции во Второй мировой войне.
Hu. text: Alekszandr Ivanovics Pokriskin (oroszul: Александр Иванович Покрышкин; Novoszibirszk, 1913. március 6. – 1985. november 13.) szovjet légierő marsallja. ...
En. text: Alexander Ivanovich Pokryshkin (Russian: Алекса́ндр Ива́нович Покры́шкин; 6 March 1913 – 13 November 1985) was a top Soviet flying ace and a Marshal of the Soviet Air Force. He was made a Hero of the Soviet Union on three separate occasions (24 May 1943, 24 August 1943, and 19 August 1944).
Pokryshkin was, in addition to his three Hero of the Soviet Union golden stars, awarded six Orders of Lenin (22 December 1941 - № 7086; 24 May 1943 - № 9600; 24 August 1943 - № 124904; 21 October 1967 - № 344099; 21 February 1978 - № 429973; 5 March 1983 - № 400362), the Order of the October Revolution, four Orders of the Red Banner, two Orders of Suvorov (2nd class), two Orders of the Red Star, a number of other medals, and foreign orders, such as the US Army Distinguished Service Medal. Pokryshkin scored 47 of his 65 victories in American-made Bell P-39 Airacobras, making him the highest scoring P-39 pilot of any nation, and the highest scoring pilot flying any American fighter design.
Pokryshkin was the great tactician of the Soviet Air Force during the Second World War. He almost single-handedly fought to change the obsolete Soviet tactics that were in place in 1941 when the war started. Going against the establishment and openly defying the approved combat doctrine almost cost him his career and possibly his life. After openly criticising the official tactics that led to huge losses and teaching his fellow pilots new tactics he invented himself, he was grounded and scheduled to be tried by court martial. However, word of his innovations eventually reached his superiors in Moscow, and instead of a court martial, Pokryshkin was awarded and promoted. By the end of the war his writings had been published and distributed to all Soviet pilots, and he toured fighter regiments extensively lecturing young pilots on his techniques. ...

Ru. text: «Полёт» — марка советских и российских часов, которые изготавливал Первый Московский часовой завод (Часовой завод Полёт), начиная с 1960-х годов . В 1964 годучасы 1-го MЧЗ начали маркироваться зарегистрированным товарным знаком «Полёт» («Poljot»). На сегодняшний день [когда?] эти товарные знаки зарегистрированы более чем в 90 странах и хорошо известны во всем мире. ...


Pokryshkin was, in addition to his three Hero of the Soviet Union golden stars, awarded six Orders of Lenin (22 December 1941 - № 7086; 24 May 1943 - № 9600; 24 August 1943 - № 124904; 21 October 1967 - № 344099; 21 February 1978 - № 429973; 5 March 1983 - № 400362), the Order of the October Revolution, four Orders of the Red Banner, two Orders of Suvorov (2nd class), two Orders of the Red Star, a number of other medals, and foreign orders, such as the US Army Distinguished Service Medal. Pokryshkin scored 47 of his 65 victories in American-made Bell P-39 Airacobras, making him the highest scoring P-39 pilot of any nation, and the highest scoring pilot flying any American fighter design.
Pokryshkin was the great tactician of the Soviet Air Force during the Second World War. He almost single-handedly fought to change the obsolete Soviet tactics that were in place in 1941 when the war started. Going against the establishment and openly defying the approved combat doctrine almost cost him his career and possibly his life. After openly criticising the official tactics that led to huge losses and teaching his fellow pilots new tactics he invented himself, he was grounded and scheduled to be tried by court martial. However, word of his innovations eventually reached his superiors in Moscow, and instead of a court martial, Pokryshkin was awarded and promoted. By the end of the war his writings had been published and distributed to all Soviet pilots, and he toured fighter regiments extensively lecturing young pilots on his techniques. ...

above: NEW! NoHigher! Soviet First Fighter ace, A.I. Pokryshkin in captain badge.
above: NEW+! NoHigher! 'Polet' - "Russky Aviator" Pokriskin A. I.
En. text: Poljot (Russian: Полёт, literally meaning "flight"), is a brand of Soviet/Russian wristwatches, produced since 1964 by the First Moscow Watch Factory (Russian: Первый Московский Часовой Завод, ПМЧЗ, Perviy Moskovskiy Chasovoy Zavod). The flagship brand of the USSR's watch industry, Poljot produced numerous historical watches used in many important space missions, including the world's first space watch worn by Yuri Gagarin.Ru. text: «Полёт» — марка советских и российских часов, которые изготавливал Первый Московский часовой завод (Часовой завод Полёт), начиная с 1960-х годов . В 1964 годучасы 1-го MЧЗ начали маркироваться зарегистрированным товарным знаком «Полёт» («Poljot»). На сегодняшний день [когда?] эти товарные знаки зарегистрированы более чем в 90 странах и хорошо известны во всем мире. ...

above: New! Left: Aleksandr Pokriskin Centre: Marshall Georgi Zhukov
above: NEW! Book of A.I. Pokriskin "Winged Hunters" - "Szárnyas vadászok" Athenaeum published
above: New! NoHigher! Other Red-Ace than Paquet as Steampunk: word famous Hungarian fashion & photomodel: Mihalik Enikő
above: papermodel

above: NEW! MedRes! VVS P-39Q photo: www.albatros.extra.hu
above three pics: New!
above & below: NEW! MedRes! Mil Mi-24A Test-pilot ret avn.Lt.Col. Papp "Papppisti" István ny.re.alez. WSO ret. St.Sgt. István László ny.ftőrm operátor/pilóta
Hu. text: Mi-24A: És ha tudnád, hogy hogyan repültem vele először. Jöttek a helyiek, hogy hajtómű problémájuk van. Megkérdeztem, milyen hajtómű és mi a probléma, elővettem a silabuszom és elmondtam a gyógymódot, ez volt délelőtt. Délután jött a szakember, hogy a beállítást elvégezték, lehet kipróbálni a helit. Kimegyünk a startra és látom, hogy ez egy Mi-24A. Összenéztunk jól megnézzük, hogy hogyan kell felmászni, majd a kabinban megkerestem az AI-9 és a hajtóműindító panelt. Izgalmas volt, de jól sikerült minden. Szűken így volt. Papp "Pappisti" István
En. text: Mi-24A: And if you knew how I flew with it for the first time. The locals came to have an engine problem. I asked what engine was and what the problem was, I took out my syllabus and told me the cure, it was morning. In the afternoon came the specialist that the setup was done, you can try the sound. We go out to the start and see that this is a Mi-24A. We had a good look at how to climb, and then I looked for the AI-9 aux. power unit and the engine starter-panel in the cabin. It was exciting, but everything went well. It was strictly so.
above & below: NEW! MedRes! Former Danubian Aircraft-factory - Dunai Repülőgépgyár Rt. - DRRT (Csepel-island close to Budapest) Mi-8/17/24 Test-pilot ret avn.Lt.Col. Papp "Papppisti" István ny.re.alez. WSO ret. St.Sgt. István László ny.ftőrm operátor/pilóta in East-Africa Ethiopia for Mi-24/35 tester mission in late 2000. source: facebook/Papppisti
Megjegyzés: Papp "Papppisti" István's comment: Etiópia magasfennsík HQNH (tsz.f. 2400m) az Etióp-Eritreai háború időszakában. Tehát nem tengerpart, csak azért olyan zöld minden mert a monszun-esőzések időszakában készült a felvétel. Ez időszakban a lámpa fű képes 10 cm-t is nőni. Amikor ez történt, még lett volna következménye. Most már a múlt, de igaz. De repültem Peruban, Indiában, Kambodzsaban, Izraelben is minden nagyképűség nélkül. - En. text by Google translator: Ethiopia High Plateau HQNH (AMSL - above mean sea level 2400m) during the Ethiopian-Eritrean War. So it’s not a beach, it’s just so green because the shot was taken during the monsoon rains. During this period, the lamp grass can grow up to 10 cm. When that happened, it would have had consequences. It's the past now, but it's true. But I also flew in Peru, India, Cambodia, Israel without any arrogance.
above: NEW! NoHigher! CzAF photo calendar 2013.
above: NEW! MedRes! Moderne ballturret without JakB-12,7mm of Mi-24D with Czech Pin-Up
above: NEW! MedRes! Mr. Vándor Karesz's hungarian Pin-Up girl under the museal restaurated Soviet camo Mi-24D's right recratable main landing gear.
Hu. Berekfürdő VVSz Museum: http://www.soviet-airforce.com/hu/
above: MedRes! Air Art's profile artwork: Mi-24V HuAF MH 86th Szolnok Helicopter Base
above & below: HiRes! Air Art Grafika Memorial sheets
above: Juci'bacsi's coll.: NEW! HiRes! "Air-Art" Graph. part of HuAF poster from 2002. FREE!
NoHigher! above: NEW! Evolution of the Mi-24 below: Mi-24V/35 outline drawing
above: NEW! Szentesi György: Katonai Helikopterek-Haditechnika Fiataloknak. Zrínyi Kiadó 1980s
above: NEW! MedRes! Original Russian sheet of maintenance.
above & below: NEW+! NoHigher! original Soviet made cutaway & blasted drawings
above & below: NEW+! NoHigher! original Soviet made cutaway & blasted drawings
above: HiRes! Mi-24D
above: Mi-24P
The "Greyhind"
above: NEW! HiRes! Overhauled and Upgraded Mi-24 2018. október - Nagyjavított - Felújított over LHSN airfield - Helicopter Base Photo by: Mr. "Stonefort" source: Jetplanes
jetplanes.blog.hu: Stonefort2: 2018. október 16., kedd 10:28 |
Hu. text: Feltámadt holtából a "Főnix"
2018 október közepétől megkezdődtek a rendszeres kiképzési repülések a felújított Mi-24-es harci helikopterekkel, amelyek a hajdani Phoenix század mai utódjához kerültek. Az első négy gép az eredetileg tervezett április helyett szeptember 10-én érkezett vissza Szentpétervárról egy An-124-es fedélzetén, amit követően sor került az összeszerelésükre és berepülésükre. Utóbbi új elemeket is tartalmazott, ugyanis a kismértékű korszerűsítés során modern, de civil szabványú, és kereskedelmi forgalomban szabadon beszerezhető navigációs berendezéseket is beépítettek, amelyek tesztelése, és a működésük ellenőrzése plusz feladatot jelentett. ...
Hu. text: MI-24, ÚJRATÖLTVE: Article by: Mr. Szórád Tamás Air Base.blog.hu
2019. április 26., péntek 15:58 |
Idén újabb fejezet nyílt a magyar Mi-24-es üzemeltetés történetében. Miután mind a nyolc, 2017-ben nagyjavításra Oroszországba szállított harci helikopter visszakerült Szolnokra, megkezdődhetett a képesség-visszaállítás. ... A harci helikopterek nagyjavítását és visszaállítását célzó politikai döntés előtt egy évvel már érezni lehetett, hogy talán lesz valami pozitív változás. Volt, aki hitt benne és volt, aki kevésbé. A típus leállítását követő években a hajózók és műszakiak típusjogosításai is lejártak. ... https://index.hu/i2/#http://airbase.blog.hu/2019/04/26/mi-24_ujratoltve
above: NEW! NoHigher! HuAF Mi-24P 'Hind' - 'Szarvastehén' /('Hátsófertály') "Reloaded" by: Juci'bácsi's nickname variant: "Hungarian Grey Cow - Magyar Szürkemarha"
above: NEW! NoHigher! Overhauled HuAF Mi-24P 'Hind' 2019. april, Juci'bacsi's nickname: "Grey-cow/Grey Hind" photo: Szórád Tamás Airbase Blog.hu
above: color cutaway HiRes Big! www.rostvertol.ru below: NEW+! NoHigher!
above: NEW! MedRes! Original study poster about control of helicopter - vezérlés oktató tabló
above: NEW! MedRes! Original study poster about control of helicopter - vezérlés oktató tabló
above: New! HiRes! Chinese M=1:35 Trumpeter model - TV3-117A turboshaft engine and till empty VR-8A reductor area below: 3D graphics too.
above & below: NEW! NoHigher! Isotov TV3-117A free turboshaft engine
above: NEW! MedRes! TV3-117 in HuDF MH.87th BHHE maintenance Hangar LHSA - Hajtómű a MMSz Javító osztály hangárjában 1995. source: facebook: Kéméndi Sándor
above: NEW! MedRes! TV3-117 in HuDF MH.87th BHHE maintenance Hangar LHSA - Hajtómű a MMSz Javító osztály hangárjában 1995. source: facebook: Kéméndi Sándor
above: NEW! NoHigher! TV3-117 model
above: NEW! HiRes! (Crop & Edited!) The 'Hind-D' TV-3-113 engine Szolnok Szolnok Helicopter Base occasion of Military Helicoptering Meet in 26. may 2018. photo by: Canoner former 'Hip' 1st class board-technician ret.avn.W.O. Kovács "Kokó" István nyá.rep.zls. volt Mi-8/17 fed.technikus at HuAF's LHSA & LHSN HBs source: facebook/Kovács István
above: New pic! Juci'bacsi's photo by Nikon 2013. HiRes! MH RMAR Isaszeg 2013.: Mi-24V Ai-9V cutaway demonstration APU engine. also FREE!
above: NEW pic! HiRes! scanned pic from Salamander Books - 1985 source: internet
above: NEW! NoHigher! Original Mi-24V weapons variants - fegyverzet függesztmény variációk
above: NEW! HiRes! Mi-24 under the podlaunchers PuG Antoinette Marie (without black frame) source: Hu. Google G+ collector PuG expert: Mr. Bányiczki Zoltán
above: New! HiRes! The "Raduga" - 'Rainbow' - 'Szivárvány' 9M17 "Falanga" ATGM 9Sz474 electro-IR optical guidance system. (in BHTA & Juci'bacsi's collection) AT-2 Swatter is the NATO reporting name for the 3M11 Fleyta (flute) MCLOS radio command Anti-tank missile of the Soviet Union.- Infravezérléses Rádió Parancsközlő Irányítású - Irányított Páncéltörő Rakéta (IPTR)
ПГ-1M артиллерийская Перископическая орудийный прицел PG-1M, PG-2s artillery panoramic telescope gunsight - lövegtávcső - Dove-prism principal: http://szextant.blogspot.hu/2014/07/122-1m-pg-1m-pg-2s-artillery-panoramic.html
above & below: HiRes! Pil & WSO Kabina correct drawing Cz. text modellár magazine
above: NEW! NoHigher! original side view drawing
above: NEW pic! HiRes! Polish language cross section of 9M17P 'Falanga' 2nd generation Russian Anti Armor/Tank (AT) Guided Missile (ATGM) with radiolocation beamer command. below: NEW! HiRes!
NEW! above: MedRes! below: left: NoHigher! Right: MedRes!
NEW! ATGM 9M114 "Sturm" PTURSz above & below: NoHigher!
below: NEW! "Longbow" Target Radar of AH-64D "Apache"
above: NEW! HiRes! Juci'bacsi's sketch of mind know-how about Mi-24 indirect fire control with rockets (UB-32 Sz-5M,-5KO 57 mm, B-8V 80 mm) 1980's. - Elképzelésem a megosztott irányzású NIR (Nem Irányított Rakéta) lövészetről. also Courtesy FREE!
Arty FireControl PUO-9 plotter instrument: http://szextant.blogspot.hu/2015/03/155-puo-9-tuzvezeto-muszer-ap-7.html
NEW! above: HiRes! Raduga & Right: УСПУ-24 пулемётом ЯкБ-12,7 (индекс УВ ВВС - 9-А-624, заводской индекс - ТКБ-063) (4500 выс/мин) USzPU-24 Yakushev-Borzov YakB - JakB 12,7 mm ne.gpu. "Gatling" system M.G. below: NoHigher! Vintage photo
above: NEW! MedRes! Bulgarian VVS - BuAF Mi-24 photo: Ognyan Stefanov source: facebook
above: NEW+! MedRes! HuAF Mi-24 LHSA photo: Carl Brent source: Bárdi László/Akik nélkül nem lehetett volna Magyar katonai repülés

above: NEW! MedRes! An ideal observer terrain and illumination with rainbow - Szivárvány - радуга source: Pinterest.com
63.) DSz-2M tüzérségi Sztereotávmérő – Soviet arty stereo rangefinder ДС-2М Артиллерийские стереодальномер: https://szextant.blogspot.com/2014/04/63-dsz-2m-tuzersegi-sztereotavmero.html
below: NEW+! MedRes! "Raduga"-"Rainbow" bikini photo & source: www.MET-ART.com


above: MedRes! Left: VR-24 reductor Right: Hughes/Boeing AH-64D "Longbow Apache"
above: NEW! HiRes! flexible 12.7 mm Yakushev-Borzov YakB-12,7 - JakB-12,7 mm "Gatling" system heavy M.G. gun on most variants. Maximum of 1,470 rounds of ammunition, rotaing four barrel - Ми-24Б (изд."241") получил новую пулемётную установку УСПУ-24 с пулемётом ЯкБ-12,7 (4500 выс/мин)
above: NEW! NoHigher! Hollywood star actress Megan Fox in street style outfits. - No relative of "Fox" Hind pilot. She would be available for MG shooting - Operator Training Tutor!
above: NEW! Juci'bacsi's 'Nikon' "Coolpix" photo. HiRes! Also courtesy FREE! MH.89th "Szolnok" Helicopter Regiment's closing training flight of year in 17.12.2012. at Szolnok. "Dry" training stand for operators/WSO-pilots - "Száraz" gyakorló sztend az operátoroknak.
above: NEW! HiRes! Mi-24 Pilot PuG Antoinette Marie (without black frame) source: Hu. Google G+ collector PuG expert: Mr. Bányiczki Zoltán
above: NEW! MedRes! Additioned dashboard of Mi-24D-UTI version by MH KRÜ (Központi Repülőgépjavító Üzem) - Kecskemét - LHKE. source: facebook: former cmdr. of pool ret. eng.avn.Col. Egri Károly mk.rep.ezds. volt KRÜ pk.
above: NEW! NoHigher! WSO - Operator view from forward cabin. Right: MH 87. BHHE
NEW+! above: MedRes! view from operator's cabin with KPSz-53AV gunsight & 'Garmin' GPS below: NoHigher! WSO cabin view
above: NEW+! MedRes! KPSz-53AV gunsight in Ilyushin IL-76 "Candid" cargo rear gunner station for zwilling/ double GSh-23 automatic cannon in ball turret. Photo: Igor www.livejournal.com
above: NEW! NoHigher! 2nd HuAF female Pilot: Lt. Horváth Éva hdgy. in HGU at LHSA
above: NEW! HiRes! In front of Éva in ZSh-5 helmet in gunner cabin source: facebook/Bárdi László - "Akik nélkül nem lehetett volna Magyar katonai repülés" group
KPS-53AV collimator sight & 9S475 missile sight test
above: NEW+! HiRes! Mi-24V KSzP-53AV Electro-Optical Gunsight Pod www.forum-eagle.ru
above & below: NEW+! photo: Juci'bá or Kokó: HiRes! 2013.09.07. Pápa AFB's Családi-Nap - Family Day: Operator/WSO's cabin. Kokó in black "T"-shirt with CANON EOS-7D
above: NEW! MedRes! "Ergonomical Ghost dream the workplace of Operator-WSO" - "Ergonómiai rémálom az Operátor munkahelye" photo by: Avionics mech. - Chief Editor of 'Aranysas - Golden Eagle' magazine Kővári "Stonefort" László source: facebook / http://jetplanes.blog.hu/
above: NEW! MedRes! Tutor of HuAF's Mentor Team in Afhganistan source: www.honvedelem.hu
NEW! Operator (WO) cabin KPSz gunsight above: NoHigher! NVG application below: HiRes! Berekfürdő - Kunmadaras VVSz Museum by Mr. Vándor Károly. photo: Laska photography
above: NEW! HiRes! HuAF MH.86th Mi-24V operator cabin with "Sturm" joystick.
above: NEW! MedRes! Ready for exhibition the Vándor's Mi-24 of Berekfürdő VVS Museum
NEW+! above: MedRes! Pilot PKV gunsight below: MedRes! Left: Collimation reflex visier Reticle - Szálkereszt of PKV with mils' - vonásban 1/6000 Right: PKV adjuster knob for negative elevation angle of shooting for NIR - Nem Irányított Rakéta - Rockets & fixed MG.

above: NEW! NoHigher! (Cropped from right!) #Sophie Anderton in see through mils scaled pattern reticle style lingerie bra - Szállemez mintázatú áttetsző #melltartóban. source: pincelebs.net
Sophie Louise Anderton, (born 14 May 1977 in Bristol, England) is an English model and reality television personality.
Her modelling career included a campaign for Gossard bras in 1996, and later included appearances for a range of other brands. Since 2000 she has also appeared in television programmes including I'm a Celebrity...Get Me Out of Here! and Celebrity Big Brother. ... https://en.wikipedia.org/wiki/Sophie_Anderton
above: NEW+! NoHigher! Mi-24 pilot PKV illuminating reticle - crosshair on target.
above: NEW+! MedRes! JakB-12,7 in fire below: NEW! NoHigher! photo by: HuAF GW.1st class Ret.avn.Lt.Col. Fapál "FűrészOszkár - SawOscar" Ferenc ny.rep.alez. source: facebook/Fapál Ferenc
above: NEW+! NoHigher! Hu.Várpalota fire range target area at "0"-Point Hajmáskér sector toward "Chum" main orienting point.
Hu. text article: 2020. február 28. írta: harcihelikopter.blog.hu
Forgószárnyak zajától hangos a Bakony februárban - Éleslövészet Mi-24V és Mi-24P részvétellel - 2020.02.24-02.28. - Whirling Noise From Bakony in February - Shooting with Mi-24V and Mi-24P


above four: NEW! HiRes! CANON EOS-7D photos by ret. avn.NCO Kovács "Kokó" István nyá.rep.zls. Mi-8/17 board Technician - Fedélzeti Technikus. HuDF MH.87.th "Bakony" Combat Helicopter regiment at Szentkirályszabadja LHSA HuAF Helicopter Base; Top Left: Mi-24P with fixed "Zwilling" GSh-30 Machine cannon. Top Right: St.Sgt. arm.mech. Viszt Sándor rep.mech.ftőrm. loading - a JakB-12,7 mm lőszekrényénél. Bottom Left: before Maintenance hangar with Sz-5MO row of rockets. Right: B-8V's Sz-8 80 mm rocket. source: facebook
above & below: NEW! NoHigher! USPU-24 mast of turret for JakB-12,7 mm
above: NEW! NoHigher! Ми-24 УСПУ-24 ЯкБ-12,7мм 9-А-624
и-24 было начато проектирование нового 12,7 мм скорострельного пулемета.
above: NEW! HiRes! Czech Aviation Letecké Museum, Kbely close to Praha
Letecké muzeum Kbely je součást Vojenského historického ústavu Praha. Muzeum bylo založeno v roce 1968 v areálu historického vojenského letiště Praha-Kbely, které bylo první leteckou základnou vybudovanou po vzniku Československa v roce 1918. Početností a kvalitou sbírek patří k největším leteckým muzeím v Evropě. V současnosti má Letecké muzeum Kbely 2 251 sbírkových předmětů, které se váží k letectví, kosmonautice, parašutismu a meteorologii. Muzeum má ve svých sbírkách 275 letadel, z nichž 85 je vystaveno ve čtyřech krytých halách, 25 v nekrytých expozičních prostorech, 155 je uloženo v depozitářích a 10 letuschopných je provozováno. Řada letounů patří ke světovým unikátům. Expozice muzea se vztahuje bezprostředně k historii československého a českého letectví, zvláště vojenského. Pro srovnání jsou zde vystaveny také vybrané typy světově významných letadel a kromě toho i množství leteckých motorů, součásti draků letounů, výzbroj, výstroj, stejnokroje, prapory, vyznamenání a další památky, které se vztahují k historii československého a českého letectví.
above & below Two: NEW! NoHigher! JakBYu-12,7
below Four: NEW! HiRes! Cyrillic text article source: Mr. Vándor Károly Hu. collector



above: NEW+! NoHigher! Hu. texted table; Accuracy of M.G.s: 12,7 mm & 7,62 mm depend Fire/Shoot-Range - Lőtávolság m. and MOA to shape of head - fej, breast/hip - mell/csípőalak-kra.
above: NEW+! NoHigher! GUV's barrels
above & below Two: NEW! NoHigher! GUV Pod
above: NEW! Zwilling Turrets multibarreled Sturmoviknhica in dashboard colour bikini
above: NEW! NoHigher! 12,7 mm armor piercing & flame ammos in belt - páncéltörő-gyujtó lőszerek hevederben
above: NEW! HiRes! Russian ammos: from left; 7,62 mm, 12,7 mm right side: 5,45 mm. out of serviced percussion cap/fuse - Lőszerek beütött/kicsettintett gyutaccsal below: MedRes!
above & below Five: NEW+! HiRes! Juci'bácsi's attraction: 0.5 cal 12,7 mm brass cartridge case will be military signature ball-pen - Rézhüvelyes katonai aláíró golyóstoll For Gift - Ajándéknak 2018.nov.26. photo by: Nikon Juci'bacsi
Power-Tools - Szerszámgépek: mini & micro Lathes: EMCO-Unimat, Vulcan, Erba, Hyundai, Warco. Measure: Slide-meter - Tolómérce (Nonius - Nóniusz, Vernier-scale), Micrometer, Measuring gauge - Mérőóra - Milling-machines - Marógépek & Calvin Klein C.K. 'Escape' parfume spray:
203.) Barkács/Ezermester Esztergák -Hobby- DIY Carpenter/Jack of all trades Lathes: EMCO-Unimat, Vulcan, Erba, Hyundai, Warco. Measure: Slide-meter, Micrometer, Measuring gauge: https://szextant.blogspot.com/2017/10/203-barkacsezermester-esztergak-hobby.html
above: NEW! HiRes! Comparison size between; 12,7 mm: DShKM, NSV, JakB
above & below: NEW! NoHigher! Russian 12,7 mm bullets and ammos
above: NEW+! Retro photosheet: NoHigher! Hu. HPA (W.P. era) MN.87. Hchel.e. MMSz - Mérnök Műszaki Szolgálat - Javító osztály - hangár: left: eng.1st Lt. Gréz "Rudy" Rudolf mk. fhdgy. weapon -fegyv.szakág vez., c.-köz.: ??, right: Sgt.-ret.NCO Mihalik Dezső őrm-zls. fegyv.mech.
above: NoHigher! Reduced Greyített Color photo: Benedek Levente source: facebook LHSN

above: NEW! Hu. text: HiRes! Nem egy kispályás magán-kollekció!: A 2016.06.16. Csütörtöki 9. LEP-CsRP Találkozó Veszprém MH. Sportpálya nagysikerű LHSN.HU Hagyományőrzős sátránál, a volt megszűnő BHHE elnök magángyűjtő Balogh Ákos "Hagyományőrző" kollekciójánál;
Mi-24D,V hchel. USzU-24 orr gömb-forgótornyába beépített élethű? JakB-12,7 mm - YakB-12,7 9-A-624 tipusú (TKB-063 gyártmány) USzPU-24 forgóállványba "Gatling"-"Vulcan" rendszerű gázelvételes 4 forgócsöves eredeti nehézgéppuskánál és a B.Á.A. "Lőszerszedegető-gyüjtögetős" világából megmaradt 12,7 mm-es hevederezett élethű? lőszerek társaságában: a volt fegyvermérnök Ádász "Dushaj" Zoltán nyá.mk.rep.alez., volt Mi-24 "Feketebárányos" 1.hel.ütő.szd. (Déli-vég - {2.hchel.szd.-é}) fegyvs.csop.vez, a Mi-24 katasztrófa túlélő, ZMKA, majd HDM. alov., CsRP tö.tiszt és nagypapa nosztalgiázik. A tavalyi rendezvényen nem volt kiállítva meg előtte sem. forrás: facebook - Ádász Zoltán megosztása No Comment!

above: NEW+! NoHigher! LEP-CsRP Találkozó Veszprém 2016.06.16. B.Á. kiállítása - bottom centre: Veszprémi 'Lackó Dezső' Múzeum B.Á. Mi-24D-je Május 21-én az I.VHN-on source:
https://www.facebook.com/lhsn.hu/photos/ms.c.eJwzNLIwNzI1NjU0tzQzMzE21jOEChiZmBkbG1hawgRMLCEqTOEqTCEqzADQow2u.bps.a.1287253474633104.1073742010.181494445209018/1287253517966433/?type=3&theater
https://www.facebook.com/lhsn.hu/photos/ms.c.eJwzNLIwNzI1NjU0tzQzMzE21jOEChiZmBkbG1hawgRMLCEqTOEqTCEqzADQow2u.bps.a.1287253474633104.1073742010.181494445209018/1287253517966433/?type=3&theater
Az itteni linkes LHSN felvételen kinagyítva látszik, hogy a hüvelyek gyutacsai beütöttek, így is nagy meló lehetett összerakni. Kérdés a lövedék része honnan van mert nincs rajtuk huzagnyom?
- Egyáltalán rákérdezett-tek e a Civil kiállítóra valaki-kik, Szervezők, -komoly jelen és volt felelős beosztású tisztek, főtisztek, tábornokok, repülő-mérnökök és társaik??? Azt, hogy a JakB-12,7 gpu. milyen?-? innen nem látni, de szép állapotban van. (Édesegykomám!? {HGy!!?}) - Egyáltalán a kiállítón kívűl, valaki is megtanulmányozta ezeket közelebbről, legalább is szak-értői szemmel?
- Hogy került ez ide az Önök kezelésében?
- Hogy került ez ide az Önök kezelésében?
- Honnan van ennyi-minden és mióta? Mire fel ez a nagy elismerésvágy?
- Kié vagy Mié mindez a csodaság? Magán, Egyesületi, hadsereg odaadta demóra?
- Hol és hogyan tárolják ezeket? A L.D. Múzeum páncéljában vagy otthon B.Ákoséknál a ház garázsában vagy a szobájában az ágy alatt.?- Milyen hivatalos papír igazolás van ezekről? Miért nincs kitéve igazoló tábla amit Hivatalos szerv állított ki? (Egy kis Szatócs-bótban mennyi papír és admin van nem beszélve amit kötelező kifüggeszteni a falra -hatósághegyek-!) - De egy ilyen zsír tömegmészáros fegyverhez nem kell semmi papír? Hát ez a pemeteség csimborasszója!
- Élesek e vagy csak amolyan műkedvelősek, vagy hatástalanítottak? A képen nagyon jó állapotúnak néz ki.
- Hol van róluk a megkülönböztető jelzés? Hogy "Oktató" vagy "Hatástalanított" -Sárga csík-
- Hová és mibe valóak, vagy volt? Látta ezt már hatósági fegyverszakértő?
- Hogy lehet ennyi processzora az LHSN-nek, hogy ezt is felteszi a facebookra? Ennyire nagy a dicsekvésvágy? Eddig ez még nem volt kirakva. Az előzőeken csak a műszerfalak, meg egyebek voltak. Teljesen más lenne a helyzet, ha ezt aktív katonák állítják ki és nem egy sima civilszemély, de legalább egy ilyen jogosítványokkal rendelkező civil egyesület, mint pl a BHHE. lehetett volna?.
- Mind ezek ellenére is teljesen odáig van magától és meg van győződve, hogy tökigaz jól csinálja.
- Még fényezi is magát a fészen, hogy Oklevelet és mennyi dicsit kapott még nyá. tisztektől is.
- Mind ezek ellenére is teljesen odáig van magától és meg van győződve, hogy tökigaz jól csinálja.
- Még fényezi is magát a fészen, hogy Oklevelet és mennyi dicsit kapott még nyá. tisztektől is.
A lényeg mert mintha ezt sem vennék ill értik, hogy; Mig a Katonák, Rendőrök, stb. kőkemény szabályozások és feltételek között tárolják és férnek hozzá a személyi lőfegyvereik használatához. Csak emlékezzünk vissza, hogy egy PA-63 szolgálati köpködő szolgálatbalépési felvételéhez mennyi mindent kitölteni és lakatolni, addig a civilek csak így szabadon és fülig érő mosollyal furikáznak és kiállítanak pl. egy ilyen 4000-5000 löv/perc tűzgyorsaságú 1500-2000 m célzott-hatásos lőtávolságú eredeti nehézgéppuskával és még ilyen olyan lőszer is van hozzá hevederben. Az átlag civileknek főleg de az átlag-katonák egy részének sincs becslőképessége ill. ítélete a távolságok életszerű meghatározásában, főleg lövészeti szempontból, mert a filmekből indulnak ki. Egy jobb lakatos-mester az USzU-24 állványhoz simán tud egy kiegészítő hordálványt vagy alvázat készíteni, aztán mehetnek is vele a vursliba.
NEW! above: MedRes! Fire-range estimation ex. - kis Lőtávbecslési gyakorlás 2000 és 1500 m-re Veszprémi viszonylatban below: HiRes! made by Juci'bacsi
above: NEW+! MedRes! Veszprém - "Damjanich János" ltp. - housing-state 'NAPLÓ'
above: NEW+! HiRes! Aerial view of Veszprém from South-East direction of LHSA over before ring, with reticle range 1500m to Hospital of Veszprém County.
De ami még keményebb probléma leásás:
- Hogy kerülhet ki a "Szabadpiacra" vagy magánember kezébe (aki katona sem volt) aki műkedvelő, egy a MH állományából még ki nem vont (rendszerben lévő) Mi-24D/V beépített fedélzeti tűzfegyvere? Annak ellenére, hogy 10 felett lett a Mi-24 inkurrencia értékesítve de maradt még szükség esetén bevethető harcihelikopter Szolnokon az MH 89. állományában. A típust nem vonták ki 2013-ban csak időlegesen leállították a légiüzemeltetését vagyis a gyakorlórepüléseket. Éles helyzetben a legsűrűbben cserére szoruló fődarab.
- Tudomásom de a gondolataim szerint az ilyen fegyver nem kerülhet be az eladási tételsorba, annál inkább is mivel a cső gyorsan elhasználódása (8.000-Lövés 2 perc egybesorozat után) miatt szükség van a tartalékra. ha nem onnan van akkor honnan? Csak úgy el lehet egy ilyet emelni egy ilyet Gyári. számostúl a MMSz és a FVTSz szigorú felügyelete mellett is? Nem derült ki a hiány?
- A 12,7 mm-es lőszerek; A kilőtt szétszóródott hüvelyekhez és hevedertagokhoz még hozzájuthat a lőtéren szedegetve bár Civil személy nem gombászhat és bóklászhat ott. De! a huzagnyom-mentes lövedékhez (lőszermaghoz) hogyan? Még huzagnyomosat találhat, ha nagyon leás és visszateheti a hüvelybe. De sima önálló lövedéktestet csak a gyártóüzemben lehet fellelni. ott meg nagyon vigyáznak. - Tehát marad a feltételezés, hogy éles szétszedett lőszerekből vannak a lövedékek és ezek lettek beilleszteve az elcsettintett gyutacsú hüvelyekbe. A kínálat szép: sima, gyujtó, pct.gyujtó lövedékek. És mi van a lövedékek fényjelzőelegyével. És hová lett a lőpor-granulátum? Hol és hogyan csettintettek?
- Akkor simán hozzá lehet férni 12,7-es ne.gpu-skákhoz; DSK, NSzVT, JakB? Tán még 14,5-es KPVT ne.gpu-hoz is? És még mihez? Itt a terrorista veszély kellős közepette, amikor is, ahol simán jönnek mennek, furikáznak, bemutatnak, kiállítanak eredeti "üzemképesnek" látszó lőfegyvereket, meg harcjárműveket?
- Mennyi a JakB ne.gpu. és a 12,7 mm lőszer beszerzési relációs piaci és HTK meg seftpiaci ára? NEW+! Mondihír; 1 millió Ft.-ért vette meg darabját. A másikat eladta-cserélte. Na ennyiért nem tudnának egy lehegesztett bebetonozott hatástalanított "vasrudat" eladni. Igen jónak kell lennie.
- Akárhonnan nézem is a fényképet de ez a Kiállító részéről egy kőkemény!! Btk.Lőfegyverrel és robbanóanyaggal való visszaélés bűntette, amt a Rendősrségnek kell kinyomozni az MH belső kivizsgálása mellett. Még a seregben sem lehet csak úgy vigéczkedni ezzel a fajtával.
Elnézést kérek! Én csak a felrakott képek alapján kaptam "egyből ugrik feltűnik" sugallatot, mert mint volt csapatkatona nem szoktam hozzá, hogy műkedvelő dicshajhász civilek kezében ill. birtokában lássak lőfegyvereket nem beszélve az ilyen ne.gpu. fajtákról. Ha így megy tovább akkor jövőre a BAE-SAAB JAS-39 "Gripen" 27 mm-es 'Mauser' BK-27 gépágyúját rakja ki lőszerestől?
És még nekem indítványozva felteszi a LEP-CsRP kiállításra kapott mb. LEHF oklevelét, hogy nehogy már igazságtalanul cseszetessem Őt, hiszen Ő teljesen jogosan és hivatalosan állított ki. Mint volt hivatásos csapattiszt irtózom és mérhetetlenül felidegesít az ilyen tények úgyhagyása, az ilyen kemény cuccosok messziről sem valók a civilek kezébe! ... még lehetne fokozni de elég!
above: NEW+! NoHigher! Germany made 'Mauser' BK-27 from JAS-39
above: NEW! HiRes! Hu. tx: 12,7 mm lőszerek tároló rakasza az 1470 db-os lőszerkészlethez - 1 javadalmazáshoz a helikopter jobb elejénél. HuAF Veszprém-Újmajor leszállóhely Töltési-Zóna.
above: NEW! MedRes! "Spitfire" gun photo: HuAF ret.avn.W.O. Kovács "Kokó" István ny.rep.zls. former Mi-8/17 board technic source: facebook/István Kovács

NEW! HiRes! A little Budepester exercise for 500, 1000, 1500, 2000 m shooting range estimation from the Epicentrum of City; parlament & House of Senators - Képviselőháztól mérve.
NEW+! HiRes! Aerial view from South-Est over Üllői-út - street/Alley "before "Klinikák" - "Clinics-Hospital" over Diószeghy Sámuel-utca-street (Estimate green park area) to 1500 m: Erkel-u.-str. between Szabadság-híd-Freedom-bridge & Petőfi-(No visible left hand only Pest bridgehead)-híd-bridge and Rákóczi-út-street/alley from Erzsébet-híd-Elizabeth-bridge to 2000 m in reticle.
NEW+! above: MedRes! Buda-Royalty castle from foot of Gellért-hill hegylábtól in 1956.
above: NEW+++! NoHigher! The inverse view with retro Zsiguli-1200
NEW+! HiRes! Aerial view from South-Est over Üllői-út - street/Alley "before "Klinikák" - "Clinics-Hospital" over Diószeghy Sámuel-utca-street (Estimate green park area) to 1500 m: Erkel-u.-str. between Szabadság-híd-Freedom-bridge & Petőfi-(No visible left hand only Pest bridgehead)-híd-bridge and Rákóczi-út-street/alley from Erzsébet-híd-Elizabeth-bridge to 2000 m in reticle.
NEW+! above: MedRes! Buda-Royalty castle from foot of Gellért-hill hegylábtól in 1956.
above: NEW+++! NoHigher! The inverse view with retro Zsiguli-1200
above: NoHigher! From over tunnel at Lánchíd - Chain-bridge Budaer bridgehead square Adam Clark - Klark Ádám-tér to tower of 'Szt. István-Stephen Bazilika' Chatedral Range=1250 m.
above: NEW+! MedRes! Leslie Angyal László "A Megváltó felszáll" Budapest 2011. június 'Gabo' Könyvkiadó - Budapest 2011.
Leslie Angyal László: LIVE TRANSMISSION (munkacím) „A megváltó felszáll.”
Mi-24-es JakB-12,7 szemezgetések
A film cselekménye a Dunakanyarban kezdődik. Májusi nap délelőtti órákban, a ragyogó a napsütés, a kumulusz-felhők már sorra jelentkeznek a hegyek felett. Légifelvételen, először magasabbról, majd később közelebbről fényképezve a kanyargó folyón feltűnik egy dél felé úszó luxushajó.
A kép beúszik a hajó fedélzetére, s ott a büféasztalok melletti beszélgetésekből kiderül, hogy a parlamenti képviselők kihelyezett ülése zajlik.
A hegyek mögül kontúrozza a táj felszínét, négy Mi-24D ”Hind” harcihelikopter repül elő nagy rotorcsattogással, Az első ülésből, a helikoptervezető-lövész szemszögéből nagyon látványos az alattuk lévő, hegyes-dombos erdő borította táj rohanása. A gépek színe matt fekete, felségjel helyett egy, a törzs lemezborítását áttörő kölyökoroszlán van felfestve. Kis szürke oldalszámaik is vannak: 03, 05, 07és 10. A pilóták fekete oroszlánkölykös sisakban, fekete overallban repülnek. Feltűnik előttük a folyó, s a folyón úszó szép nagy luxushajó. Géppáronként a hajóval egyvonalban a folyó két partjára ereszkednek, orrukkal, s a négycsövű JakB-12,7 „Gatling” rendszerű 12,7 mm-es 9A624 típusú géppuskákkal a hajót megcélozva, oldalazva repülnek.
A hajó utasai, miniszterek, képviselők érdeklődéssel, de inkább egy kis bizonytalansággal tekingetnek, a két partra. Lázasan vitatják a helyzetet, vannak, akik csak tisztelgő felvonulásnak gondolják az akciót.
A hangszórókból csordogáló halk szalonzenét hirtelen egy rekedtes, de határozott hang vágja el:- Hölgyeim és uraim, ugye látják a négy harci helikoptert, amelyek egy perc alatt elsüllyesztik az önök luxusbárkáját. A 34 biztonsági ember, beleértve a pincérnek álcázottakat is, három percet kap, hogy elhagyja a fedélzetet. A partra úszhatnak. 15 másodpercenként géppuskával hajó elé lövünk. A kapitány, 4 fős személyzetével további utasításig változatlan sebességgel folytatja az utat. Hölgyeim és uraim! 3, 2, 1 és… action! Ja igen, képviselő, politikus hölgyek, urak, önök a túszaink!- Hol van Tamási a honvédelmi miniszter? Milyen helikopterek ezek? Mit akarnak? –kérdezi az egyik képviselő.- Tamási Kenyában van, elvitte az új kormánygépet, biztosan vadászik… -vélekedik egy másik.
- Felőlem, de ezek ott bármit is akarhatnak, nem viccelnek…
Ebben a pillanatban a 3-as oldalszámú Hind gatling rendszerű 12,7 mm-es négycsövű, 9A624 típusú géppuskája felugat, s lövedékei pontosan a hajó orra előtt csapódnak a vízbe.
-Eltelt az első 15 másodperc- jegyzi meg a kapitány. A biztonsági főnök a gépházba rendeli három csoportban az embereit. Rövid megbeszélések, majd visszatérnek előző helyükre. Közben az 1 oldalszámú helikopter is kilőtt egy sorozatot.
Alex utasítására a harci helikopterek lövészei a hajó orra elé adnak le rövid figyelmeztető sorozatokat. Igen közeli képeken, szinte a szerkezetbe hatolva látható a jól bevált mechanikus célzókészülék beállítása, majd külső felvételen a géppuskák tűzokádása.
A 45. másodperc figyelmeztető lövései a hajón növelik a pánikhangulatot.
- Ugorjanak már a biztonságiak! Úgysem tudnak megvédeni minket!
A közvetítő helikopter bal ülésében Alex Stern kézbe vette a mikrofont, amelynek végén a luxushajó hangszórói voltak, és folytatta:
- A hajó e-mail címére azonnal érkezik egy levél. A leirt törvényerejű rendeletet, önök többséggel, kétharmados többséggel aláírják és kihirdetik. A honvédelmi, a belügy és a külügy vezetése az államelnök kezébe megy át. Gondolom a helyzet elég rendkívülinek számit. Mindezt a hajó fedélzetéről. Hölgyeim és uraim! Erre adok önöknek 7 percet. Percenként lövöldözünk. A harci helikopterekben, még másfél órára van üzemanyag, majd egyenként tankolnak.
A hajó fedélzetén a miniszterek, honatyák, honanyák, némelyik italos pohárral a kezében, izgatottan tárgyalják az e-mail üzenetet:
-Még, hogy teljes hatalmat annak a vén hülyének. Csak írja könyveit, másra úgysem jó - vélekednek az államelnökről.
A géppuskák ismét megszólalnak. Nehéz megszokni a háborút csak filmen látott, hallott embereknek.
A fegyverkereskedő bezárja a kabintetőt, háton folytatja útját, s látja, hogy a szép új fehér Dunaújvárosi hídnál nagy a nyüzsgés, fekete egyenruhás kommandósok vállról indítható rakétákkal, gépfegyverekkel tüzelőállást foglalnak.
Gorkij repül tovább, talpra forgatja, gondol egyet, s egy kis ideiglenes leszállóhelyen leszáll. A gépből kiszáll, fehér festékspray-el egy rádiófrekvenciát fest a gép oldalára: 128.2, egy nagyon távoli repülőtér használja.
A konvoj úszik, repül tovább, a két parton egy nagyváros, Budapest, a hajó hidak alatt halad, a harci helikopterek kerülgetik az akadályokat, de tartják helyzetüket.
- Köszönöm! –int át Stern - Százmilliók látják a tv közvetítést.
Gorkijnak előjön óriási egója, hátára teszi és lehúzza a gépet, leborít, majd a Duna felett néhány méterrel vízszintesbe veszi. Látja, hogy közeledik a Lánchíd, átrepül alatta, hiszen ezt neki hivatalosan sohasem engedélyezték. Visszaemelkedik a helikopter mögé, s hosszan körbe palástorsózza. A kamera rajta van, a világ a televíziós képernyőkön figyeli mutatványát. A riporternő már tudja, hogy kiről van szó, mindenki tudja, hogy egy látó szemmel történik a produkció.
A bal parti helikopterpár rotorjai, erősebben felcsattognak, az MD 600-as mellé balra behelyezkednek laza kötelékbe. A TV nézők százmillió élő adásban látják, a hogy két harci helikopter bal, majd a jobb szárnycsonkról elindul egy-egy „Falanga” irányított páncéltörő rakéta.
A rakéták útját plasztikusan tárul a nézők elé. Váltakozva lehet a TV-én és a valóságban látni. A rakéták a fehér dunaújvárosi híd előtt robbannak, a kommandósok visszahúzódnak.
Az elnöki beszéd végén Stern elküldi a harci helikoptereket.
- Köszönöm az együttműködést, pénz a számlátokon van. – A helikopterek eltűnnek a hegyek között.
Sternt a biztonsági naszád a helikopter alá viszi, felmászik a kötélhágcsón.
- Megvolt a közvetítési idő? – kérdezi Stern a gúnyosan a riporternőt. – Ugye slusszpoén sem maradt el?- A Cindy csak elégedetten mosolyog. A közvetítési idő éppen túl lépte a két órát. Stern mobilon hívja a még levegőben lévő harci helikopterek parancsnokát, s kéri, hogy mentsék ki őket. Pozitív a válasz.
Stern mobilon hívja a még levegőben lévő harci helikopterek parancsnokát:
- Kihoznátok a Dunaújvárosi -hid mellől, kényszerleszálltunk, látni fogtok.
- ’Roger’, géppárban jövünk, rögtön fedezünk és kihozunk benneteket. Természetesen grátisz! A hajó közben kikötéshez készülődik, a képviselők a kijárat fel tolonganak.
12 perc múlva a Hind géppár feltűnik, a biztonság kedvéért végiggéppuskázzák a hidat, a kommandósok fedezéket keresnek, többen megsebesülnek. A vezér leszáll a kényszerleszállt MD-600-as mellé, a csapat bemászik a hátsó deszantos kabinba.. A másik Hind fedezi őket. Felszállnak, s elrepúlnek a főváros Ény-i részén lévő sportrepülőtérre, oda ahonnan az akcióra 2 óra 20 perccel ezelőtt eldúltak. Angyal László
Hu. text: Már ezekből is jól érzékelhető, hogy egy 12,7 mm-es nehézgéppuska nem lebecsülhető dolog. Nekem közel sem természetes, hogy hobbysta civilek villognak ilyen eredetinek tűnő vagy az is, fegyverekkel. Mellékinfó: A Budap-i ORFK rendőr-nyomozó őrgy.-alez. Faterom pc.dobozos szolgálati stukkerét otthon Én tartottam karban, szereltem apai felügyelet mellett 12 éves koromtól.
Meglátások befejezve 90%; Blogger: Juhász "Juci'bá" János nyá. tüz.-rep.alez. MN.36. Kkhalas. pct.tü.üpk., LHSA szhelv., MH.87. HDM-Kik.ov.-Töf.h.
NEW! MedRes! Hajmáskér "0"-Ponti szektor Lőtér - "Zero"-Point Fire Range over Veszprém
above: MedRes! Scale 1:25.000 GAK projective Map vith parachute memorial of VREVE - Assoc of Veterany Aviators & paraschutist in Veszprém . Ideal rangefinder point toward "Újmajor" military camp. One side of square = 1 km.
above: NEW! HiRes! Veszprém M=1:25000 "Gauss-Krüger" vetület: 500-2000 m. Sugarak a Török Ignácz u-tól és a Szentkirályszabadjai LHSA reptértől mérve.
above: NEW+++! MedRes! Mi-24V over Várpalota "0"-Ponti sector in firing www.topidoc.hu
above: NEW+++! MedRes! Mi-24V over Várpalota "0"-Ponti sector in firing www.topidoc.hu
above: NEW! Juci'bacsi's 'Olympus' photo 2012.: HiRes! Hu. text: MH.89. Hel.e. I.K.J.H. HB LHSN. Szolnok Mi-24-es indításban, pk.-helvez.: Dr. (Ph.D.) Koller "Joel" József ezds. Ak.I.o. hchelvez. okt. Mi-24V epkh. (Most HM-HVK J-3 Légierő fnemi ov.) 'Gyémánt-koszorús' vitorlázórepülő szakosztályvez #Őcsény repklub, és #Motorfalke pilot. Látható a heveder szekrény feltöltési ábrája. also Courtesy FREE!
above: NEW! HiRes! Plan of - terve Hu. ineffective/disarmed - hatástalanírtott Mi-24 sculpture - Memorial - Emlékmű at Szolnok 'Auchan' Hypermarket ring traffic - körforgalomban 2018. facebook
Hu. text article: ... kedvet kap a harci pozícióban álló helikopterbe pattanni, és megsorozni
némi géppuskatűzzel az Auchan parkolójában akciós ásványvizet pakoló
vásárlókat. ...
above: NEW! MedRes! Fresh! Smart-Phone photo by: Mrs. Bártfai Mária -Veszprém- 2018.04.14. in centre of traffic circuit of M4 highway crossing in Szolnok city.
above: NEW! HiRes! The 'Hind-D' in centre of Traffic circuit at TESCO in Szolnok 26. may 2018. photo by: Canoner former 'Hip' board-technician ret.avn.W.O. Kovács "Kokó" István nyá.rep.zls. volt Mi-8/17 fed.technikus at HuAF's LHSA & LHSN HBs source: facebook/Kovács István
above: NEW! MedRes! Mi-24P 30 mm twin cannon - Ми-24П (изделие 243) Ми-24 с пушкой ГШ-30К, размещённой на правом борту в неподвижной установке НПУ-30, боекомплект — 250 снарядов. Пулемёт демонтирован. Выпускался в 1981—1989 гг.
https://ru.wikipedia.org/wiki/%D0%9C%D0%B8-24
https://ru.wikipedia.org/wiki/%D0%9C%D0%B8-24
above: NEW! NoHigher! Vyazma - Vjazma photo by: Shok-livejournal.com
above: NEW! HiRes! 9A GS–23L
En. text: ... flexible twin-barrel GSh-23L autocannon on the Mi-24VP and Mi-24VM. 450 rounds of ammunition. ...
Hu. text: ... Főbb típusváltozatai között megemlítendő a Mi–24D, a Sturm rakéták indítására alkalmas Mi–24V és a Mi–24P, amelynél a négycsövű géppuskát felváltotta egy, a törzselsőrész jobb oldalára szerelt GS–30K vagy másképp GS–30–2 típusjelű 30 mm-es ikercsövű, Gast-elven működő gépágyú.
Ismert még a Mi–24VP, amely a Mi–24V és P típusok ötvözete, alapvetően a V sárkánya, de az orrban egy forgatható GS–23L típusú gépágyú található. A Mi–35 és Mi–35M verziók jellemzője a csökkentett méretű fesztáv, a modernizált elektronika és a futómű behúzó mechanikáinak elhagyása. Az 1990-es évek közepén a nyugati légibemutatókon megjelent Mi–35M a Mi–24VP alapján készült, GS–23L gépágyúval, de nem behúzható futóművel, a Mi–28 X alakú faroklégcsavarjával, és főrotorjával. További jellemzője volt a részben francia eredetű fedélzeti elektronika. Sorozatgyártásba nem került, a koncepció elemeit az orosz légierő számára készült Mi–24PN, vagy újabban szintén Mi–35P néven ismert és a Mi–24P-k modernizálásából született gépeknél láthatjuk viszont. Ez utóbbiból már legalább egy század repül, de a költségesebb különbségek (Mi–28-as hajtásrendszere) nélkül, a kisebb szárnycsonkokkal, a nem behúzható futóművekkel és új, éjszakai bevetésre is alkalmassá tevő célzókészülékkel. ...
above: NEW! HiRes! MH.87. BHHE weapon mechanic St.Sgt. Bozó József ftőrm. loads the 30 mm ammos belt to HuAF's Mi-24P source: facebook/BHHE csoport
above: NEW! NoHigher! Headmirror simulator source photo: Tarasov
NEW! above: NoHigher! Mil Mi-28N "Havoc" Larger Pics on the Hu. Mr. Kővári "Stonefort" László's Blog-site below: MedRes! Parts and full
Hu. text article: Mi-28, a "pusztító"
2018. február 16. - stonefort2
Az orosz hadseregben rendszeresített Mi-28-as harci helikopterekkel már több konfliktusban is szereztek tényleges tapasztalatot, aminek elemzése, hasznosítása folyamatban van. Ahogy minden más típus esetében, úgy az orosz fegyvereknél is igaz az a régi szlogen, hogy a „puding próbája az evés”, magyarán, bármilyen élethű szimuláció és gyakorlat sem tudja ténylegesen helyettesíteni a tényleges harci tapasztalatot. ...

above: NEW! NoHigher! Mi-35M 30 mm macine cannon turret
above: NEW! NoHigher! Brazilian AF upgraded Mi-24V as Mi-35M source: facebook.hu
En. text: The Brazilian Air Force (Portuguese: Força Aérea Brasileira, FAB) is the air branch of the Brazilian Armed Forces and one of the three national uniformed services. The FAB was formed when the Army and Navy air branch were merged into a single military force initially called "National Air Forces" in 1941. Both air branches transferred their equipment, installations and personnel to the new force.
According to the Flight International (Flightglobal.com) and the International Institute for Strategic Studies, the Brazilian Air Force has an active strength of 77,454 military personnel and operates around 627 aircraft. The Brazilian Air Force is the largest air force in the Southern hemisphere and the second largest in the Americas after the United States Air Force. ... https://en.wikipedia.org/wiki/Brazilian_Air_Force
Pt. text: Força Aérea Brasileira (FAB) é o ramo aéreo das Forças Armadas do Brasil e um dos três serviços uniformizados nacionais. A FAB foi formada quando os ramos aéreos do Exército e da Marinha foram fundidos em uma força militar única. Ambos os ramos de ar transferiram seus equipamentos, instalações e pessoal para a nova força armada.
Formalmente, o Ministério da Aeronáutica foi fundado em 20 de janeiro de 1941 e o seu ramo militar foi chamado "Forças Aéreas Nacionais", alterado para "Força Aérea Brasileira" (FAB) em 22 de maio daquele ano. Os ramos aéreos do Exército ("Aviação Militar") e da Marinha ("Aviação Naval") foram extintos e todo o pessoal, aeronaves, instalações e outros equipamentos relacionados foram transferidos para a FAB.
A Força Aérea Brasileira obteve seu batismo de fogo durante a Segunda Guerra Mundial participando da guerra antissubmarino no Atlântico Sul e, na Europa, como integrante da Força Expedicionária Brasileira que lutou ao lado dos Aliados na frente italiana.
De acordo com o Flight International e do Instituto Internacional de Estudos Estratégicos, a FAB tem uma força ativa de 77.454 militares e opera em torno de 627 aeronaves, sendo a maior força aérea do hemisfério sul e a segunda na América, após a Força Aérea dos Estados Unidos. ...
above & below: NEW! NoHigher! Mi-24V/Mi-35M pilot: Victoria Bernal Cavalcanti, a Brazil Air Force's (Brasiliera Esercito - Fuerza Area) first female pilot Légierő első női pilótája, AH-2 (Mi-35M) típusra
above: NEW! NoHigher! Photo: Vándor Károly team at Museal Mi-24D at Berekfürdő - Hungary. Hu. Pin Up Girl with special KGT 7,62 mm machine gun. "Laczka-photography"
facebook MH BHHE csörte: http://szextant.blogspot.hu/2016/05/183-egy-majusi-facebookos-csorte.html
above: NEW! NoHigher! Russian Rh+ Hindgirl, Rhesus source: Pinterest

above: New! The Aussie style door-gun mount Right: NEW! MedRes! Door gun 12,7 mm
above: NEW+! NoHigher! Mi-24V model with JakB-12,7 & GUV, UB-32, "Sturm"
above: NEW+! NoHigher! Soviet VVS Mil Mi-24V crash
above: NEW! MedRes! Juci'bacsi's scanned collection; from 'Magyar Honvéd' later 1979. "Two very dangerous ballturrets: T-55 & Mi-24D". "Pajzs-79" - "Shield-79" WP exercise at Hungary.
above: NEW! MedRes! photo: Leslie Angyal László chief editor of former AVIATOR International Magazine 1990's about MH.87th pair of Mi-24Ds after over Szentkirályszabadja HB LHSA Rwy 158 treshold, before Balatonalmádi. Overthere "Fűzfői" bay - öböl
above: NEW! Hu & Little bit En. text: Juci'bácsi's new artwork: Courtesy FREE! HiRes! Historical Military Mapping/chart - Mint hiánypótló mű.
Map of the peace-time Organisation of the Hu.PA (MN) & Border Guard (Hőr.)-littlebit -basicaly Army/Lan Forces- early 1980's in Warsaw Pact's era (WP). Where served the FUGs. - A Magyar Néphadsereg (MN) és a Határőrség (Hőr.)-kevésbé béke szervezete -alapvetően a Szárazföldi- a Varsói Szerződés (VSz) idejében az 1980-as évek elején. Ahol a D-442 FUG-ok szolgáltak. Remark: without HAD (Homeland Air Defence Missile battalions and storages due little space. Marked with authenic MN-WP symbols. Megjegyzés: A Honi Légvédelmi rakétaosztályok és Raktárbázisok nélkül a kevés hely miatt. Jelölések az akkori MN törzsszolgálati utasítás szerint.
The FUGs served essential at Mechanized Infantry/Armor division's recconnaissance battallions/companies. But served field and antitank artillery regiments as battery's FAVP (Forward Artillery Viewing Point) with EM-61 stereo rangefinder. However at Aviation 87th Combat Helicopter regiment -Szentkirályszabadja LHSA- as FAC (Forward Air Controller) vehicle with BTR-60 FACP (~ Party) vehicle.
A FUG harcjárművek alapvetően a Gl./Hk.hadosztály és ezred csapatfelderítő alegységeknél (zászlóaljak/századok) szolgáltak. De megtalálhatók voltak a tábori és páncéltörő tüzér egységeknél mint üteg Tü.FIP (Figyelőpont) EM-61 távmérővel. Hovatovább, valamint még a CsRP (Csapatrepülő Parancsnokság -Börgönd MN8300) alárendeltségében lévő MN 6690 87. Harcihelikopter ezrednél LHSA mint ERIP (Előretölt Repülésirányító jármű) a HICs (Harcirányító Csoport) BTR-60PU-val.
above: NEW! MedRes! HuAF MH87th BHHE's greeting card.
Photo: Barka Tamás ftőrm. arhív: Mi-24D HDF 87th Bakony Combat Helicopter Regiment at Veszprém - Szentkiralyszabadja - LHSA AFB - MH 87. BHHE (Magyar Honvédség 87. Bakony Harcihelikopter Ezred) Szentkirályszabadja repülőtér LHSA. In forward cabin seating Test pilot-operator ret.avn.capt. Balog "Miha" Miklós nyá.rep.szds. below: new! HuAF's Mi-24V with female WOP-operator; First Class avn. 1st.Lt. Dubniczky Éva fhdgy. I.o.
above: NoHigher! Nose "Gatling"-system rotating heavy Machine Gun: JakB-12,7 mm (9A624) mounted mowing ballturret with 1stLt. Dubniczky Éva fhdgy. operator-WO-Pilot. first HuAF's female pilot.
above: NEW Pics! HiRes! Juci'bacsi's repro dia-slides collection copy: Polish "Hind"-crew (helmet?)

above: NEW! Mi-24 cabin armorglas windshield style scooters - törpeautó-robogók: Left: MedRes! 1953 Gaitan Auto-Tri 125cc, Spain Right: MedRes! Peel-Tridents - Törpeautók - Robogók


above: NEW four pics! MedRes! HuAF Mil Mi-24P "Hind-E" over Budapest downtown in action-thriller movie "Die Hard-IV" scene with Bruce Willys hollywood star.
Vízi és Légiparádé Budapest 2012. augusztus 20. TV-1 közvetítés-induló.
(Juci'bácsi mint Buda Márton MTV-1 riporter kommentelő segéd-narrátora, kezdésként a Katonai részt Domján Gyula szds. Mi-24. hchelv.löv. kommentálja a Gripeneket, Mi-17, 24 köteléket és az An-26-ost)
above: NEW! NoHigher! BBC - VVS Mil Mi-35M source: facebook
The Russian Air Force (Russian: Военно-воздушные cилы России, tr. Voyenno-Vozdushnye Sily Rossii, literally "military air forces of Russia") is a branch of the Russian Aerospace Forces, the latter being formed on 1 August 2015 with the merger of the Russian Air Force and the Russian Aerospace Defence Forces.[6] The modern Russian Air Force was originally established on 7 May 1992 following Boris Yeltsin's creation of the Ministry of Defence; however the Russian Federation's air force can trace its lineage and traditions back to the Imperial Russian Air Service (1912–1917) and the Soviet Air Forces (1918–1991).
The Russian Navy has its own independent air arm, the Russian Naval Aviation, which is the former Soviet Aviatsiya Voyenno-morskogo Flota (lit. "Aviation of the military-sea fleet"), or AV-MF. ... https://en.wikipedia.org/wiki/Russian_Air_Force
The Hasegawa Corporation (株式会社ハセガワ Kabushiki Gaisha Hasegawa?) is a company that manufactures plastic model kits of a variety of vehicles, including model aircraft, model cars, model ships, model armor, model space craft and science fiction kits. Based in Shizuoka, Japan, Hasegawa competes against its neighbor, Tamiya, though it does not have as large a line of products.
この項目では、静岡県のプラモデルや鉄道模型の製造販売会社について説明しています。
「ハセガワ」「Hasegawa」ブランドの脚立を製造販売している企業については「長谷川工業」をご覧ください。
愛知県の建築模型製作会社については「長谷川模型」をご覧ください。
仏壇・仏具販売会社については「はせがわ」をご覧ください。
その他の用例については「長谷川」をご覧ください。https://ja.wikipedia.org/wiki/
above: NoHigher! Russian - Ukraine word famous High detailed metal Mi-24V model-maquette
above: NEW! MedRes! Ukrainan Hobby Hi-Tech detail metal Mi-24V Model http://precisemodeling.com/collection/mil-24-hind


NEW! above: MedRes! too saturated original soviet camo paint below: NoHigher! Cyclis stick. Museal restorated MI-24D by St.Sgt. mech. Barka Tamás rep.mech.ftőrm. at LHPA Pápa AFB 2011. source: facebook-barka thomas
above: NEW! Juci'bacsi's 'Nikon' "Coolpix" photo. HiRes! Also courtesy FREE! MH.89th "Szolnok" Helicopter Regiment's closing training flight of year in 17.12.2012. at Szolnok "Lt. Ittebei Kiss József hadnagy" HuAFHB - LHSN. We were guest by Veszpremer Association of Veterany Aviators and Parashutists VREVE (Veterán Repülők és Ejtőernyősök Veszprémi Egyesülete még, president & Ret.avn.Lt.Col. Gödri "Dedi'sas" Dezső nyá.rep.alez. former 2nd CH.btn.cmdr., volt 2. hchel.zpk. elnöksége alatt I.M.). In HuAF Mi-24V viewing flight over snowing landscape by Rgt.dept.cmdr. avn. Col. Rolkó "Fox-Róka" Zoltán rep.alez. epk.h.-val a téli táj felett.
above: NEW! NoHigher! Mi-24V upper commander cockpit with wide angle optic digi photos source: www.Pinterest.com

above: HiRes! Upper cabin door of the CzAF's "Hind"
http://photo.nagykrisztian.com/events/natodays2014cz/index.php
http://photo.nagykrisztian.com/events/natodays2014cz/index.php
above: NEW! HiRes! Mi-24D Pilot instrument panel original drawing.
above: Pilot upper cockpit of HuAF's "Hind" below: NEW! MedRes! NVG compatible

above: NEW! MedRes! Juci'bácsi during design airbrush painting work of cockpit in ATE - Poprad
above: NEW! HiRes! Juci'bacsi's 'Olympus' photo 2010.08.23.: augusztusában egy lelkes MATASz (Magyar Tartalékosok Szövetsége) / (Hungarian Reservisten Organisation) országos csapattal, meglátogattuk a megfakult "Csőrike-I"-et a szolnoki katonai repülőmúzeumban.
above: NEW! HiRes! The 'Hind-D' in centre of Szolnok in 'Reptár'-'Aviastore' 26. may 2018. photo by: Canoner former 'Hip' board-technician ret.avn.W.O. Kovács "Kokó" István nyá.rep.zls. volt Mi-8/17 fed.technikus at HuAF's LHSA & LHSN HBs source: facebook/Kovács István

above two: Juci'bacsi's coll.: USAF delegation at LHSA maintenance hangar. Middle profile; cmdr. 1st. golden wreath (gn. wing) heli pilot avn.Col. SIMON Jójárt "Szájmun" Sándor rep. ezds. ezred pk. AK I.o., back; with CB Boss of Air Gunnery Service 1st. golden wreath (gn. wing) heli pilot avn.Lt.Col. Treutz József rep. alez. Lélöv. szf. AK I.o., backround; front without hat; boss of Armament eng. Maj. Gréz "Rudy" Rudolf mk. őrgy. MMSz fegyvermérnök
Photo: SSgt. Barka Tamás ftőrm. arhív: Juci'bácsi had been explaining to USAF pilot
Mi-24D,V "Csőrike-I.,II.", "Golden-Hind": http://szextant.blogspot.hu/2014/06/97-mi-24d-csorike-mi-24v-golden-hind.html
above: NEW! MedRes! MH.87th "Bakony"s original coat of arms. Artwork of avn. Capt. Balogh "Miha" Miklós szds. Mi-24 testpilot and WO-3 cargo hel. sqn. admin Mrs. Nagy Lászlóné Gizella "Gizi-mama" ftőrm. szhel. szd. nyilvántartó.
FIN!
















































































































































































































































































































































































































































.jpg)











Nincsenek megjegyzések:
Megjegyzés küldése